СИСТЕМА ПОДУШЕК БЕЗОПАСНОСТИ, диагностический код неисправности DTC: B1653

Код DTC Наименование DTC
B1653 Датчик положения сиденья со стороны водителя

ОПИСАНИЕ

Цепь датчика положения сиденья включает центральный блок управления системы SRS и датчик положения сиденья (регулятор левого переднего сиденья в сборе).

Код DTC B1653 регистрируется при обнаружении неисправности цепи датчика положения сиденья.

№ DTC

Неисправность

Условие обнаружения DTC

Неисправный участок

Индикация предупреждения

Режим диагностики / режим проверки

B1653

Датчик положения сиденья со стороны водителя

  • Центральный блок управления системы SRS обнаруживает короткое замыкание, короткое замыкание на массу или на B+ или обрыв в цепи датчика положения сиденья.

  • Неисправность датчика положения сиденья

  • Неисправность блока управления системы SRS

  • Напольный провод

  • Жгут электропроводки левого переднего сиденья № 3

  • Замок ремня безопасности левого переднего сиденья в сборе

  • Датчик положения сиденья (регулятор левого переднего сиденья в сборе)*

  • Центральный блок управления системы SRS

Загорается

Не относится к режиму диагностики/проверки

  • *: Датчик положения сиденья встроен в регулятор левого переднего сиденья в сборе.

СХЕМА ЭЛЕКТРИЧЕСКИХ СОЕДИНЕНИЙ

B474704E03

ПРЕДОСТЕРЕЖЕНИЕ / ПРИМЕЧАНИЕ / УКАЗАНИЕ

Note:

После выключения двигателя следует подождать некоторое время, прежде чем отсоединять провод от отрицательного (–) вывода аккумуляторной батареи. Поэтому, прежде чем приступать к этой работе, обязательно ознакомьтесь с примечанием относительно отсоединения провода от отрицательного (-) вывода аккумуляторной батареи.

Нажмите здесьClick hereClick here

ПОРЯДОК ВЫПОЛНЕНИЯ

  1. ПРОВЕРЬТЕ ПОДСОЕДИНЕНИЕ РАЗЪЕМОВ

    1. Выключите зажигание.

    2. Отсоедините провод от отрицательного (-) вывода аккумуляторной батареи.

      CAUTION:

      После отсоединения провода от отрицательного (-) вывода аккумуляторной батареи подождите не менее 90 с, чтобы предотвратить срабатывание системы SRS.

    3. Проверьте подключение разъемов к блоку управления системы SRS, замку ремня безопасности левого переднего сиденья и датчику положения сиденья.

      СООТВ

      Разъемы подсоединены должным образом.

    Результат

    Перейти к

    OK

    НЕ СООТВ.

    НЕ СООТВ.

    ПОДСОЕДИНИТЕ РАЗЪЕМЫ ДОЛЖНЫМ ОБРАЗОМ

    СООТВ
  2. ПРОВЕРЬТЕ РАЗЪЕМЫ

    1. Отсоедините разъемы от блока управления системы SRS, замка ремня безопасности левого переднего сиденья и датчика положения сиденья.

    2. Убедитесь, что контакты разъемов не деформированы и не повреждены.

      OK

      Контакты не деформированы и не повреждены.

    Результат

    Перейти к

    OK

    НЕ СООТВ.

    НЕ СООТВ.

    ЗАМЕНИТЕ НАПОЛЬНЫЙ ПРОВОД, ЖГУТ ПРОВОДОВ ЛЕВОГО ПЕРЕДНЕГО СИДЕНЬЯ № 3 ИЛИ ЗАМОК РЕМНЯ БЕЗОПАСНОСТИ ЛЕВОГО ПЕРЕДНЕГО СИДЕНЬЯ В СБОРЕ

    OK
  3. ПРОВЕРЬТЕ ЖГУТ ПРОВОДОВ

    1. Подсоедините напольный провод и жгут проводов левого переднего сиденья № 3 к замку ремня безопасности левого переднего сиденья.

      B473435C01

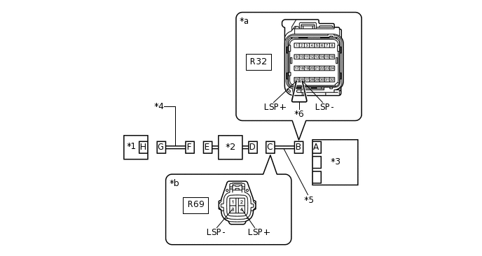
      *1

      Датчик положения сиденья

      *2

      Замок ремня безопасности левого переднего сиденья в сборе

      *3

      Блок управления системы SRS

      *4

      Жгут электропроводки левого переднего сиденья № 3

      *5

      Напольный провод

      *6

      Технологический провод

      *a

      Вид спереди разъема со стороны жгута проводов:

      (блок управления системы SRS)

      *b

      Вид спереди разъема со стороны жгута проводов:

      (к датчику положения сиденья)

    2. Подсоедините провод к отрицательному (-) выводу аккумуляторной батареи.

    3. Установите замок зажигания в положение ON (ВКЛ).

    4. Измерьте напряжение в соответствии со значениями, приведенными в таблице.

      Номинальное напряжение

      Подключение диагностического прибора

      Условие

      Заданные условия

      G-2 (LSP+) - масса

      Зажигание включено

      Менее 1 В

      G-1 (LSP-) - масса

      Зажигание включено

      Менее 1 В

    5. Выключите зажигание.

    6. Отсоедините провод от отрицательного (-) вывода аккумуляторной батареи.

      CAUTION:

      После отсоединения провода от отрицательного (-) вывода аккумуляторной батареи подождите не менее 90 с, чтобы предотвратить срабатывание системы SRS.

    7. С помощью сервисной перемычки соедините контакты 25 (LSP+) и 26 (LSP-) разъема "В".

      Note:

      Технологический провод следует вставлять в контакты разъема без усилия.

    8. Измерьте сопротивление в соответствии со значениями, приведенными в таблице ниже.

      Номинальное сопротивление

      Подключение диагностического прибора

      Условие

      Заданные условия

      G-2 (LSP+) - G-1 (LSP-)

      Всегда

      Менее 1 Ом

    9. Отсоедините технологический провод от разъема В.

    10. Измерьте сопротивление в соответствии со значениями, приведенными в таблице ниже.

      Номинальное сопротивление

      Подключение диагностического прибора

      Условие

      Заданные условия

      G-2 (LSP+) - G-1 (LSP-)

      Всегда

      1 МОм или более

      G-2 (LSP+) - масса

      Всегда

      1 МОм или более

      G-1 (LSP-) - масса

      Всегда

      1 МОм или более

    Результат

    Перейти к

    OK

    НЕ СООТВ.

    НЕ СООТВ.

    ПРОВЕРЬТЕ ЖГУТ ПРОВОДОВClick here

    СООТВ
  4. ПРОВЕРЬТЕ DTC

    1. B474758C01

      *1

      Датчик положения сиденья

      *2

      Замок ремня безопасности левого переднего сиденья в сборе

      *3

      Блок управления системы SRS

      Подсоедините разъемы к блоку управления системы SRS и датчику положения сиденья.

    2. Подсоедините провод к отрицательному (-) выводу аккумуляторной батареи.

    3. Установите замок зажигания в положение ON (ВКЛ) и подождите не менее 60 секунд.

    4. Удалите коды DTC, сохраненные в памяти.

      Body Electrical > SRS Airbag > Clear DTCs

    5. Выключите зажигание.

    6. Установите замок зажигания в положение ON (ВКЛ) и подождите не менее 60 секунд.

    7. Проверьте наличие кодов DTC.

      Body Electrical > SRS Airbag > Trouble Codes

      СООТВ

      DTC B1653 не выводится.

      Tip:

      В этот момент могут выводиться другие коды, кроме B1653, которые не связаны с данной проверкой.

    Результат

    Result

    OK

    НЕ СООТВ.

    OK

    ВЫПОЛНИТЕ ПРОВЕРКУ С ИМИТАЦИЕЙ УСЛОВИЙ ВОЗНИКНОВЕНИЯ НЕИСПРАВНОСТИ

    Нажмите здесьClick hereClick hereClick here

    НЕ СООТВ.
  5. ПРОВЕРЬТЕ БЛОК УПРАВЛЕНИЯ СИСТЕМЫ SRS

    1. B474758C01

      *1

      Датчик положения сиденья

      *2

      Замок ремня безопасности левого переднего сиденья в сборе

      *3

      Центральный блок управления системы SRS

      Выключите зажигание.

    2. Отсоедините провод от отрицательного (-) вывода аккумуляторной батареи.

      CAUTION:

      После отсоединения провода от отрицательного (-) вывода аккумуляторной батареи подождите не менее 90 с, чтобы предотвратить срабатывание системы SRS.

    3. Замените блок управления системы SRS в сборе заведомо исправным.

      Нажмите здесьClick hereClick hereClick here

      Tip:

      Выполните следующую проверку, используя, по возможности, заведомо исправные узлы и детали от другого автомобиля.

    4. Подсоедините провод к отрицательному (-) выводу аккумуляторной батареи.

    5. Установите замок зажигания в положение ON (ВКЛ) и подождите не менее 60 секунд.

    6. Проверьте наличие кодов DTC.

      Body Electrical > SRS Airbag > Trouble Codes

      СООТВ

      DTC B1653 не выводится.

      Tip:

      В этот момент могут выводиться другие коды, кроме B1653, которые не связаны с данной проверкой.

    7. Выключите зажигание.

    8. Отсоедините провод от отрицательного (-) вывода аккумуляторной батареи.

      CAUTION:

      После отсоединения провода от отрицательного (-) вывода аккумуляторной батареи подождите не менее 90 с, чтобы предотвратить срабатывание системы SRS.

    9. Верните блок управления системы SRS, который был установлен для проверки, на его исходное место.

      Нажмите здесьClick hereClick hereClick here

    Результат

    Перейти к

    OK

    НЕ СООТВ.

    OK

    ЗАМЕНИТЕ ЦЕНТРАЛЬНЫЙ БЛОК УПРАВЛЕНИЯ СИСТЕМЫ SRS

    Нажмите здесьClick hereClick hereClick here

    НЕ СООТВ.

    ЗАМЕНИТЕ ДАТЧИК ПОЛОЖЕНИЯ СИДЕНЬЯ (РЕГУЛЯТОР ЛЕВОГО ПЕРЕДНЕГО СИДЕНЬЯ В СБОРЕ)

    Нажмите здесьClick hereClick here

  6. ПРОВЕРЬТЕ ЖГУТ ПРОВОДОВ

    1. Отсоедините разъем жгута проводов левого переднего сиденья № 3 от замка ремня безопасности левого переднего сиденья.

      B474706C01

      *1

      Датчик положения сиденья

      *2

      Замок ремня безопасности левого переднего сиденья в сборе

      *3

      Блок управления системы SRS

      *4

      Жгут электропроводки левого переднего сиденья № 3

      *5

      Напольный провод

      *6

      Технологический провод

      *a

      Вид спереди разъема со стороны жгута проводов:

      (блок управления системы SRS)

      *b

      Вид спереди разъема со стороны жгута проводов:

      (к жгуту проводов левого переднего сиденья № 3)

    2. Подсоедините провод к отрицательному (-) выводу аккумуляторной батареи.

    3. Установите замок зажигания в положение ON (ВКЛ).

    4. Измерьте напряжение в соответствии со значениями, приведенными в таблице.

      Номинальное напряжение

      Подключение диагностического прибора

      Условие

      Заданные условия

      E-2 (LSP+) - масса

      Зажигание включено

      Менее 1 В

      E-1 (LSP-) - масса

      Зажигание включено

      Менее 1 В

    5. Выключите зажигание.

    6. Отсоедините провод от отрицательного (-) вывода аккумуляторной батареи.

      CAUTION:

      После отсоединения провода от отрицательного (-) вывода аккумуляторной батареи подождите не менее 90 с, чтобы предотвратить срабатывание системы SRS.

    7. С помощью сервисной перемычки соедините контакты 25 (LSP+) и 26 (LSP-) разъема "В".

      Note:

      Технологический провод следует вставлять в контакты разъема без усилия.

    8. Измерьте сопротивление в соответствии со значениями, приведенными в таблице ниже.

      Номинальное сопротивление

      Подключение диагностического прибора

      Условие

      Заданные условия

      E-2 (LSP+) - E-1 (LSP-)

      Всегда

      Менее 1 Ом

    9. Отсоедините технологический провод от разъема В.

    10. Измерьте сопротивление в соответствии со значениями, приведенными в таблице ниже.

      Номинальное сопротивление

      Подключение диагностического прибора

      Условие

      Заданные условия

      E-2 (LSP+) - E-1 (LSP-)

      Всегда

      1 МОм или более

      E-2 (LSP+) - масса

      Всегда

      1 МОм или более

      E-1 (LSP-) - масса

      Всегда

      1 МОм или более

    Результат

    Перейти к

    OK

    НЕ СООТВ.

    СООТВ

    ЗАМЕНИТЕ ЖГУТ ПРОВОДОВ ПЕРЕДНЕГО ЛЕВОГО СИДЕНЬЯ № 3

    НЕ СООТВ.
  7. ПРОВЕРЬТЕ НАПОЛЬНЫЙ ПРОВОД

    1. Отсоедините разъем напольного провода от замка ремня безопасности левого переднего сиденья.

      B474708C01

      *1

      Датчик положения сиденья

      *2

      Замок ремня безопасности левого переднего сиденья в сборе

      *3

      Блок управления системы SRS

      *4

      Жгут электропроводки левого переднего сиденья № 3

      *5

      Напольный провод

      *6

      Технологический провод

      *a

      Вид спереди разъема со стороны жгута проводов:

      (блок управления системы SRS)

      *b

      Вид спереди разъема со стороны жгута проводов:

      (к замку ремня безопасности левого переднего сиденья в сборе)

    2. Подсоедините провод к отрицательному выводу (-) аккумуляторной батареи.

    3. Установите замок зажигания в положение ON (ВКЛ).

    4. Измерьте напряжение в соответствии со значениями, приведенными в таблице.

      Номинальное напряжение

      Подключение диагностического прибора

      Условие

      Заданные условия

      R69-4 (LSP+) - масса

      Зажигание включено

      Менее 1 В

      R69-3 (LSP-) - масса

      Зажигание включено

      Менее 1 В

    5. Выключите зажигание.

    6. Отсоедините провод от отрицательного (-) вывода аккумуляторной батареи.

      CAUTION:

      После отсоединения провода от отрицательного (-) вывода аккумуляторной батареи подождите не менее 90 с, чтобы предотвратить срабатывание системы SRS.

    7. С помощью сервисной перемычки соедините контакты 25 (LSP+) и 26 (LSP-) разъема "В".

      Note:

      Технологический провод следует вставлять в контакты разъема без усилия.

    8. Измерьте сопротивление в соответствии со значениями, приведенными в таблице ниже.

      Номинальное сопротивление

      Подключение диагностического прибора

      Условие

      Заданные условия

      R69-4 (LSP+) - R69-3 (LSP-)

      Всегда

      Менее 1 Ом

    9. Отсоедините технологический провод от разъема В.

    10. Измерьте сопротивление в соответствии со значениями, приведенными в таблице ниже.

      Номинальное сопротивление

      Подключение диагностического прибора

      Условие

      Заданные условия

      R69-4 (LSP+) - R69-3 (LSP-)

      Всегда

      1 МОм или более

      R69-4 (LSP+) - масса

      Всегда

      1 МОм или более

      R69-3 (LSP-) - масса

      Всегда

      1 МОм или более

    Результат

    Перейти к

    OK

    НЕ СООТВ.

    OK

    ЗАМЕНИТЕ ЗАМОК РЕМНЯ БЕЗОПАСНОСТИ ЛЕВОГО ПЕРЕДНЕГО СИДЕНЬЯ В СБОРЕ

    Нажмите здесьClick hereClick here

    NG

    ЗАМЕНИТЕ НАПОЛЬНЫЙ ПРОВОД