POWER STEERING SYSTEM


  1. FUNCTION OF MAIN COMPONENTS


    1. The main components of the EPS system are as follows:

      Component Function
      Steering Gear Assembly Changes the rotational force to lateral movement in accordance with the driver's steering operation.
      Steering Column Assembly Reduction Mechanism Reduces the speed of the power steering motor through the use of a worm gear and a wheel gear and transmits it to the column shaft.
      Torque Sensor Detects the amount of twist of the torsion bar. Based on the torque applied to the torsion bar, the sensor creates an electrical signal, and sends this signal to the power steering ECU assembly.
      Power Steering Motor Generates power assist in accordance with a signal received from the power steering ECU assembly.
      Rotation Angle Sensor Sends the rotation angle of the power steering motor to the power steering ECU assembly.
      Power Steering ECU Assembly Actuates the power steering motor to provide power assist based on the signals received from various sensors and ECUs.
      Spiral Cable with Sensor Sub-assembly Steering Sensor Detects the steering direction and angle of the steering wheel assembly.
      Brake Booster with Master Cylinder Assembly Skid Control ECU
      • Outputs the vehicle speed signal.

      • Requests steering torque assist during cooperative control.

      Combination Meter Sub-assembly EPS Warning Light Illuminates to alert the driver when the power steering ECU assembly detects a malfunction in the EPS system.
      ECM Outputs the engine speed signal.
      Hybrid Vehicle Control ECU Transmits the ready status signal to the power steering ECU assembly.
      Air Conditioning Amplifier Assembly Receives a signal from the power steering ECU assembly to limit electrical usage.
      Parking Assist ECU*1 Requests steering torque assist during steering cooperative control.
      Forward Recognition Camera*2 Requests steering assist torque when the lane departure alert system estimates that the vehicle departs from its lane.
      Network Gateway ECU*3 Relays the signal between the CAN communication.

      *1: Models with intelligent parking assist system

      *2: Models with lane departure alert system

      *3: Models with network gateway ECU

  2. Component Outline
    Steering Assist Control Basic Control Calculates the assist current required based on the steering torque value and the vehicle speed and actuates the power steering motor.
    Compensation Control Compensates with a force, according to the driver's steering maneuver, improving the comfort of steering.
    Brake Control System Cooperative Control Receives requests from the skid control ECU (brake booster with master cylinder assembly) and actuates steering assist control in accordance with the operating condition of the brake control system. This facilitates the steering operation of the driver, thus achieving a high level of vehicle stability.
    Intelligent Parking Assist System Cooperative Control*1 When the vehicle is parked in a garage or in parallel, the intelligent parking assist system assists steering in accordance with the signal from the parking assist ECU.
    Lane Departure Alert System Cooperative Control*2 When the lane departure alert system estimates that the vehicle departs from its lane while lane departure alert system control is performed, the power steering ECU assembly performs steering assist control according to request signals from the forward recognition camera.
    Power Supply Voltage Drop Control
    • When the power steering ECU assembly detects a power supply voltage drop, it illuminates the EPS warning light while moderating fluctuations in the steering assist torque and controls the steering assist control.

    • When the power steering ECU assembly detects a power supply voltage drop, it sends a load control demand to the air conditioning amplifier assembly in order to limit electrical usage.

    *1: Models with intelligent parking assist system

    *2: Models with lane departure alert system

    SYSTEM CONTROL

  3. CONSTRUCTION


    1. Steering Column Assembly


      1. The steering column assembly includes a torque sensor, power steering motor and reduction mechanism.

        B005KU4C02
        *1 Steering Column Assembly *2 Torque Sensor
        *3 Power Steering Motor *4 Reduction Mechanism
        *a A-A Cross Section *b B-B Cross Section
        *c The illustrations shown are examples only. - -
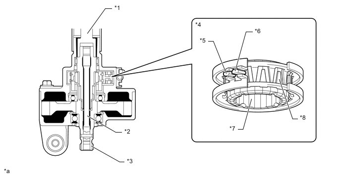
      2. The torque sensor is built into the steering column assembly. A multipole magnet is mounted to the input shaft, and a yoke is mounted to the output shaft. The input and output shafts are joined by a torsion bar.

      3. The torque sensor contains 2 Hall ICs which face opposite to each other. The EPS system detects the steering direction in accordance with the direction of the magnetic flux that passes between the Hall ICs. Furthermore, the EPS system detects steering torque in accordance with the amount of change in the magnetic flux density based on the relative displacement of the multipole magnet and the yoke. The power steering ECU assembly monitors the torque sensor signals output by the 2 Hall ICs to detect malfunctions.

        B005KSNC02
        *1 Input Shaft *2 Torsion Bar
        *3 Output Shaft *4 Torque Sensor
        *5 Hall IC 2 *6 Hall IC 1
        *7 Multipole Magnet *8 Yoke
        *a The illustrations shown are examples only. - -
      4. A low inertia, low noise, and high power output brushless type power steering motor is used.

      5. The power steering motor consists of a rotor, stator, motor shaft and rotation angle sensor.

      6. The rotation angle sensor consists of a highly reliable and durable resolver sensor. The rotation angle sensor detects the rotation angle of the motor and outputs it to the power steering ECU assembly. As a result, efficient EPS is ensured.

      7. The torque that is generated by the power steering motor is transmitted via the joint to the reduction mechanism.

      8. The reduction mechanism reduces the speed of the power steering motor via a worm gear and wheel gear, and transmits it to the column shaft.

      9. The wheel gear is made of a high strength, low friction, and low wear plastic material, to realize low noise and a lightweight construction.

      10. A worm gear supported by ball bearings is used. Also, a leaf spring is provided to ensure optimal gear engagement at all times.

        B005KUGC02
        *1 Leaf Spring *2 Ball Bearing
        *3 Worm Gear *4 Rotation Angle Sensor
        *5 Rotor *6 Stator
        *7 Motor Shaft *8 Column Shaft
        *9 Wheel Gear - -
        *a The illustrations shown are examples only. - -
  4. OPERATION


    1. When the steering wheel is not turned


      1. If the vehicle is driven straight and the driver does not turn the steering wheel, the yoke is centered between the N and S poles of the multipole magnet. Thus, no magnetic flux passes between the Hall ICs. In this case, the Hall ICs output a specified voltage to the power steering ECU assembly, to indicate that no turning torque is being applied to the steering wheel. Therefore, current is not applied to the motor.

        B005KWXC03
        *1 Yoke Tab *2 Multipole Magnet
        *3 Hall IC 2 *4 Hall IC 1
    2. When the steering wheel is turned right or left


      1. When the driver turns the steering wheel to the right or left, the twist created in the torsion bar creates a relative displacement between the multipole magnet and yoke.

      2. At this time, the magnetic flux from the N to S poles of the multipole magnet passes between the Hall ICs. The EPS system detects the direction the steering wheel is being turned in accordance with the direction of the magnetic flux that passes between the Hall ICs. Hall IC 1 and Hall IC 2 are installed facing opposite to each other. As a result, the output characteristics of the 2 Hall ICs are constantly opposite each other. The EPS system monitors the different outputs of these Hall ICs in order to detect malfunctions.

      3. The magnetic flux density becomes higher as the Hall ICs get closer to the center of each respective pole. Each Hall IC converts these magnetic flux fluctuations into voltage fluctuations in order to transmit the rotational torque of the steering wheel to the power steering ECU assembly.

        B005KW3C01
        *1 Yoke Tab *2 Multipole Magnet
        *3 Hall IC 2 *4 Hall IC 1
        *a When the steering wheel is turned right *b When the steering wheel is turned left
        B005KT0 Direction of the Magnetic Flux - -
    3. Torque Sensor Output Characteristics


      1. When the driver does not turn the steering wheel, the torque sensor outputs a specified voltage (2.5 V) to the power steering ECU assembly. As long as the specified voltage is output, the power steering ECU assembly determines that no turning torque is being applied to the steering wheel.

      2. When the driver turns the steering wheel to the right or left, the voltage output from the torque sensor to the power steering ECU assembly changes. Based on the changes, the power steering ECU assembly determines the steering torque and steering direction input by the driver.

        B005KSCE04
  5. FAIL-SAFE


    1. If the power steering ECU assembly detects a malfunction in the EPS system, the power steering ECU assembly illuminates the EPS warning light to alert the driver of the malfunction.

    2. If a system malfunction occurs, the power steering ECU assembly changes control mode to fail-safe mode. For details, refer to the Repair Manual.

  6. DIAGNOSIS


    1. The power steering ECU assembly will also store a Diagnostic Trouble Code (DTC). The DTC can be accessed through the use of the Global TechStream (GTS). For details, refer to the Repair Manual.