ТОПЛИВНАЯ СИСТЕМА ДВИГАТЕЛЯ МЕРЫ ПРЕДОСТОРОЖНОСТИ
-
Топливный бак в сборе очень тяжелый. Во избежание соскакивания топливного бака в сборе с подъемника двигателя обязательно соблюдайте последовательность действий, изложенную в руководстве по ремонту.
-
Во избежание серьезных травм в результате разбрызгивания топлива из топливных магистралей высокого давления обязательно стравите давление из топливной системы перед снятием компонентов топливной системы.
ПЕРЕД ВЫПОЛНЕНИЕМ РАБОТ С ТОПЛИВНОЙ СИСТЕМОЙ
Перед проверкой и ремонтом топливной системы отсоедините провод от отрицательного (-) вывода аккумуляторной батареи.
Note:После выключения зажигания следует подождать некоторое время, прежде чем отсоединять провод от отрицательного (-) вывода аккумуляторной батареи. Поэтому, прежде чем приступать к этой работе, обязательно ознакомьтесь с примечанием относительно отсоединения провода от отрицательного (-) вывода аккумуляторной батареи.
Нажмите здесьClick hereClick here
Не курите и остерегайтесь огня при работе с топливной системой.
Не допускайте попадания топлива на детали из резины и кожи.
СБРОСЬТЕ ДАВЛЕНИЕ В ТОПЛИВНОЙ СИСТЕМЕ
CAUTION:При выполнении этой процедуры убедитесь, что температура охлаждающей жидкости не превышает 60°C (140°F).
Не отсоединяйте ни один из компонентов топливной системы, не сбросив в ней давление.
Давление в топливопроводах будет сохраняться даже после выполнения рассмотренных ниже действий. При отсоединении топливопровода накрывайте его куском ткани во избежание разбрызгивания или вытекания топлива.
При сбросе давления в топливной системе путем отсоединения реле FUEL PMP:
Снимите крышку блока реле № 1 и распределительного блока № 1 моторного отсека в сборе.
Снимите реле FUEL PMP.
Снимите декоративную крышку V-образного двигателя.
Нажмите здесьClick hereClick here
-
Отсоедините разъем жгута электропроводки двигателя № 6 и разъем жгута электропроводки двигателя № 7.
Запустите двигатель. После того, как двигатель остановится сам по себе, выключите зажигание.
Note:Не увеличивайте частоту вращения коленчатого вала двигателя и не приводите автомобиль в движение, пока двигатель самопроизвольно не остановится.
Снова прокрутите коленчатый вал двигателя стартером и убедитесь, что двигатель не запускается.
Tip:Могут регистрироваться DTC P008700 (чрезмерно низкое давление в топливной системе / распределителе топлива), DTC P017100/Р017400 (чрезмерное обеднение смеси в системе), P160300 (данные о заглохании двигателя), P160400 (проблемы с запуском) или P160500 (неравномерный холостой ход). Прежде чем переходить к следующему шагу, удалите коды DTC.
Для моделей с модулем насоса адсорбера:
Нажмите здесьClick here
Для моделей без модуля насоса адсорбера:
Нажмите здесьClick here
Снимите пробку наливной горловины топливного бака и сбросьте давление внутри топливного бака.
Отсоедините провод от отрицательного (-) вывода аккумуляторной батареи.
Note:После подсоединения провода необходимо инициализировать некоторые системы.
Нажмите здесьClick hereClick here
Подсоедините разъем жгута электропроводки двигателя № 6 и разъем жгута электропроводки двигателя № 7.
Установите декоративную крышку V-образного двигателя.
Нажмите здесьClick hereClick here
Установите реле FUEL PMP.
Установите крышку блока реле № 1 и распределительного блока № 1 моторного отсека в сборе.
При сбросе давления в топливной системе путем отсоединения разъема топливного насоса:
Отсоедините разъем топливного насоса.
Нажмите здесьClick hereClick here
-
Отсоедините разъем жгута электропроводки двигателя № 6 и разъем жгута электропроводки двигателя № 7.
Запустите двигатель. После того, как двигатель остановится сам по себе, выключите зажигание.
Note:Не увеличивайте частоту вращения коленчатого вала двигателя и не приводите автомобиль в движение, пока двигатель самопроизвольно не остановится.
Снова прокрутите коленчатый вал двигателя стартером и убедитесь, что двигатель не запускается.
Tip:Могут регистрироваться DTC P008700 (чрезмерно низкое давление в топливной системе / распределителе топлива), DTC P017100/Р017400 (чрезмерное обеднение смеси в системе), P160300 (данные о заглохании двигателя), P160400 (проблемы с запуском) или P160500 (неравномерный холостой ход). Прежде чем переходить к следующему шагу, удалите коды DTC.
Для моделей с модулем насоса адсорбера:
Нажмите здесьClick here
Для моделей без модуля насоса адсорбера:
Нажмите здесьClick here
Снимите пробку наливной горловины топливного бака и сбросьте давление внутри топливного бака.
Отсоедините провод от отрицательного (-) вывода аккумуляторной батареи.
Note:После подсоединения провода необходимо инициализировать некоторые системы.
Нажмите здесьClick hereClick here
Подсоедините разъем жгута электропроводки двигателя № 6 и разъем жгута электропроводки двигателя № 7.
Подсоедините разъем топливного насоса
Нажмите здесьClick here
ТОПЛИВОПРОВОД
При отсоединении топливной магистрали высокого давления может быть разлито большое количество топлива. Выполните следующие действия:
Сбросьте давление в топливной системе.
Отсоедините топливопровод.
Слейте остатки топлива из трубки топливного насоса в подходящую емкость.
Накройте отсоединенный топливопровод и разъем топливопровода полиэтиленовыми пакетами, чтобы предотвратить их загрязнение и повреждение.
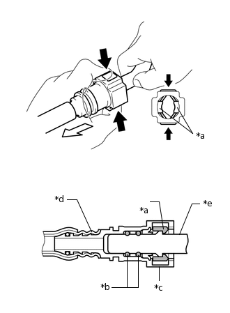
Быстрый разъем A:
В случае отсоединения разъема топливопровода выполните следующие действия.
Note:Перед выполнением этой операции очистите разъем топливопровода и топливопровод от посторонних частиц.
-
Для моделей с зажимом:
Снимите зажим топливопровода № 2 с разъема топливопровода.
-
*a
Крышка разъема топливопровода

Вытяните
Для моделей с крышкой:
Снимите крышку разъема топливопровода.
Перед отсоединением убедитесь в отсутствии посторонних веществ вокруг разъема топливопровода. При необходимости очистите его.
-
*a
Фиксатор
*b
Кольцевое уплотнение
*c
Разъем топливопровода
*d
Нейлоновая трубка
*e
Топливопровод

Зажмите

Вытяните
Сожмите фиксатор разъема топливопровода и затем вытяните разъем топливопровода из топливопровода.
Note:Разъем топливопровода следует отсоединять вручную.
Если разъем топливопровода не снимается с топливопровода, подвигайте его вперед-назад для освобождения. Аккуратно снимите разъем топливопровода с топливопровода.
Note:Разъем топливопровода следует отсоединять вручную.
Не допускайте образования царапин и загрязнений на разъединенных деталях, поскольку соединение разъема топливопровода и рампы герметизируется с помощью кольцевого уплотнения.
Не изгибайте, не перегибайте, не зажимайте и не перекручивайте нейлоновые трубки.
Убедитесь в отсутствии посторонних веществ на уплотняемых поверхностях отсоединенных топливопроводов. При необходимости очистите их.
Накройте отсоединенный топливопровод и разъем топливопровода полиэтиленовыми пакетами, чтобы предотвратить их загрязнение и повреждение.
-
Быстрый разъем A:
Для подсоединения разъема топливопровода выполните следующие действия.
Note:Убедитесь в отсутствии повреждений и инородных частиц на соединяемых частях топливных магистралей.
Совместите разъем топливопровода с топливопроводом и вставьте их друг в друга до щелчка. Если топливопровод вставляется в разъем тяжело, нанесите небольшое количество чистого бензина на конец топливопровода и попытайтесь вставить снова.
-

Вытяните
После подсоединения разъема к топливопроводу потяните их для проверки прочности соединения.
Для моделей с зажимом:
Установите зажим топливопровода № 2 на разъем топливопровода.
Для моделей с крышкой:
Установите крышку разъема топливопровода.
Проверьте, нет ли утечек топлива.
Нажмите здесьClick here
Быстрый разъем B:
В случае отсоединения разъема топливопровода выполните следующие действия.
Note:Перед выполнением этой операции очистите разъем топливопровода и топливопровод от посторонних частиц.
-
*a
Фиксатор
*b
Топливопровод
*c
Нейлоновая трубка
*d
Соединитель топливопровода
*e
Кольцевое уплотнение
*f
Захват

Нажмите

Вытяните

Вытяните
Освободите 2 захвата стопора. Оттяните стопор и отсоедините разъем топливопровода от топливопровода.
Note:Разъем топливопровода следует отсоединять вручную.
Если разъем топливопровода не снимается с топливопровода, подвигайте его вперед-назад для освобождения. Аккуратно снимите разъем топливопровода с топливопровода.
Note:Разъем топливопровода следует отсоединять вручную.
Не допускайте образования царапин и загрязнений на разъединенных деталях, поскольку соединение разъема топливопровода и рампы герметизируется с помощью кольцевого уплотнения.
Не изгибайте, не перегибайте, не зажимайте и не перекручивайте нейлоновые трубки.
Убедитесь в отсутствии посторонних веществ на уплотняемых поверхностях отсоединенных топливопроводов. При необходимости очистите их.
Накройте отсоединенный топливопровод и разъем топливопровода полиэтиленовыми пакетами, чтобы предотвратить их загрязнение и повреждение.
-
Быстрый разъем B:
Для подсоединения разъема топливопровода выполните следующие действия.
Note:Убедитесь в отсутствии повреждений и инородных частиц на соединяемых частях топливных магистралей.
-
*a
Фиксатор
*b
Захват

Нажмите

Вставьте
Совместите разъем топливопровода с топливопроводом и вставьте их друг в друга до щелчка. Если топливопровод вставляется в разъем тяжело, нанесите небольшое количество чистого бензина на конец топливопровода и попытайтесь вставить снова.
Подсоедините топливопроводы и прижмите стопор, чтобы присоединить 2 захвата. Проверьте надежность сцепления топливопровода и разъема топливопровода, попытавшись растянуть их.
Проверьте, нет ли утечек топлива.
Нажмите здесьClick here
-
Быстрый разъем C:
В случае отсоединения разъема топливопровода выполните следующие действия.
Note:Перед выполнением этой операции очистите разъем топливопровода и топливопровод от посторонних частиц.
-
*a
Фиксатор
*b
Топливопровод
*c
Разъем топливопровода
*d
Кольцевое уплотнение
*e
Захват

Потяните

Вытяните

Вытяните
Освободите 2 захвата стопора. Оттяните стопор и отсоедините разъем топливопровода от топливопровода.
Note:Разъем топливопровода следует отсоединять вручную.
Если разъем топливопровода не снимается с топливопровода, подвигайте его вперед-назад для освобождения. Аккуратно снимите разъем топливопровода с топливопровода.
Note:Разъем топливопровода следует отсоединять вручную.
Не допускайте образования царапин и загрязнений на разъединенных деталях, поскольку соединение разъема топливопровода и рампы герметизируется с помощью кольцевого уплотнения.
Убедитесь в отсутствии посторонних веществ на уплотняемых поверхностях отсоединенных топливопроводов. При необходимости очистите их.
Накройте отсоединенный топливопровод и разъем топливопровода полиэтиленовыми пакетами, чтобы предотвратить их загрязнение и повреждение.
-
Быстрый разъем C:
Для подсоединения разъема топливопровода выполните следующие действия.
Note:Убедитесь в отсутствии повреждений и инородных частиц на соединяемых частях топливных магистралей.
-
*a
Фиксатор
*b
Захват

Нажмите

Вставьте
Совместите разъем топливопровода с топливопроводом и вставьте их друг в друга до щелчка. Если топливопровод вставляется в разъем тяжело, нанесите небольшое количество чистого бензина на конец топливопровода и попытайтесь вставить снова.
Подсоедините топливопроводы и прижмите стопор, чтобы присоединить 2 захвата. Проверьте надежность сцепления топливопровода и разъема топливопровода, попытавшись растянуть их.
Проверьте, нет ли утечек топлива.
Нажмите здесьClick here
-
Быстрый разъем D:
В случае отсоединения разъема топливопровода выполните следующие действия.
Note:Перед выполнением этой операции очистите разъем топливопровода и топливопровод от посторонних частиц.
-
*a
Фиксатор
*b
Топливопровод
*c
Разъем топливопровода
*d
Кольцевое уплотнение
*e
Захват

Нажмите

Вытяните

Вытяните
Освободите 2 захвата стопора. Оттяните стопор и отсоедините разъем топливопровода от топливопровода.
Note:Разъем топливопровода следует отсоединять вручную.
Если разъем топливопровода не снимается с топливопровода, подвигайте его вперед-назад для освобождения. Аккуратно снимите разъем топливопровода с топливопровода.
Note:Разъем топливопровода следует отсоединять вручную.
Не допускайте образования царапин и загрязнений на разъединенных деталях, поскольку соединение разъема топливопровода и рампы герметизируется с помощью кольцевого уплотнения.
Убедитесь в отсутствии посторонних веществ на уплотняемых поверхностях отсоединенных топливопроводов. При необходимости очистите их.
Накройте отсоединенный топливопровод и разъем топливопровода полиэтиленовыми пакетами, чтобы предотвратить их загрязнение и повреждение.
-
Быстрый разъем D:
Для подсоединения разъема топливопровода выполните следующие действия.
Note:Убедитесь в отсутствии повреждений и инородных частиц на соединяемых частях топливных магистралей.
-
*a
Фиксатор
*b
Захват

Нажмите

Вставьте
Совместите разъем топливопровода с топливопроводом и вставьте их друг в друга до щелчка. Если топливопровод вставляется в разъем тяжело, нанесите небольшое количество чистого бензина на конец топливопровода и попытайтесь вставить снова.
Подсоедините топливопроводы и прижмите стопор, чтобы присоединить 2 захвата. Проверьте надежность сцепления топливопровода и разъема топливопровода, попытавшись растянуть их.
Проверьте, нет ли утечек топлива.
Нажмите здесьClick here
-
-
*a
Разъем топливопровода
*b
Нейлоновая трубка
*c
Защита из мономерного этиленпропилендиенового каучука (EPDM)
При работе с нейлоновыми трубками принимайте следующие меры предосторожности:
Note:При подсоединении не перегибайте нейлоновую трубку разъема топливопровода или разъем топливопровода.
Не снимайте защиту из мономерного этиленпропилендиенового каучука (EPDM) с наружной поверхности нейлоновой трубки.
Не изгибайте, не перегибайте, не зажимайте и не перекручивайте нейлоновые трубки.
ТОПЛИВОЗАБОРНИК С БЕНЗОНАСОСОМ И ДАТЧИКОМ УРОВНЯ ТОПЛИВА В СБОРЕ
Note:-
*a
Трубка
При разборке топливозаборника с насосом и датчиком уровня топлива в сборе не отсоединяйте трубопровод, указанный на рисунке. Это может привести к тому, что сборка топливозаборника с бензонасосом и датчиком уровня топлива в сборе будет невозможна, так как трубопровод вдавлен в пластину топливозаборника.
В случае замены топливного фильтра, заменяйте его вместе с пластиной топливозаборника в сборе.
-
ПРОВЕРЬТЕ, НЕТ ЛИ УТЕЧЕК ТОПЛИВА
Убедитесь в отсутствии утечек топлива из топливной системы после проведения любого технического обслуживания или ремонта.
Нажмите здесьClick here