REAR SHOCK ABSORBER DISPOSAL

PROCEDURE

  1. DISPOSE OF REAR SHOCK ABSORBER ASSEMBLY LH

    C129647E01
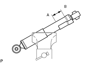
    1. Extend the piston rod and secure the rear shock absorber assembly LH at an angle in a vise.

    2. Using a drill, make a hole in the cylinder between A and B shown in the illustration to discharge the gas inside.

      CAUTION:

      Be careful when drilling as shards of metal may fly about. Always use proper safety equipment.

      Note:

      The gas is colorless, odorless and non poisonous.