RAIN SENSOR INSTALLATION

PROCEDURE

  1. INSTALL RAIN SENSOR TAPE

    Note:

    The rain sensor tape is reusable. Only replace the tape if it is damaged or contaminated.

    1. Clean the rain sensor sensing portion with a piece of cloth, etc.

    2. E179754C01

      *1

      Rain Sensor Tape

      Peel off the smaller release sheet, and then attach the rain sensor tape on the rain sensor sensing portion as shown in the illustration.

      Standard

      Area

      Measurement

      A

      13.5 mm (0.532 in.)

      B

      7.5 mm (0.295 in.)

      Note:

      Use your fingers to push out any air bubbles from under the tape.

  2. INSTALL RAIN SENSOR

    1. Clean the windshield glass with a piece of cloth, etc.

      Note:
      • Make sure that there is no rain sensor tape residue remaining on the windshield glass. If there is, remove the residue.

      • If there is any rain sensor tape residue remaining on the windshield glass, replace the tape.

    2. When installing a new rain sensor or replacing the rain sensor tape:

      1. Peel off the release sheet.

        Tip:

        Do not touch the silicon coated surfaces.

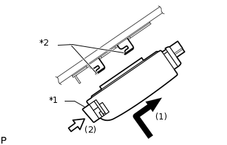
      2. E182986C01

        *1

        Stopper

        *2

        Guide

        Attach the 2 guides, and then carefully install the rain sensor to the glass surface so that air bubbles do not form between the contact surfaces.

        Note:

        Do not touch the silicon coated or glass surfaces.

      3. Push in the stopper.

      4. Connect the connector.

  3. INSTALL RAIN SENSOR COVER

    1. B427891

      Attach the 2 claws to install the rain sensor cover.

    2. Slide the cover as shown in the illustration.