VANE PUMP (for 2KD-FTV) INSPECTION


  1. INSPECT VANE PUMP SHAFT AND BUSHING IN FRONT VANE PUMP HOUSING


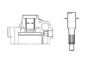
    1. B007WFVE01

      Using a micrometer and vernier calipers, measure the oil clearance.

      Maximum oil clearance
      0.07 mm (0.0028 in.)

      If oil clearance exceeds the maximum, replace the vane pump assembly.

  2. INSPECT VANE PUMP ROTOR AND VANE PUMP PLATES


    1. B007QIK

      Using a micrometer, measure the thickness of the vane pump plates.

      Standard thickness
      1.405 to 1.411 mm (0.05531 to 0.05555 in.)
    2. B007PC3

      Using a feeler gauge, measure the clearance between a side face of the vane pump rotor groove and the vane pump plates.

      Maximum clearance
      0.03 mm (0.0012 in.)

      If clearance exceeds the maximum, replace the vane pump assembly.

  3. INSPECT FLOW CONTROL VALVE


    1. B007OV0

      Coat the flow control valve with power steering fluid and check that it falls smoothly into the flow control valve hole under its own weight

      If it lacks smoothness, replace the vane pump assembly.

    2. B007PCAE01

      Check the flow control valve for leakage. Close one of the holes and apply compressed air, 392 to 490 kPa (4 to 5 kgf/cm2, 57 to 71 psi), into the opposite side hole, and confirm that air does not come out from the end holes.

      If air leaks, replace the vane pump assembly.

  4. INSPECT FLOW CONTROL VALVE COMPRESSION SPRING


    1. B007P4VE02

      Using vernier calipers, measure the free length of the flow control valve compression spring.

      Minimum free length
      29.2 mm (1.150 in.)

      If the length is less than the minimum, replace the vane pump assembly.

  5. INSPECT PRESSURE PORT UNION

    If the union seat in the pressure port union is severely damaged, it may cause fluid leakage. In that case, replace the vane pump assembly.

  6. INSPECT TOTAL PRELOAD


    1. Check that the pump rotates smoothly without abnormal noise.

    2. Temporarily install the service bolt.

      Recommended service bolt
      Thread diameter
      10 mm (0.39 in.)
      Thread pitch
      1.25 mm (0.0492 in.)
      Bolt length
      50 mm (1.97 in.)
    3. B007RML

      Using a torque wrench, check the rotating torque.

      Rotating torque
      0.27 N*m (2.8 kgf*cm , 2.4 in.*lbf) or less

      If rotating torque is not as specified, check the installation condition of each part.