AIRBAG SYSTEM, Diagnostic DTC:B1637/82, B1638/82, B1647/82, B1648/82, B167B/82, B167C/82

DTC Code DTC Name
B1637/82 Lost Communication with Rear Airbag Sensor LH
B1638/82 Rear Airbag Sensor Assembly LH Initialization Incomplete
B1647/82 Lost Communication with Side Satellite Sensor Bus LH
B1648/82 Side Satellite Sensor Bus LH Initialization Incomplete
B167B/82 Lost Communication with Front Door Pressure Sensor LH
B167C/82 Front Door Pressure Sensor LH Initialization Incomplete

DESCRIPTION

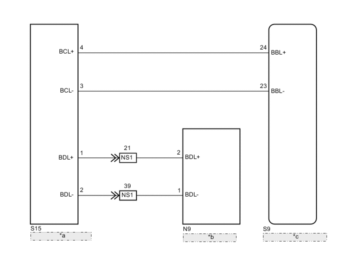
The side collision sensor LH circuit (bus 1) consists of the airbag sensor assembly, door side airbag sensor LH and rear airbag sensor LH.

The door side airbag sensor LH and rear airbag sensor LH detect impacts to the vehicle and send signals to the airbag sensor assembly to determine if the airbags and pretensioners should be deployed.

These DTCs are stored when a malfunction is detected in the side collision sensor LH circuit (bus 1).

DTC No. Detection Item DTC Detection Condition Trouble Area Test Mode / Check Mode
B1637/82 Lost Communication with Rear Airbag Sensor LH
  • The airbag sensor assembly detects a line short, short to ground or B+, or an open in the side collision sensor LH circuit (bus 1).

  • Door side airbag sensor LH malfunction

  • Rear airbag sensor LH malfunction

  • Airbag sensor assembly malfunction


  • No. 2 floor wire

  • Front door wire LH

  • Door side airbag sensor LH

  • Rear airbag sensor LH

  • Airbag sensor assembly

Does not apply to test/check mode
B1638/82 Rear Airbag Sensor Assembly LH Initialization Incomplete
  • The airbag sensor assembly detects a line short, short to ground or B+, or an open in the side collision sensor LH circuit (bus 1).

  • Door side airbag sensor LH malfunction

  • Rear airbag sensor LH malfunction

  • Airbag sensor assembly malfunction


  • No. 2 floor wire

  • Front door wire LH

  • Door side airbag sensor LH

  • Rear airbag sensor LH

  • Airbag sensor assembly

Does not apply to test/check mode
B1647/82 Lost Communication with Side Satellite Sensor Bus LH
  • The airbag sensor assembly detects a line short, short to ground or B+, or an open in the side collision sensor LH circuit (bus 1).

  • Door side airbag sensor LH malfunction

  • Rear airbag sensor LH malfunction

  • Airbag sensor assembly malfunction


  • No. 2 floor wire

  • Front door wire LH

  • Door side airbag sensor LH

  • Rear airbag sensor LH

  • Airbag sensor assembly

Does not apply to test/check mode
B1648/82 Side Satellite Sensor Bus LH Initialization Incomplete
  • The airbag sensor assembly detects a line short, short to ground or B+, or an open in the side collision sensor LH circuit (bus 1).

  • Door side airbag sensor LH malfunction

  • Rear airbag sensor LH malfunction

  • Airbag sensor assembly malfunction


  • No. 2 floor wire

  • Front door wire LH

  • Door side airbag sensor LH

  • Rear airbag sensor LH

  • Airbag sensor assembly

Does not apply to test/check mode
B167B/82 Lost Communication with Front Door Pressure Sensor LH
  • The airbag sensor assembly detects a line short, short to ground or B+, or an open in the side collision sensor LH circuit (bus 1).

  • Door side airbag sensor LH malfunction

  • Rear airbag sensor LH malfunction

  • Airbag sensor assembly malfunction


  • No. 2 floor wire

  • Front door wire LH

  • Door side airbag sensor LH

  • Rear airbag sensor LH

  • Airbag sensor assembly

Does not apply to test/check mode
B167C/82 Front Door Pressure Sensor LH Initialization Incomplete
  • The airbag sensor assembly detects a line short, short to ground or B+, or an open in the side collision sensor LH circuit (bus 1).

  • Door side airbag sensor LH malfunction

  • Rear airbag sensor LH malfunction

  • Airbag sensor assembly malfunction


  • No. 2 floor wire

  • Front door wire LH

  • Door side airbag sensor LH

  • Rear airbag sensor LH

  • Airbag sensor assembly

Does not apply to test/check mode

WIRING DIAGRAM

B00805KE08
*a Rear Airbag Sensor LH
*b Door Side Airbag Sensor LH
*c Airbag Sensor Assembly

CAUTION / NOTICE / HINT

Note

After turning the engine switch off, waiting time may be required before disconnecting the cable from the negative (-) battery terminal. Therefore, make sure to read the disconnecting the cable from the negative (-) battery terminal notices before proceeding with work.

Click here

PROCEDURE


  1. CHECK CURRENT DTC


    1. Check for current DTCs.

      Click here


      Body Electrical > SRS Airbag > Trouble Codes

      Tech Tips


      • DTCs indicating communication errors will be changed to DTCs indicating errors in initialization by turning the engine switch off and then on (IG) again.

      • Codes other than current DTCs B1637, B1638, B1647, B1648, B167B, B167C and 82 may be output at this time, but they are not related to this check.

      Result
      Result Proceed to
      Current DTC B1647, B1648 or 82 is output. A
      Current DTC B1638 is output. B
      Current DTC B167B or B167C is output. C
      Current DTC B1637 is output. D
      Current DTCs B1637, B1638, B1647, B1648, B167B, B167C and 82 are not output. E

    B
    C
    D
    E
    A
  2. CHECK CONNECTORS


    1. Turn the engine switch off.

    2. Disconnect the cable from the negative (-) battery terminal.

      CAUTION:

      Wait at least 90 seconds after disconnecting the cable from the negative (-) battery terminal to disable the SRS system.

    3. Check that the connectors are properly connected to the airbag sensor assembly, door side airbag sensor LH and rear airbag sensor LH. Also check that the connectors that link the No. 2 floor wire and front door wire LH are properly connected.

      OK
      The connectors are properly connected.

      Tech Tips

      If the connectors are not properly connected, reconnect the connectors and proceed to the next inspection.

    4. Disconnect the connectors from the airbag sensor assembly, door side airbag sensor LH and rear airbag sensor LH. Also disconnect the connectors that link the No. 2 floor wire and front door wire LH.

    5. Check that the terminals of the connectors are not deformed or damaged.

      OK
      The terminals are not deformed or damaged.
      Result
      Proceed to
      OK
      NG

    NG
    OK
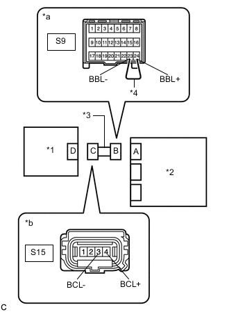
  3. CHECK NO. 2 FLOOR WIRE (OPEN)


    1. B007XHHC18
      *1 Rear Airbag Sensor LH
      *2 Airbag Sensor Assembly
      *3 No. 2 Floor Wire
      *4 Service Wire
      *a

      Front view of wire harness connector

      (to Airbag Sensor Assembly)

      *b

      Front view of wire harness connector

      (to Rear Airbag Sensor LH)

      Using a service wire, connect terminals 24 (BBL+) and 23 (BBL-) of connector B.

      Note

      Do not forcibly insert the service wire into the terminals of the connector when connecting the wire.

    2. Measure the resistance according to the value(s) in the table below.

      Standard Resistance
      Tester Connection Condition Specified Condition
      S15-4 (BCL+) - S15-3 (BCL-) Always Below 1 Ω
    3. Disconnect the service wire from connector B.

      Result
      Proceed to
      OK
      NG

    NG
    OK
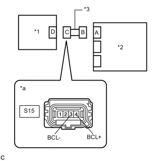
  4. CHECK NO. 2 FLOOR WIRE (SHORT)


    1. B007YN3C20
      *1 Rear Airbag Sensor LH
      *2 Airbag Sensor Assembly
      *3 No. 2 Floor Wire
      *a

      Front view of wire harness connector

      (to Rear Airbag Sensor LH)

      Measure the resistance according to the value(s) in the table below.

      Standard Resistance
      Tester Connection Condition Specified Condition
      S15-4 (BCL+) - S15-3 (BCL-) Always 1 MΩ or higher
      Result
      Proceed to
      OK
      NG

    NG
    OK
  5. CHECK NO. 2 FLOOR WIRE (SHORT TO B+)


    1. B007YN3C20
      *1 Rear Airbag Sensor LH
      *2 Airbag Sensor Assembly
      *3 No. 2 Floor Wire
      *a

      Front view of wire harness connector

      (to Rear Airbag Sensor LH)

      Connect the cable to the negative (-) battery terminal.

    2. Turn the engine switch on (IG).

    3. Measure the voltage according to the value(s) in the table below.

      Standard Voltage
      Tester Connection Condition Specified Condition
      S15-4 (BCL+) - Body ground Engine switch on (IG) Below 1 V
      S15-3 (BCL-) - Body ground Engine switch on (IG) Below 1 V
    4. Turn the engine switch off.

    5. Disconnect the cable from the negative (-) battery terminal.

      CAUTION:

      Wait at least 90 seconds after disconnecting the cable from the negative (-) battery terminal to disable the SRS system.

      Result
      Proceed to
      OK
      NG

    NG
    OK
  6. CHECK NO. 2 FLOOR WIRE (SHORT TO GROUND)


    1. B007YN3C20
      *1 Rear Airbag Sensor LH
      *2 Airbag Sensor Assembly
      *3 No. 2 Floor Wire
      *a

      Front view of wire harness connector

      (to Rear Airbag Sensor LH)

      Measure the resistance according to the value(s) in the table below.

      Standard Resistance
      Tester Connection Condition Specified Condition
      S15-4 (BCL+) - Body ground Always 1 MΩ or higher
      S15-3 (BCL-) - Body ground Always 1 MΩ or higher
      Result
      Proceed to
      OK
      NG

    NG
    OK
  7. CHECK WIRE HARNESS (OPEN)


    1. B00803FC05
      *1 Door Side Airbag Sensor LH
      *2 Rear Airbag Sensor LH
      *3 Service Wire
      *a

      Front view of wire harness connector

      (to Rear Airbag Sensor LH)

      *b

      Front view of wire harness connector

      (to Door Side Airbag Sensor LH)

      Connect the connectors that link the No. 2 floor wire and front door wire LH.

    2. Using a service wire, connect terminals 2 (BDL+) and 1 (BDL-) of connector E.

      Note

      Do not forcibly insert the service wire into the terminals of the connector when connecting the wire.

    3. Measure the resistance according to the value(s) in the table below.

      Standard Resistance
      Tester Connection Condition Specified Condition
      S15-1 (BDL+) - S15-2 (BDL-) Always Below 1 Ω
    4. Disconnect the service wire from connector E.

      Result
      Proceed to
      OK
      NG

    NG
    OK
  8. CHECK WIRE HARNESS (SHORT)


    1. B007X24C08
      *1 Door Side Airbag Sensor LH
      *2 Rear Airbag Sensor LH
      *a

      Front view of wire harness connector

      (to Rear Airbag Sensor LH)

      Measure the resistance according to the value(s) in the table below.

      Standard Resistance
      Tester Connection Condition Specified Condition
      S15-1 (BDL+) - S15-2 (BDL-) Always 1 MΩ or higher
      Result
      Proceed to
      OK
      NG

    NG
    OK
  9. CHECK WIRE HARNESS (SHORT TO B+)


    1. B007X24C08
      *1 Door Side Airbag Sensor LH
      *2 Rear Airbag Sensor LH
      *a

      Front view of wire harness connector

      (to Rear Airbag Sensor LH)

      Connect the cable to the negative (-) battery terminal.

    2. Turn the engine switch on (IG).

    3. Measure the voltage according to the value(s) in the table below.

      Standard Voltage
      Tester Connection Condition Specified Condition
      S15-1 (BDL+) - Body ground Engine switch on (IG) Below 1 V
      S15-2 (BDL-) - Body ground Engine switch on (IG) Below 1 V
    4. Turn the engine switch off.

    5. Disconnect the cable from the negative (-) battery terminal.

      CAUTION:

      Wait at least 90 seconds after disconnecting the cable from the negative (-) battery terminal to disable the SRS system.

      Result
      Proceed to
      OK
      NG

    NG
    OK
  10. CHECK WIRE HARNESS (SHORT TO GROUND)


    1. B007X24C08
      *1 Door Side Airbag Sensor LH
      *2 Rear Airbag Sensor LH
      *a

      Front view of wire harness connector

      (to Rear Airbag Sensor LH)

      Measure the resistance according to the value(s) in the table below.

      Standard Resistance
      Tester Connection Condition Specified Condition
      S15-1 (BDL+) - Body ground Always 1 MΩ or higher
      S15-2 (BDL-) - Body ground Always 1 MΩ or higher
      Result
      Proceed to
      OK
      NG

    NG
    OK
  11. CHECK REAR AIRBAG SENSOR LH


    1. B007XZQC01
      *1 Rear Airbag Sensor RH
      *2 Airbag Sensor Assembly

      Connect the connectors to the door side airbag sensor LH and airbag sensor assembly.

    2. Interchange the rear airbag sensor LH with RH and connect the connectors.

    3. Connect the cable to the negative (-) battery terminal.

    4. Clear the DTCs stored in memory.

      Click here


      Body Electrical > SRS Airbag > Clear DTCs
    5. Turn the engine switch off.

    6. Turn the engine switch on (IG), and wait for at least 60 seconds.

    7. Check for DTCs.

      Click here


      Body Electrical > SRS Airbag > Trouble Codes

      Tech Tips

      Codes other than DTCs B1642, B1643, B1647, B1648, 81 and 82 may be output at this time, but they are not related to this check.

      Result
      Result Proceed to
      DTC B1647, B1648 or 82 is output. A
      DTC B1642, B1643 or 81 is output. B
      DTCs B1642, B1643, B1647, B1648, 81 and 82 are not output. C
    8. Turn the engine switch off.

    9. Disconnect the cable from the negative (-) battery terminal.

      CAUTION:

      Wait at least 90 seconds after disconnecting the cable from the negative (-) battery terminal to disable the SRS system.

    10. Return the rear airbag sensor LH and RH to their original positions and connect the connectors.


    B
    C
    A
  12. CHECK DOOR SIDE AIRBAG SENSOR LH


    1. B007Y2UC02
      *1 Door Side Airbag Sensor RH
      *2 Rear Airbag Sensor LH

      Interchange the door side airbag sensor LH with RH and connect the connectors.

    2. Connect the cable to the negative (-) battery terminal.

    3. Clear the DTCs stored in memory.

      Click here


      Body Electrical > SRS Airbag > Clear DTCs
    4. Turn the engine switch off.

    5. Turn the engine switch on (IG), and wait for at least 60 seconds.

    6. Check for DTCs.

      Click here


      Body Electrical > SRS Airbag > Trouble Codes

      Tech Tips

      Codes other than DTCs B1642, B1643, B1647, B1648, 81 and 82 may be output at this time, but they are not related to this check.

      Result
      Result Proceed to
      DTC B1647, B1648 or 82 is output. A
      DTC B1642, B1643 or 81 is output. B
      DTCs B1642, B1643, B1647, B1648, 81 and 82 are not output. C
    7. Turn the engine switch off.

    8. Disconnect the cable from the negative (-) battery terminal.

      CAUTION:

      Wait at least 90 seconds after disconnecting the cable from the negative (-) battery terminal to disable the SRS system.

    9. Return the door side airbag sensor LH and RH to their original positions and connect the connectors.


    A
    B
    C
  13. CHECK NO. 2 FLOOR WIRE (SHORT TO GROUND)


    1. B007Z20C12
      *1 Door Side Airbag Sensor LH
      *2 Rear Airbag Sensor LH
      *3 Front Door Wire LH
      *4 No. 2 Floor Wire
      *a

      Front view of wire harness connector

      (to Front Door Wire LH)

      Disconnect the No. 2 floor wire connector from the front door wire LH.

    2. Measure the resistance according to the value(s) in the table below.

      Standard Resistance
      Tester Connection Condition Specified Condition
      NS1-21 (BDL+) - Body ground Always 1 MΩ or higher
      NS1-39 (BDL-) - Body ground Always 1 MΩ or higher
      Result
      Proceed to
      OK
      NG

    OK
    NG
  14. CHECK NO. 2 FLOOR WIRE (SHORT TO B+)


    1. B007Z20C12
      *1 Door Side Airbag Sensor LH
      *2 Rear Airbag Sensor LH
      *3 Front Door Wire LH
      *4 No. 2 Floor Wire
      *a

      Front view of wire harness connector

      (to Front Door Wire LH)

      Disconnect the No. 2 floor wire connector from the front door wire LH.

    2. Connect the cable to the negative (-) battery terminal.

    3. Turn the engine switch on (IG).

    4. Measure the voltage according to the value(s) in the table below.

      Standard Voltage
      Tester Connection Condition Specified Condition
      NS1-21 (BDL+) - Body ground Engine switch on (IG) Below 1 V
      NS1-39 (BDL-) - Body ground Engine switch on (IG) Below 1 V
      Result
      Proceed to
      OK
      NG

    OK
    NG
  15. CHECK NO. 2 FLOOR WIRE (SHORT)


    1. B007Z20C12
      *1 Door Side Airbag Sensor LH
      *2 Rear Airbag Sensor LH
      *3 Front Door Wire LH
      *4 No. 2 Floor Wire
      *a

      Front view of wire harness connector

      (to Front Door Wire LH)

      Disconnect the No. 2 floor wire connector from the front door wire LH.

    2. Measure the resistance according to the value(s) in the table below.

      Standard Resistance
      Tester Connection Condition Specified Condition
      NS1-21 (BDL+) - NS1-39 (BDL-) Always 1 MΩ or higher
      Result
      Proceed to
      OK
      NG

    OK
    NG
  16. CHECK NO. 2 FLOOR WIRE (OPEN)


    1. B007YJKC10
      *1 Door Side Airbag Sensor LH
      *2 Rear Airbag Sensor LH
      *3 Front Door Wire LH
      *4 No. 2 Floor Wire
      *5 Service Wire
      *a

      Front view of wire harness connector

      (to Rear Airbag Sensor LH)

      *b

      Front view of wire harness connector

      (to Front Door Wire LH)

      Disconnect the No. 2 floor wire connector from the front door wire LH.

    2. Using a service wire, connect terminals 1 (BDL+) and 2 (BDL-) of connector B.

      Note

      Do not forcibly insert the service wire into the terminals of the connector when connecting the wire.

    3. Measure the resistance according to the value(s) in the table below.

      Standard Resistance
      Tester Connection Condition Specified Condition
      NS1-21 (BDL+) - NS1-39 (BDL-) Always Below 1 Ω
    4. Disconnect the service wire from connector B.

      Result
      Proceed to
      OK
      NG

    OK
    NG
  17. CHECK HISTORY DTC


    1. Check for history DTCs.

      Click here


      Body Electrical > SRS Airbag > Trouble Codes

      Tech Tips

      Codes other than history DTC B1637 may be output at this time, but they are not related to this check.

      Result
      Result Proceed to
      History DTC B1637 is not output. A
      History DTC B1637 is output. B

    B
    A
  18. CHECK CONNECTORS


    1. Turn the engine switch off.

    2. Disconnect the cable from the negative (-) battery terminal.

      CAUTION:

      Wait at least 90 seconds after disconnecting the cable from the negative (-) battery terminal to disable the SRS system.

    3. Check that the connectors are properly connected to the airbag sensor assembly, door side airbag sensor LH and rear airbag sensor LH. Also check that the connectors that link the No. 2 floor wire and front door wire LH are properly connected.

      OK
      The connectors are properly connected.

      Tech Tips

      If the connectors are not properly connected, reconnect the connectors and proceed to the next inspection.

    4. Disconnect the connectors from the airbag sensor assembly, door side airbag sensor LH and rear airbag sensor LH. Also disconnect the connectors that link the No. 2 floor wire and front door wire LH.

    5. Check that the terminals of the connectors are not deformed or damaged.

      OK
      The terminals are not deformed or damaged.
      Result
      Proceed to
      OK
      NG

    NG
    OK
  19. CHECK NO. 2 FLOOR WIRE (OPEN)


    1. B007XHHC18
      *1 Rear Airbag Sensor LH
      *2 Airbag Sensor Assembly
      *3 No. 2 Floor Wire
      *4 Service Wire
      *a

      Front view of wire harness connector

      (to Airbag Sensor Assembly)

      *b

      Front view of wire harness connector

      (to Rear Airbag Sensor LH)

      Using a service wire, connect terminals 24 (BBL+) and 23 (BBL-) of connector B.

      Note

      Do not forcibly insert the service wire into the terminals of the connector when connecting the wire.

    2. Measure the resistance according to the value(s) in the table below.

      Standard Resistance
      Tester Connection Condition Specified Condition
      S15-4 (BCL+) - S15-3 (BCL-) Always Below 1 Ω
    3. Disconnect the service wire from connector B.

      Result
      Proceed to
      OK
      NG

    NG
    OK
  20. CHECK NO. 2 FLOOR WIRE (SHORT)


    1. B007YN3C20
      *1 Rear Airbag Sensor LH
      *2 Airbag Sensor Assembly
      *3 No. 2 Floor Wire
      *a

      Front view of wire harness connector

      (to Rear Airbag Sensor LH)

      Measure the resistance according to the value(s) in the table below.

      Standard Resistance
      Tester Connection Condition Specified Condition
      S15-4 (BCL+) - S15-3 (BCL-) Always 1 MΩ or higher
      Result
      Proceed to
      OK
      NG

    NG
    OK
  21. CHECK NO. 2 FLOOR WIRE (SHORT TO B+)


    1. B007YN3C20
      *1 Rear Airbag Sensor LH
      *2 Airbag Sensor Assembly
      *3 No. 2 Floor Wire
      *a

      Front view of wire harness connector

      (to Rear Airbag Sensor LH)

      Connect the cable to the negative (-) battery terminal.

    2. Turn the engine switch on (IG).

    3. Measure the voltage according to the value(s) in the table below.

      Standard Voltage
      Tester Connection Condition Specified Condition
      S15-4 (BCL+) - Body ground Engine switch on (IG) Below 1 V
      S15-3 (BCL-) - Body ground Engine switch on (IG) Below 1 V
    4. Turn the engine switch off.

    5. Disconnect the cable from the negative (-) battery terminal.

      CAUTION:

      Wait at least 90 seconds after disconnecting the cable from the negative (-) battery terminal to disable the SRS system.

      Result
      Proceed to
      OK
      NG

    NG
    OK
  22. CHECK NO. 2 FLOOR WIRE (SHORT TO GROUND)


    1. B007YN3C20
      *1 Rear Airbag Sensor LH
      *2 Airbag Sensor Assembly
      *3 No. 2 Floor Wire
      *a

      Front view of wire harness connector

      (to Rear Airbag Sensor LH)

      Measure the resistance according to the value(s) in the table below.

      Standard Resistance
      Tester Connection Condition Specified Condition
      S15-4 (BCL+) - Body ground Always 1 MΩ or higher
      S15-3 (BCL-) - Body ground Always 1 MΩ or higher
      Result
      Proceed to
      OK
      NG

    NG
    OK
  23. CHECK WIRE HARNESS (OPEN)


    1. B00803FC05
      *1 Door Side Airbag Sensor LH
      *2 Rear Airbag Sensor LH
      *3 Service Wire
      *a

      Front view of wire harness connector

      (to Rear Airbag Sensor LH)

      *b

      Front view of wire harness connector

      (to Door Side Airbag Sensor LH)

      Connect the connectors that link the No. 2 floor wire and front door wire LH.

    2. Using a service wire, connect terminals 2 (BDL+) and 1 (BDL-) of connector E.

      Note

      Do not forcibly insert the service wire into the terminals of the connector when connecting the wire.

    3. Measure the resistance according to the value(s) in the table below.

      Standard Resistance
      Tester Connection Condition Specified Condition
      S15-1 (BDL+) - S15-2 (BDL-) Always Below 1 Ω
    4. Disconnect the service wire from connector E.

      Result
      Proceed to
      OK
      NG

    NG
    OK
  24. CHECK WIRE HARNESS (SHORT)


    1. B007X24C08
      *1 Door Side Airbag Sensor LH
      *2 Rear Airbag Sensor LH
      *a

      Front view of wire harness connector

      (to Rear Airbag Sensor LH)

      Measure the resistance according to the value(s) in the table below.

      Standard Resistance
      Tester Connection Condition Specified Condition
      S15-1 (BDL+) - S15-2 (BDL-) Always 1 MΩ or higher
      Result
      Proceed to
      OK
      NG

    NG
    OK
  25. CHECK WIRE HARNESS (SHORT TO B+)


    1. B007X24C08
      *1 Door Side Airbag Sensor LH
      *2 Rear Airbag Sensor LH
      *a

      Front view of wire harness connector

      (to Rear Airbag Sensor LH)

      Connect the cable to the negative (-) battery terminal.

    2. Turn the engine switch on (IG).

    3. Measure the voltage according to the value(s) in the table below.

      Standard Voltage
      Tester Connection Condition Specified Condition
      S15-1 (BDL+) - Body ground Engine switch on (IG) Below 1 V
      S15-2 (BDL-) - Body ground Engine switch on (IG) Below 1 V
    4. Turn the engine switch off.

    5. Disconnect the cable from the negative (-) battery terminal.

      CAUTION:

      Wait at least 90 seconds after disconnecting the cable from the negative (-) battery terminal to disable the SRS system.

      Result
      Proceed to
      OK
      NG

    NG
    OK
  26. CHECK WIRE HARNESS (SHORT TO GROUND)


    1. B007X24C08
      *1 Door Side Airbag Sensor LH
      *2 Rear Airbag Sensor LH
      *a

      Front view of wire harness connector

      (to Rear Airbag Sensor LH)

      Measure the resistance according to the value(s) in the table below.

      Standard Resistance
      Tester Connection Condition Specified Condition
      S15-1 (BDL+) - Body ground Always 1 MΩ or higher
      S15-2 (BDL-) - Body ground Always 1 MΩ or higher
      Result
      Proceed to
      OK
      NG

    NG
    OK
  27. CHECK REAR AIRBAG SENSOR LH


    1. B007XZQC01
      *1 Rear Airbag Sensor RH
      *2 Airbag Sensor Assembly

      Connect the connectors to the door side airbag sensor LH and airbag sensor assembly.

    2. Interchange the rear airbag sensor LH with RH and connect the connectors.

    3. Connect the cable to the negative (-) battery terminal.

    4. Clear the DTCs stored in memory.

      Click here


      Body Electrical > SRS Airbag > Clear DTCs
    5. Turn the engine switch off.

    6. Turn the engine switch on (IG), and wait for at least 60 seconds.

    7. Check for DTCs.

      Click here


      Body Electrical > SRS Airbag > Trouble Codes

      Tech Tips

      Codes other than DTCs B1633 and B1638 may be output at this time, but they are not related to this check.

      Result
      Result Proceed to
      DTC B1638 is output. A
      DTC B1633 is output. B
      DTCs B1633 and B1638 are not output. C
    8. Turn the engine switch off.

    9. Disconnect the cable from the negative (-) battery terminal.

      CAUTION:

      Wait at least 90 seconds after disconnecting the cable from the negative (-) battery terminal to disable the SRS system.

    10. Return the rear airbag sensor LH and RH to their original positions and connect the connectors.


    A
    B
    C
  28. CHECK NO. 2 FLOOR WIRE (SHORT TO GROUND)


    1. B007Z20C12
      *1 Door Side Airbag Sensor LH
      *2 Rear Airbag Sensor LH
      *3 Front Door Wire LH
      *4 No. 2 Floor Wire
      *a

      Front view of wire harness connector

      (to Front Door Wire LH)

      Disconnect the No. 2 floor wire connector from the front door wire LH.

    2. Measure the resistance according to the value(s) in the table below.

      Standard Resistance
      Tester Connection Condition Specified Condition
      NS1-21 (BDL+) - Body ground Always 1 MΩ or higher
      NS1-39 (BDL-) - Body ground Always 1 MΩ or higher
      Result
      Proceed to
      OK
      NG

    OK
    NG
  29. CHECK NO. 2 FLOOR WIRE (SHORT TO B+)


    1. B007Z20C12
      *1 Door Side Airbag Sensor LH
      *2 Rear Airbag Sensor LH
      *3 Front Door Wire LH
      *4 No. 2 Floor Wire
      *a

      Front view of wire harness connector

      (to Front Door Wire LH)

      Disconnect the No. 2 floor wire connector from the front door wire LH.

    2. Connect the cable to the negative (-) battery terminal.

    3. Turn the engine switch on (IG).

    4. Measure the voltage according to the value(s) in the table below.

      Standard Voltage
      Tester Connection Condition Specified Condition
      NS1-21 (BDL+) - Body ground Engine switch on (IG) Below 1 V
      NS1-39 (BDL-) - Body ground Engine switch on (IG) Below 1 V
      Result
      Proceed to
      OK
      NG

    OK
    NG
  30. CHECK NO. 2 FLOOR WIRE (SHORT)


    1. B007Z20C12
      *1 Door Side Airbag Sensor LH
      *2 Rear Airbag Sensor LH
      *3 Front Door Wire LH
      *4 No. 2 Floor Wire
      *a

      Front view of wire harness connector

      (to Front Door Wire LH)

      Disconnect the No. 2 floor wire connector from the front door wire LH.

    2. Measure the resistance according to the value(s) in the table below.

      Standard Resistance
      Tester Connection Condition Specified Condition
      NS1-21 (BDL+) - NS1-39 (BDL-) Always 1 MΩ or higher
      Result
      Proceed to
      OK
      NG

    OK
    NG
  31. CHECK NO. 2 FLOOR WIRE (OPEN)


    1. B007YJKC10
      *1 Door Side Airbag Sensor LH
      *2 Rear Airbag Sensor LH
      *3 Front Door Wire LH
      *4 No. 2 Floor Wire
      *5 Service Wire
      *a

      Front view of wire harness connector

      (to Rear Airbag Sensor LH)

      *b

      Front view of wire harness connector

      (to Front Door Wire LH)

      Disconnect the No. 2 floor wire connector from the front door wire LH.

    2. Using a service wire, connect terminals 1 (BDL+) and 2 (BDL-) of connector B.

      Note

      Do not forcibly insert the service wire into the terminals of the connector when connecting the wire.

    3. Measure the resistance according to the value(s) in the table below.

      Standard Resistance
      Tester Connection Condition Specified Condition
      NS1-21 (BDL+) - NS1-39 (BDL-) Always Below 1 Ω
    4. Disconnect the service wire from connector B.

      Result
      Proceed to
      OK
      NG

    OK
    NG
  32. CHECK REAR AIRBAG SENSOR LH


    1. B007XZQC01
      *1 Rear Airbag Sensor RH
      *2 Airbag Sensor Assembly

      Turn the engine switch off.

    2. Disconnect the cable from the negative (-) battery terminal.

      CAUTION:

      Wait at least 90 seconds after disconnecting the cable from the negative (-) battery terminal to disable the SRS system.

    3. Interchange the rear airbag sensor LH with RH and connect the connectors.

    4. Connect the cable to the negative (-) battery terminal.

    5. Clear the DTCs stored in memory.

      Click here


      Body Electrical > SRS Airbag > Clear DTCs
    6. Turn the engine switch off.

    7. Turn the engine switch on (IG), and wait for at least 60 seconds.

    8. Check for DTCs.

      Click here


      Body Electrical > SRS Airbag > Trouble Codes

      Tech Tips

      Codes other than DTCs B1632 and B1637 may be output at this time, but they are not related to this check.

      Result
      Result Proceed to
      DTC B1637 is output. A
      DTC B1632 is output. B
      DTCs B1632 and B1637 are not output. C
    9. Turn the engine switch off.

    10. Disconnect the cable from the negative (-) battery terminal.

      CAUTION:

      Wait at least 90 seconds after disconnecting the cable from the negative (-) battery terminal to disable the SRS system.

    11. Return the rear airbag sensor LH and RH to their original positions and connect the connectors.


    A
    B
    C
  33. CHECK CONNECTORS


    1. Turn the engine switch off.

    2. Disconnect the cable from the negative (-) battery terminal.

      CAUTION:

      Wait at least 90 seconds after disconnecting the cable from the negative (-) battery terminal to disable the SRS system.

    3. Check that the connectors are properly connected to the door side airbag sensor LH and rear airbag sensor LH. Also check that the connectors that link the No. 2 floor wire and front door wire LH are properly connected.

      OK
      The connectors are properly connected.

      Tech Tips

      If the connectors are not properly connected, reconnect the connectors and proceed to the next inspection.

    4. Disconnect the connectors from the door side airbag sensor LH and rear airbag sensor LH. Also disconnect the connectors that link the No. 2 floor wire and front door wire LH.

    5. Check that the terminals of the connectors are not deformed or damaged.

      OK
      The terminals are not deformed or damaged.
      Result
      Proceed to
      OK
      NG

    NG
    OK
  34. CHECK WIRE HARNESS (OPEN)


    1. B00803FC05
      *1 Door Side Airbag Sensor LH
      *2 Rear Airbag Sensor LH
      *3 Service Wire
      *a

      Front view of wire harness connector

      (to Rear Airbag Sensor LH)

      *b

      Front view of wire harness connector

      (to Door Side Airbag Sensor LH)

      Connect the connectors that link the No. 2 floor wire and front door wire LH.

    2. Using a service wire, connect terminals 2 (BDL+) and 1 (BDL-) of connector E.

      Note

      Do not forcibly insert the service wire into the terminals of the connector when connecting the wire.

    3. Measure the resistance according to the value(s) in the table below.

      Standard Resistance
      Tester Connection Condition Specified Condition
      S15-1 (BDL+) - S15-2 (BDL-) Always Below 1 Ω
    4. Disconnect the service wire from connector E.

      Result
      Proceed to
      OK
      NG

    NG
    OK
  35. CHECK WIRE HARNESS (SHORT)


    1. B007X24C08
      *1 Door Side Airbag Sensor LH
      *2 Rear Airbag Sensor LH
      *a

      Front view of wire harness connector

      (to Rear Airbag Sensor LH)

      Measure the resistance according to the value(s) in the table below.

      Standard Resistance
      Tester Connection Condition Specified Condition
      S15-1 (BDL+) - S15-2 (BDL-) Always 1 MΩ or higher
      Result
      Proceed to
      OK
      NG

    NG
    OK
  36. CHECK WIRE HARNESS (SHORT TO B+)


    1. B007X24C08
      *1 Door Side Airbag Sensor LH
      *2 Rear Airbag Sensor LH
      *a

      Front view of wire harness connector

      (to Rear Airbag Sensor LH)

      Connect the cable to the negative (-) battery terminal.

    2. Turn the engine switch on (IG).

    3. Measure the voltage according to the value(s) in the table below.

      Standard Voltage
      Tester Connection Condition Specified Condition
      S15-1 (BDL+) - Body ground Engine switch on (IG) Below 1 V
      S15-2 (BDL-) - Body ground Engine switch on (IG) Below 1 V
    4. Turn the engine switch off.

    5. Disconnect the cable from the negative (-) battery terminal.

      CAUTION:

      Wait at least 90 seconds after disconnecting the cable from the negative (-) battery terminal to disable the SRS system.

      Result
      Proceed to
      OK
      NG

    NG
    OK
  37. CHECK WIRE HARNESS (SHORT TO GROUND)


    1. B007X24C08
      *1 Door Side Airbag Sensor LH
      *2 Rear Airbag Sensor LH
      *a

      Front view of wire harness connector

      (to Rear Airbag Sensor LH)

      Measure the resistance according to the value(s) in the table below.

      Standard Resistance
      Tester Connection Condition Specified Condition
      S15-1 (BDL+) - Body ground Always 1 MΩ or higher
      S15-2 (BDL-) - Body ground Always 1 MΩ or higher
      Result
      Proceed to
      OK
      NG

    NG
    OK
  38. CHECK REAR AIRBAG SENSOR LH


    1. B007XZQC01
      *1 Rear Airbag Sensor RH
      *2 Airbag Sensor Assembly

      Connect the connector to the door side airbag sensor LH.

    2. Interchange the rear airbag sensor LH with RH and connect the connectors.

    3. Connect the cable to the negative (-) battery terminal.

    4. Clear the DTCs stored in memory.

      Click here


      Body Electrical > SRS Airbag > Clear DTCs
    5. Turn the engine switch off.

    6. Turn the engine switch on (IG), and wait for at least 60 seconds.

    7. Check for DTCs.

      Click here


      Body Electrical > SRS Airbag > Trouble Codes

      Tech Tips

      Codes other than DTCs B166D, B166E, B167B and B167C may be output at this time, but they are not related to this check.

      Result
      Result Proceed to
      DTC B167B or B167C is output. A
      DTC B166D or B166E is output. B
      DTCs B166D, B166E, B167B and B167C are not output. C
    8. Turn the engine switch off.

    9. Disconnect the cable from the negative (-) battery terminal.

      CAUTION:

      Wait at least 90 seconds after disconnecting the cable from the negative (-) battery terminal to disable the SRS system.

    10. Return the rear airbag sensor LH and RH to their original positions and connect the connectors.


    B
    C
    A
  39. CHECK DOOR SIDE AIRBAG SENSOR LH


    1. B007Y2UC02
      *1 Door Side Airbag Sensor RH
      *2 Rear Airbag Sensor LH

      Interchange the door side airbag sensor LH with RH and connect the connectors.

    2. Connect the cable to the negative (-) battery terminal.

    3. Clear the DTCs stored in memory.

      Click here


      Body Electrical > SRS Airbag > Clear DTCs
    4. Turn the engine switch off.

    5. Turn the engine switch on (IG), and wait for at least 60 seconds.

    6. Check for DTCs.

      Click here


      Body Electrical > SRS Airbag > Trouble Codes

      Tech Tips

      Codes other than DTCs B166D, B166E, B167B and B167C may be output at this time, but they are not related to this check.

      Result
      Result Proceed to
      DTC B167B or B167C is output. A
      DTC B166D or B166E is output. B
      DTCs B166D, B166E, B167B and B167C are not output. C
    7. Turn the engine switch off.

    8. Disconnect the cable from the negative (-) battery terminal.

      CAUTION:

      Wait at least 90 seconds after disconnecting the cable from the negative (-) battery terminal to disable the SRS system.

    9. Return the door side airbag sensor LH and RH to their original positions and connect the connectors.


    A
    B
    C
  40. CHECK NO. 2 FLOOR WIRE (SHORT TO GROUND)


    1. B007Z20C12
      *1 Door Side Airbag Sensor LH
      *2 Rear Airbag Sensor LH
      *3 Front Door Wire LH
      *4 No. 2 Floor Wire
      *a

      Front view of wire harness connector

      (to Front Door Wire LH)

      Disconnect the No. 2 floor wire connector from the front door wire LH.

    2. Measure the resistance according to the value(s) in the table below.

      Standard Resistance
      Tester Connection Condition Specified Condition
      NS1-21 (BDL+) - Body ground Always 1 MΩ or higher
      NS1-39 (BDL-) - Body ground Always 1 MΩ or higher
      Result
      Proceed to
      OK
      NG

    OK
    NG
  41. CHECK NO. 2 FLOOR WIRE (SHORT TO B+)


    1. B007Z20C12
      *1 Door Side Airbag Sensor LH
      *2 Rear Airbag Sensor LH
      *3 Front Door Wire LH
      *4 No. 2 Floor Wire
      *a

      Front view of wire harness connector

      (to Front Door Wire LH)

      Disconnect the No. 2 floor wire connector from the front door wire LH.

    2. Connect the cable to the negative (-) battery terminal.

    3. Turn the engine switch on (IG).

    4. Measure the voltage according to the value(s) in the table below.

      Standard Voltage
      Tester Connection Condition Specified Condition
      NS1-21 (BDL+) - Body ground Engine switch on (IG) Below 1 V
      NS1-39 (BDL-) - Body ground Engine switch on (IG) Below 1 V
      Result
      Proceed to
      OK
      NG

    OK
    NG
  42. CHECK NO. 2 FLOOR WIRE (SHORT)


    1. B007Z20C12
      *1 Door Side Airbag Sensor LH
      *2 Rear Airbag Sensor LH
      *3 Front Door Wire LH
      *4 No. 2 Floor Wire
      *a

      Front view of wire harness connector

      (to Front Door Wire LH)

      Disconnect the No. 2 floor wire connector from the front door wire LH.

    2. Measure the resistance according to the value(s) in the table below.

      Standard Resistance
      Tester Connection Condition Specified Condition
      NS1-21 (BDL+) - NS1-39 (BDL-) Always 1 MΩ or higher
      Result
      Proceed to
      OK
      NG

    OK
    NG
  43. CHECK NO. 2 FLOOR WIRE (OPEN)


    1. B007YJKC10
      *1 Door Side Airbag Sensor LH
      *2 Rear Airbag Sensor LH
      *3 Front Door Wire LH
      *4 No. 2 Floor Wire
      *5 Service Wire
      *a

      Front view of wire harness connector

      (to Rear Airbag Sensor LH)

      *b

      Front view of wire harness connector

      (to Front Door Wire LH)

      Disconnect the No. 2 floor wire connector from the front door wire LH.

    2. Using a service wire, connect terminals 1 (BDL+) and 2 (BDL-) of connector B.

      Note

      Do not forcibly insert the service wire into the terminals of the connector when connecting the wire.

    3. Measure the resistance according to the value(s) in the table below.

      Standard Resistance
      Tester Connection Condition Specified Condition
      NS1-21 (BDL+) - NS1-39 (BDL-) Always Below 1 Ω
    4. Disconnect the service wire from connector B.

      Result
      Proceed to
      OK
      NG

    OK
    NG
  44. CHECK REAR AIRBAG SENSOR LH


    1. B007XZQC01
      *1 Rear Airbag Sensor RH
      *2 Airbag Sensor Assembly

      Turn the engine switch off.

    2. Disconnect the cable from the negative (-) battery terminal.

      CAUTION:

      Wait at least 90 seconds after disconnecting the cable from the negative (-) battery terminal to disable the SRS system.

    3. Interchange the rear airbag sensor LH with RH and connect the connectors.

    4. Connect the cable to the negative (-) battery terminal.

    5. Clear the DTCs stored in memory.

      Click here


      Body Electrical > SRS Airbag > Clear DTCs
    6. Turn the engine switch off.

    7. Turn the engine switch on (IG), and wait for at least 60 seconds.

    8. Check for DTCs.

      Click here


      Body Electrical > SRS Airbag > Trouble Codes

      Tech Tips

      Codes other than DTCs B1632 and B1637 may be output at this time, but they are not related to this check.

      Result
      Result Proceed to
      DTC B1637 is output. A
      DTC B1632 is output. B
      DTCs B1632 and B1637 are not output. C
    9. Turn the engine switch off.

    10. Disconnect the cable from the negative (-) battery terminal.

      CAUTION:

      Wait at least 90 seconds after disconnecting the cable from the negative (-) battery terminal to disable the SRS system.

    11. Return the rear airbag sensor LH and RH to their original positions and connect the connectors.


    A
    B
    C