ГОЛОВКА БЛОКА ЦИЛИНДРОВ ЗАМЕНА

ПОРЯДОК ВЫПОЛНЕНИЯ

  1. ЗАМЕНИТЕ НАПРАВЛЯЮЩУЮ ВТУЛКУ ВПУСКНОГО КЛАПАНА

    1. Нагрейте головку блока цилиндров в сборе до температуры порядка 80–100°C (176–212°F).

    2. Поместите головку блока цилиндров в сборе на деревянные бруски.

    3. A194970E01

      С помощью SST и молотка установите направляющую втулку впускного клапана.

      09201-01055

      09950-70010

      09951-07100

    4. С помощью индикатора часового типа для отверстий измерьте диаметр отверстия для втулки в головке блока цилиндров.

      Номинальный диаметр отверстия втулки

      10,285-10,306 мм (0,405-0,406 дюйма)

      Если диаметр отверстия для втулки в головке блока цилиндров находится в диапазоне 10,285–10,306 мм (0,405–0,406 дюйма), перейдите к следующему шагу.

      Если диаметр отверстия для втулки в головке блока цилиндров в сборе превышает 10,356 мм (0,408 дюйма), замените головку блока цилиндров в сборе.

    5. Выберите новую направляющую втулку впускного клапана (номинальный размер или ремонтный размер 0,05) и измерьте ее диаметр.

    6. Расточите гнездо для втулки головки блока цилиндров в сборе в соответствии с диаметром выбранной направляющей втулки впускного клапана.

      Диаметр гнезда втулки

      Размер втулки

      Номинальное сопротивление

      Номинальное значение

      10,333 - 10,344 мм (0,4068 - 0,4072 дюйма)

      Наружный 0,05

      10,383-10,394 мм (0,4088-0,4092 дюйма)

      Номинальная длина втулки

      41,3 - 41,7 мм (1,626 - 1,642 дюйма)

    7. Нагрейте головку блока цилиндров в сборе до температуры порядка 80–100°C (176–212°F).

    8. A194972C14

      *a

      Высота выступания

      С помощью SST и молотка запрессуйте выбранную направляющую втулку впускного клапана, обеспечив номинальную высоту выступа.

      09201-10000

      09201-01050

      09950-70010

      09951-07100

      Номинальная высота выступания

      14,8 - 15,2 мм (0,583 - 0,598 дюйма)

    9. A194973

      С помощью острой развертки на 5,5 мм разверните направляющую втулку впускного клапана до получения номинального масляного зазора между направляющей втулкой и штоком клапана впускного клапана.

      Номинальный масляный зазор

      0,025 – 0,060 мм (0,000984 – 0,00236 дюйма)

  2. ЗАМЕНИТЕ НАПРАВЛЯЮЩУЮ ВТУЛКУ ВЫПУСКНОГО КЛАПАНА

    1. Нагрейте головку блока цилиндров в сборе до температуры порядка 80–100°C (176–212°F).

    2. Поместите головку блока цилиндров в сборе на деревянные бруски.

    3. A246228E01

      С помощью SST и молотка установите направляющую втулку выпускного клапана.

      09201-01055

      09950-70010

      09951-07100

    4. С помощью индикатора часового типа для отверстий измерьте диаметр отверстия для втулки в головке блока цилиндров.

      Номинальный диаметр отверстия втулки

      10,285-10,306 мм (0,405-0,406 дюйма)

      Если диаметр отверстия для втулки в головке блока цилиндров находится в диапазоне 10,285–10,306 мм (0,405–0,406 дюйма), перейдите к следующему шагу.

      Если диаметр отверстия для втулки в головке блока цилиндров в сборе превышает 10,356 мм (0,408 дюйма), замените головку блока цилиндров в сборе.

    5. Выберите новую направляющую втулку выпускного клапана (номинальный размер или ремонтный размер 0,05) и измерьте ее диаметр.

    6. Расточите гнездо для втулки головки блока цилиндров в сборе в соответствии с диаметром выбранной направляющей втулки выпускного клапана.

      Диаметр гнезда втулки

      Размер втулки

      Номинальное сопротивление

      Номинальный

      10,333 - 10,344 мм (0,4068 - 0,4072 дюйма)

      Наружный 0,05

      10,383-10,394 мм (0,4088-0,4092 дюйма)

      Номинальная длина втулки

      46,8 - 47,2 мм (1,843 - 1,858 дюйма)

    7. Нагрейте головку блока цилиндров в сборе до температуры порядка 80–100°C (176–212°F).

    8. A285337C08

      *a

      Высота выступания

      С помощью SST и молотка запрессуйте выбранную направляющую втулку выпускного клапана, обеспечив номинальную высоту выступа.

      09201-10000

      09201-01050

      09950-70010

      09951-07100

      Номинальная высота выступания

      14,2 - 14,6 мм (0,559 - 0,575 дюйма)

    9. A246230

      С помощью острой развертки на 5,5 мм разверните направляющую втулку выпускного клапана до получения номинального зазора между направляющей втулкой и штоком клапана.

      Номинальный масляный зазор

      0,030 - 0,065 мм (0,00118 - 0,00256 дюйма)

  3. ЗАМЕНИТЕ ТРУБКУ СВЕЧНОГО КОЛОДЦА

    Tip:

    Если устанавливается новая головка блока цилиндров, трубки свечных колодцев должны быть заменены.

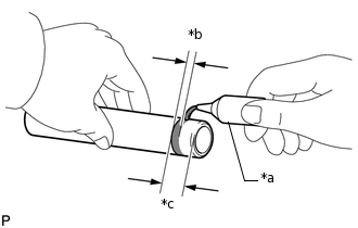
    1. A194988C08

      *a

      Фиксатор

      *b

      Ширина нанесения

      *c

      Расстояние

      Нанесите герметик на участок (заштрихованный на рисунке) новой трубки свечного колодца.

      Фиксатор

      Фирменный герметик 1324 от компании Toyota, Three Bond 1324 или аналогичный.

      Номинальная рабочая ширина

      1,0 - 3,0 мм (0,0394 - 0,1181 дюйма)

      Расстояние

      1,0 - 7,0 мм (0,0394 - 0,2756 дюйма)

      Note:
      • Установите свечной колодец в течение трех минут после нанесения фиксатора.

      • Следует действовать осторожно, чтобы не повредить трубку свечного колодца.

      • В течение 1 часа после установки не допускайте попадания на уплотнение охлаждающей жидкости.

    2. A194971C14

      *a

      Высота выступания

      С помощью деревянного бруска и молотка вбейте трубку свечного колодца до достижения заданной высоты выступания.

      Номинальная высота выступания

      112 мм (4,41 дюйма)

      Note:

      Чтобы не запрессовать трубку свечного колодца слишком глубоко, во время посадки измеряйте высоту выступания.

  4. ЗАМЕНИТЕ СОЕДИНИТЕЛЬНОЕ КОЛЬЦО

    Note:

    Снимать соединительные кольца нужно только для их замены.

    1. Снимите соединительные кольца.

    2. A194963C06

      *a

      Высота выступания

      Используя молоток с пластмассовым покрытием, вбейте новые соединительные кольца в головку блока цилиндров.

      Номинальная высота выступания

      6,5-7,5 мм (0,256-0,295 дюйма)