STARTER (for 1.6 kW Type) INSPECTION


  1. INSPECT STARTER ASSEMBLY

    CAUTION:

    As a large electric current passes through the cable during this inspection, a thick cable must be used. If not, the cable may become hot and cause injury.

    Note

    The following tests must be done within 3 to 5 seconds to prevent the coil from burning out.


    1. Mount the starter assembly in a vise between aluminum plates.

    2. Perform the pull-in test.


      1. A01E0KE

        Remove the nut and disconnect the lead wire from terminal C.

      2. A01DV2RE01
        Text in Illustration
        *1 Terminal C
        *2 Terminal 50
        A01E2TX Move

        Connect the battery to the magnet starter switch as shown in the illustration. Check that the clutch pinion gear extends.

        If the clutch pinion gear does not move, replace the magnet starter switch assembly.

    3. Perform the holding test.


      1. A01DW93E01
        Text in Illustration
        *1 Terminal C
        A01E2TX Disconnect

        Maintain the battery connections of the pull-in test above, but disconnect the negative (-) lead from terminal C. Check that the pinion gear remains extended.

        If the clutch pinion gear returns inward, replace the magnet starter switch assembly.

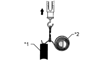
    4. Inspect the clutch pinion gear return.


      1. A01E34J

        Disconnect the negative (-) lead from the starter body. Check that the clutch pinion gear returns.

        Text in Illustration
        A01E2TX Disconnect
        A01DZ8Z Move

        If the clutch pinion gear does not return, replace the magnet starter switch assembly.

    5. Perform the no-load performance test.


      1. Connect the lead wire to terminal C with the nut. Make sure that the lead wire is not grounded.

        Torque:
        10 N*m  { 102 kgf*cm, 7 ft.*lbf }
      2. Mount the starter assembly in a vise between aluminum plates.

      3. A01DXNYE01
        Text in Illustration
        *1 Terminal 30
        *2 Terminal 50
        *3 Ammeter Probe
        A01E2TX Move

        Connect the battery and an ammeter probe to the starter as shown in the illustration.

      4. Check that the starter rotates smoothly and steadily while the pinion gear is moving out. Then measure the current.

        Standard current
        90 A or less at 11.5 V

        If the result is not as specified, replace the starter assembly.

  2. INSPECT STARTER ARMATURE ASSEMBLY


    1. Check the commutator for dirt and/or burns on the surface.

      If the surface is dirty or burnt, correct it with 400-grit sandpaper or a lathe.

    2. A01DVHME03
      Text in Illustration
      *1 Segment

      Inspect the commutator for an open circuit.


      1. Measure the resistance according to the value(s) in the table below.

        Standard Resistance
        Tester Connection Condition Specified Condition
        Segment - Segment Always Below 1 Ω

        If the result is not as specified, replace the starter armature assembly.

    3. A01E127E03
      Text in Illustration
      *1 Segment
      *2 Armature Coil Core

      Inspect the commutator for a short circuit.


      1. Measure the resistance according to the value(s) in the table below.

        Standard Resistance
        Tester Connection Condition Specified Condition
        Segment - Armature coil core Always 10 kΩ or higher

        If the result is not as specified, replace the starter armature assembly.

    4. A01E0OI

      Using a vernier caliper, measure the commutator diameter.

      Standard diameter
      29.0 mm (1.14 in.)
      Minimum diameter
      28.0 mm (1.10 in.)

      If the diameter is less than the minimum, replace the starter armature assembly.

    5. A01E1AK

      Check the commutator circle runout.


      1. Place the shaft of the starter armature on V-blocks.

      2. Using a dial indicator, measure the circle runout.

        Maximum commutator runout
        0.05 mm (0.00197 in.)

        If the runout is more than the maximum, replace the starter armature assembly.

    6. A01E20M

      Measure the undercut depth of the commutator.

      Standard undercut depth
      0.7 mm (0.0276 in.)
      Minimum undercut depth
      0.2 mm (0.00787 in.)

      If the undercut depth is less than the minimum, correct it with a hacksaw blade.

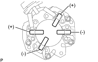
  3. INSPECT STARTER BRUSH HOLDER ASSEMBLY


    1. Using a vernier caliper, measure the brush length.

      A01DYDDE01
      Text in Illustration
      *1 Brush *2 Spring
      *3 Length - -
      Standard length
      14.4 mm (0.567 in.)
      Minimum length
      9.0 mm (0.354 in.)

      If the length is less than the minimum, replace the starter brush holder assembly and starter yoke assembly.

    2. A01E0IDE15
      Text in Illustration
      *1 Brush
      *2 Brush Spring

      Inspect the load of the brush spring.


      1. Take a pull scale reading immediately after the brush spring separates from the brush.

        Standard spring load
        16 to 20 N (1.7 to 2.0 kgf, 3.6 to 4.5 lbf)
        Minimum spring load
        6.7 N (0.7 kgf, 1.5 lbf)

        If the load is less than the minimum, replace the starter brush holder assembly.

  4. INSPECT STARTER BRUSH HOLDER ASSEMBLY


    1. A01E07QE01

      Inspect the insulation.


      1. Measure the resistance according to the value(s) in the table below.

        Standard Resistance
        Tester Connection Condition Specified Condition
        Positive brush holder - Negative brush holder Always 10 kΩ or higher

        If the result is not as specified, replace the starter brush holder assembly.

  5. INSPECT STARTER CENTER BEARING CLUTCH SUB-ASSEMBLY


    1. Check the gear teeth of the planetary gears and starter center bearing clutch for wear or damage.

      If any planetary gear is damaged, replace the planetary gear assembly.

      If any gear of the starter center bearing clutch is damaged, replace the starter center bearing clutch sub-assembly.

    2. A01E1FO

      Check the movement of the clutch pinion gear.

      Text in Illustration
      A01E2TX Free
      A01DZ8Z Lock

      1. Rotate the clutch pinion gear clockwise and check that it turns freely.

      2. Try to rotate the clutch pinion gear counterclockwise and check that it locks.

        If the clutch pinion gear cannot be turned clockwise smoothly, or does not lock in the counterclockwise direction, replace the starter center bearing clutch sub-assembly.

  6. INSPECT MAGNET STARTER SWITCH ASSEMBLY


    1. A01E12K

      Push in the plunger and check that it returns quickly to its original position.

      If the result is not as specified, replace the magnet starter switch assembly.

    2. A01DWY5E04
      Text in Illustration
      *1 Terminal 50
      *2 Terminal C

      Check the pull-in coil for an open circuit.


      1. Measure the resistance according to the value(s) in the table below.

        Standard Resistance
        Tester Connection Condition Specified Condition
        Terminal 50 - Terminal C Always Below 1 Ω

        If the result is not as specified, replace the magnet starter switch assembly.

    3. A01E1SWE04
      Text in Illustration
      *1 Terminal 50
      *2 Switch Body

      Check the holding coil for an open circuit.


      1. Measure the resistance according to the value(s) in the table below.

        Standard Resistance
        Tester Connection Condition Specified Condition
        Terminal 50 - Switch body Always Below 2 Ω

        If the result is not as specified, replace the magnet starter switch assembly.