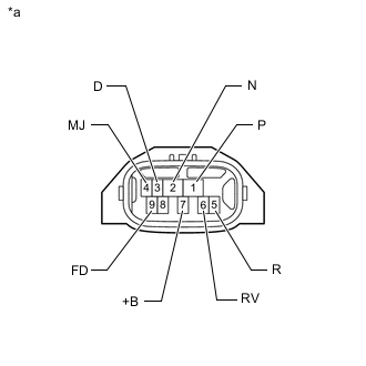
| 7 (+B) - 1 (P) 7 (+B) - 4 (MJ) |
Shift lever in P |
Below 1 Ω |
| 7 (+B) - 3 (D) 7 (+B) - 5 (R) 7 (+B) - 9 (FD) 7 (+B) - 6 (RV) |
Shift lever in P |
10 kΩ or higher |
| 7 (+B) - 2 (N) |
Shift lever in P |
4.2 to 5.2 kΩ |
| 7 (+B) - 5 (R) 7 (+B) - 4 (MJ) 7 (+B) - 6 (RV) |
Shift lever in R |
Below 1 Ω |
| 7 (+B) - 3 (D) 7 (+B) - 1 (P) 7 (+B) - 9 (FD) |
Shift lever in R |
10 kΩ or higher |
| 7 (+B) - 2 (N) |
Shift lever in R |
4.2 to 5.2 kΩ |
| 7 (+B) - 2 (N) 7 (+B) - 4 (MJ) |
Shift lever in N |
Below 1 Ω |
| 7 (+B) - 3 (D) 7 (+B) - 1 (P) 7 (+B) - 5 (R) 7 (+B) - 9 (FD) 7 (+B) - 6 (RV) |
Shift lever in N |
10 kΩ or higher |
| 7 (+B) - 3 (D) 7 (+B) - 9 (FD) 7 (+B) - 4 (MJ) |
Shift lever in D or S |
Below 1 Ω |
| 7 (+B) - 1 (P) 7 (+B) - 5 (R) 7 (+B) - 6 (RV) |
Shift lever in D or S |
10 kΩ or higher |
| 7 (+B) - 2 (N) |
Shift lever in D or S |
4.2 to 5.2 kΩ |