ELECTRONIC SHIFT LEVER SYSTEM


  1. FUNCTION OF MAIN COMPONENTS


    1. The main components of the electronic shift lever system have the following functions:

      Component Function
      Shift Lever (Shift Lock Control Unit Assembly) Shift Lever Position Sensor (Select Sensor) Detects the shift lever position (R, N, D or B), and transmits information about it (lateral movement) to the hybrid vehicle control ECU.
      Shift Lever Position Sensor (Shift Sensor) Detects the shift lever position (R, N, D or B), and transmits information about it (longitudinal movement) to the hybrid vehicle control ECU.
      P Position Switch (Transmission Shift Main Switch) As this switch turns on, it detects the driver's intention to operate the parking lock, and sends a signal to the hybrid vehicle control ECU.
      P Position Indicator Light Comes on when the parking lock is engaged, and goes off when the parking lock is disengaged.
      Shift Control Actuator Assembly Engages or disengages the transaxle parking lock mechanism.
      Hybrid Vehicle Control ECU Controls MG1, MG2 and the engine in accordance with each shift position, based on signals from the shift lever position sensor, P position switch (transmission shift main switch) and various ECUs. In addition, it sends a parking lock or unlock request signal to the transmission control ECU assembly.
      Transmission Control ECU Assembly
      • Drives the shift control actuator assembly in accordance with the parking lock or unlock request signal from the hybrid vehicle control ECU.

      • Receives the gearshift control lock/unlock signal from the ID code box (immobiliser code ECU), and activates/deactivates the gearshift control lock.

      Certification ECU (Smart Key ECU Assembly) Verifies the ID code output from the key.
      ID Code Box (Immobiliser Code ECU) Compares the ID code.
      Combination Meter Sub-assembly Shift Position Indicator Based on the shift state selected by the driver, the indicator is illuminated in accordance with shift position signals from the hybrid vehicle control ECU and transmission control ECU assembly.
      P Position Request Indicator Light*1 Blinks to warn the driver when the power switch is on (READY), neutral (N), drive (D) or brake (B) is selected, and the driver door is opened.
      P Position Control System Advisory Message*1 Displays a warning message to alert the driver in accordance with a signal provided by the hybrid vehicle control ECU and transmission control ECU assembly.
      P Position Control System Warning Indicator Light*1 Illuminates when a system abnormality is detected.
      Multi-information Display*2
      • Displays a warning message to alert the driver in accordance with a signal provided by the hybrid vehicle control ECU and transmission control ECU assembly.

      • The master warning light may illuminate depending on the message displayed on the multi-information display.

      Buzzer
      • Sounds to alert the driver when the reject function is activated.

      • Sounds to alert the driver of a malfunction in the system.

      *1: Models without multi-information display

      *2: Models with multi-information display

  2. SYSTEM CONTROL


    1. Shift Control


      1. The hybrid vehicle control ECU controls MG1, MG2 and the engine according to the shift state (R, N, D or B) it determined using signals from the shift lever position sensors and the switch on signal from the P position switch (transmission shift main switch). In addition, the hybrid vehicle control ECU sends a parking lock or unlock request signal to the transmission control ECU assembly.

      2. The transmission control ECU assembly drives the shift control actuator assembly based on the parking lock or unlock request signal from the hybrid vehicle control ECU to engage or disengage the parking lock mechanism. In addition, it sends a park (P) position signal to the hybrid vehicle control ECU.

      3. When the vehicle is being driven under normal conditions, any shift state can be selected, provided that the reject function has not been tripped.

      4. When the power switch is turned off with the vehicle stopped, the shift state is automatically changed to park (P).

      5. The table below shows the shift state that results from shift lever and P position switch (transmission shift main switch) operation according to the power source status.

        A00516RE07
  3. FUNCTION


    1. Reject Function


      1. To ensure safety, this system might not change the shift state even if the driver operates the shift lever or P position switch (transmission shift main switch). In that case, it sounds a reject buzzer and changes the shift state as shown in the following table.

        Reject Function Operation Conditions and Displayed Notifications
        Shift Operation which Causes Reject Function to Operate Shift State After Rejection Multi-information Display*
        The driver attempts to perform a shift operation when the auxiliary battery voltage is insufficient. Current shift state is maintained

        INSUFFICIENTLY

        CHARGED

        AUXILIARY BATTERY.

        THE GEARS CANNOT

        BE CHANGED.

        SEE OWNER'S MANUAL.

        The driver attempts to change shift state repeatedly between park (P) and another state within a short period of time. Held in P state

        SHIFTING TEMPORARILY

        UNAVAILABLE.

        WAIT A MOMENT

        AND TRY AGAIN

        The driver attempts to change the shift state from park (P) to brake (B). Held in P state

        CANNOT SHIFT TO [B].

        SHIFT TO [D] ONCE

        TO SHIFT TO [B]

        The driver attempts to change the shift state from neutral (N) to brake (B). Held in N state

        CANNOT SHIFT TO [B].

        SHIFT TO [D] ONCE

        TO SHIFT TO [B]

        The driver attempts to change the shift state to drive (D), reverse (R) or brake (B) when the power switch is on (IG) and the ready indicator is not illuminated. Current shift state is maintained

        CANNOT SHIFT TO

        [D] OR [R].

        SHIFT AFTER

        HYBRID SYSTEM STARTS

        The driver attempts to change the shift state out of park (P) without depressing the brake pedal. Held in P state

        SHIFTING UNAVAILABLE.

        PRESS BRAKE PEDAL

        BEFORE SHIFTING

        The driver attempts to change the shift state from reverse (R) to brake (B). Changed to N state

        SWITCHED TO [N].

        SHIFT TO [D] ONCE TO

        SHIFT TO [B]

        The driver attempts to change the shift state from reverse (R) to drive (D) while moving backward. Changed to N state

        SWITCHED TO [N].

        TO SHIFT TO [D],

        STOP CAR FIRST

        The driver attempts to change the shift state from drive (D) or brake (B) to reverse (R) while moving forward. Changed to N state

        SWITCHED TO [N].

        TO SHIFT TO [R],

        STOP CAR FIRST

        The driver attempts to change the shift state to park (P) with the P position switch operation while the vehicle is moving. Changed to N state

        SWITCHED TO [N].

        TO SHIFT TO [P],

        STOP CAR AND

        PRESS [P] SWITCH.

        *: Models with multi-information display

    2. Shift Position Indicator


      1. The shift lever is designed to always return to its home position. Therefore, the shift state that is currently selected can be checked on the shift position indicator, which is provided in the combination meter sub-assembly.

      2. In this system, engine braking is provided when brake (B) is selected. Therefore, changing to brake (B) from a state other than drive (D) is prohibited. Accordingly, if a state other than drive (D) or brake (B) has been selected, the B indicator will turn off to help prevent the driver from inadvertently moving the shift lever to B.

        A0051ANE02
        Text in Illustration
        *a Displayed when drive (D) has been selected. *b Displayed when reverse (R) has been selected.
  4. CONSTRUCTION


    1. Shift Lever (Shift Lock Control Unit Assembly)


      1. The shift lever (shift lock control unit assembly) is a momentary shift type in which the reactive force of a spring returns the lever to its home position when the driver's hand is released from the shift knob after a shifting operation.

      2. The shift lever (shift lock control unit assembly) has built-in select and shift sensors that are used to detect the shift lever position (R, N, D or B).

        A00515CE03
        Text in Illustration
        *1 Shift Lever Position Sensor (Select Sensor) *2 Shift Lever Position Sensor (Shift Sensor)
        *3 Home Position - -
    2. Shift Lever Position Sensor


      1. The shift lever position sensors for detecting the shift lever position (R, N, D or B) are built into the shift lever (shift lock control unit assembly) .

      2. The shift lever position sensor consists of a select sensor that detects the lateral movement of the shift lever, and a shift sensor that detects the longitudinal movement of the shift lever.

      3. The select sensor uses MR ICs for position detection.

      4. The shift sensor uses Hall ICs for position detection.

      5. The select sensor MR ICs contain 2 circuits, one for the main signal, and one for the sub signal. The MR ICs convert the shift position into electric signals that have differing characteristics and outputs them to the hybrid vehicle control ECU.

      6. The shift sensor Hall ICs contain 2 circuits, one for the main signal, and one for the sub signal. The Hall ICs convert the shift position into electric signals that have differing characteristics and send them to the hybrid vehicle control ECU.

        A0050QEE05
        Text in Illustration
        *1 Shift Lever Position Sensor (Select Sensor) *2 Shift Lever Position Sensor (Shift Sensor)
        *3 Magnetic Slider *4 MR IC
        *5 Hall IC *6 Magnetic Yoke
        A0051ARE07
        A00512WE14
      7. The hybrid vehicle control ECU selects the shift state in accordance with the combination of signals from the select sensor and the shift sensor as shown in the following table:

        Selected Shift State

        Select Sensor Detection Position

        (Lateral Movement)

        Shift Sensor Detection Position

        (Longitudinal Movement)

        R R-N-D Side R Side
        N R-N-D Side Home Position
        D R-N-D Side B-D Side
        B Home Position B-D Side
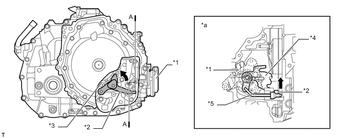
    3. Shift Control Actuator Assembly


      1. The shift control actuator assembly consists of a switched reluctance motor and a cycloid reduction mechanism.

      2. The shift control actuator assembly is mounted on the side of the hybrid vehicle transaxle assembly. Upon receiving an actuation signal from the transmission control ECU assembly, the motor rotates to engage or disengage the parking lock mechanism. As a result, the transaxle is locked or unlocked mechanically.

      3. The switched reluctance motor is mainly composed of a coil, a stator, rotor and rotation angle sensor. Brushes and permanent magnets are not used.

      4. The rotation angle sensor consists of 2 Hall ICs. The 2 of them, one for phase A, and one for phase B, are used to detect the rotation angle of the motor.

        A00516FE07
        Text in Illustration
        *1 Stator *2 Coil
        *3 Rotor *4 Rotation Angle Sensor
        *5 Cycloid Reduction Mechanism - -
        *a A-A Cross Section - -
      5. This motor rotates to lock or unlock the parking gear. The transmission control ECU assembly detects the present shift state (parking gear locked or unlocked) in accordance with the rotation angle signal, which detects the extent of rotation of the motor.

      6. The transmission control ECU assembly detects the direction of the motor rotation, the extent of the rotation, and its moving range through the combination of the pulses and the counting of the 2 Hall ICs with staggered phases (A phase and B phase), which are located in the rotation angle sensor. Once the moving range is detected, it is stored in the transmission control ECU assembly memory. However, it will be deleted if a battery terminal is disconnected.

        Count Timing Pulse Changes
        A Phase B Phase

        Lock → Unlock

        Count Up

        OFF → OFF OFF → ON
        OFF → ON ON → ON
        ON → ON ON → OFF
        ON → OFF OFF → OFF

        Unlock → Lock

        Count Down

        OFF → ON OFF → OFF
        ON → ON OFF → ON
        ON → OFF ON → ON
        OFF → OFF ON → OFF
        A00514WE02
      7. The parking lock position and unlock position, which provide values to establish control criteria, are detected and stored in memory at the time the transmission control ECU assembly is started or the battery is reconnected. Initially, the transmission control ECU assembly causes the motor to rotate to the position that engages the lock, in order to store the parking lock position in memory. Then, the transmission control ECU assembly causes the motor to rotate in reverse, in order to store the unlock position in memory. However, if the transmission control ECU assembly has stored the moving range of the previous operation in its memory, it detects one of the present positions, and calculates the other position from the moving range stored in memory. These processes make it unnecessary for the system to be initialized after the actuator or the transmission control ECU assembly is replaced or the battery terminal is reconnected.

      8. The cycloid reduction mechanism ensures the complete releasing operation of the parking lock when the vehicle is parked on a sloping road that requires a high amount of torque to release the parking lock, since it amplifies the torque of the motor output shaft.

      9. This mechanism consists of an eccentric plate that is mounted on the motor output shaft, an inside gear (61 teeth) that is secured to the housing, an outside gear (60 teeth), and an output shaft that rotates in unison with the outside gear.

      10. Along with the rotational movement of the eccentric plate, which rotates in unison with the motor output shaft, the inside gear pushes against the outside gear while meshing. The outside gear, which has 1 tooth less than the inside gear, rotates 1 tooth less per rotation of the eccentric plate. As a result, the output shaft, which rotates in unison with the outside gear, outputs the rotational movement of the motor at a reduction ratio of 61:1.

        A0050QTE04
        Text in Illustration
        *1 Inside Gear *2 Outside Gear
        *3 Eccentric Plate *4 Output Shaft
        *a Eccentric Plate Center *b Motor Input Shaft Center
        *c Image of Cycloid Reduction Mechanism - -
        A00515J Rotation Direction - -
    4. Parking Lock Mechanism


      1. The parking lock mechanism consists of a parking lock lever, parking lock rod, parking lock pawl and parking gear.

      2. The engagement of the parking lock pawl with the parking gear that is integrated with the compound gear locks the movement of the vehicle.

      3. The shift control actuator assembly rotates the parking lock lever to slide the parking lock rod, which pushes up the parking lock pawl. As a result, the parking lock pawl engages with the parking gear.

        A00519NE07
        Text in Illustration
        *1 Shift Control Actuator Assembly *2 Parking Lock Pawl
        *3 Parking Gear *4 Parking Lock Lever
        *5 Parking Lock Rod - -
        *a A-A Cross Section - -
        A00515J Movement - -
  5. FAIL-SAFE


    1. If the transmission control ECU assembly detects a malfunction in the system, the transmission control ECU assembly controls the system according to the data already stored in memory. For details, refer to the Repair Manual.

  6. DIAGNOSIS


    1. When a system malfunction is detected, the hybrid vehicle control ECU and transmission control ECU assembly illuminates the P position control system warning indicator light and P position control system advisory message and sounds a buzzer in the combination meter sub-assembly. However, if a malfunction is detected while driving, only the P position control system warning indicator light illuminates and the buzzer in the combination meter sub-assembly sounds to inform the driver.*1

      *1: Models without multi-information display

    2. The electronic shift lever system has a fail-safe function which operates if a malfunction occurs. In this situation, the master warning light in the combination meter sub-assembly illuminates, the buzzer sounds, and a warning message is displayed to inform the driver of a malfunction in the system.*2

      *2: Models with multi-information display

    3. When the transmission control ECU assembly or hybrid vehicle control ECU detects a malfunction in the electronic shift lever system, the transmission control ECU assembly or hybrid vehicle control ECU performs diagnosis and memorizes information related to the fault. At the same time, a Diagnostic Trouble Code (DTC) is stored in memory.

    4. These DTCs can be read by connecting the Global TechStream (GTS) to the DLC3. For details, refer to the Repair Manual.