AUDIO AND VISUAL SYSTEM

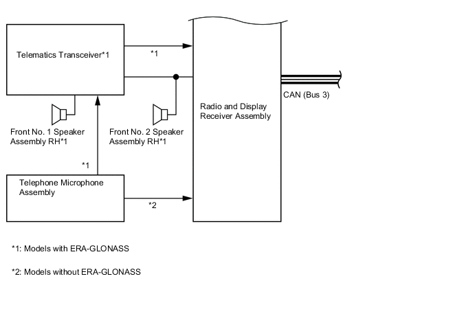
Figure 1. Models with Base Audio System

B0089OFE01

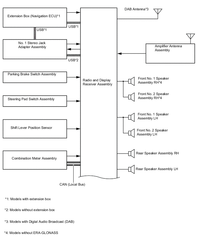
Figure 2. Models with Display Audio System or Navigation System with 6-speaker system

B0089NME01
B0089OOE02

Figure 3. Models with Display Audio System or Navigation System with 11-speaker System

B0089P4E01