CONTINUOUSLY VARIABLE TRANSAXLE SYSTEM Shift Paddle Switch Circuit

DESCRIPTION

When the shift lever is in M, the shift range can be changed using the shift paddle switches. It is also possible to select the shift range when the vehicle is being driven with the shift lever in D by operating the shift paddle switches.

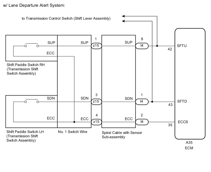
WIRING DIAGRAM

B008HVHE03
B008IC0E02

CAUTION / NOTICE / HINT

CAUTION:

Refer to the SRS precaution before troubleshooting.

Click here

Note


  • Perform initialization when parts related to the continuously variable transaxle are replaced.

    Click here

  • Check that no DTCs are stored after performing initialization.

    Click here

PROCEDURE


  1. READ VALUE USING GTS (SPORTS SHIFT UP SW AND SPORTS SHIFT DOWN SW)


    1. Connect the GTS to the DLC3.

    2. Turn the engine switch on (IG).

    3. Turn the GTS on.

    4. Enter the following menus: Powertrain / Engine and ECT / Data List

    5. According to the display on the GTS, read the Data List.


      Powertrain > Engine and ECT > Data List
      Tester Display Measurement Item Range Normal Condition Diagnostic Note
      Sports Shift Up SW Sport shift up switch status ON or OFF
      • ON: "+" shift paddle operated and held (up-shift)

      • OFF: "+" shift paddle not operated (up-shift)

      -
      Sports Shift Down SW Sport shift down switch status ON or OFF
      • ON: "-" shift paddle operated and held (down-shift)

      • OFF: "-" shift paddle not operated (down-shift)

      -

      Powertrain > Engine and ECT > Data List
      Tester Display
      Sports Shift Up SW
      Sports Shift Down SW
      Result
      Result Proceed to
      Data display is within Normal Condition range A
      Data display is not within Normal Condition range B

    A
    B
  2. INSPECT TRANSMISSION SHIFT SWITCH ASSEMBLY (SHIFT PADDLE SWITCH)


    1. B008HFBC15
      *a

      Front view of wire harness connector

      (to ECM)

      Disconnect the ECM connector.

    2. Measure the resistance according to the value(s) in the table below.

      Standard Resistance
      Tester Connection Condition Specified Condition
      A35-42 (SFTU) - Body ground "+" shift paddle operated and held (up-shift) Below 2.5 Ω
      A35-42 (SFTU) - Body ground "+" shift paddle not operated (up-shift) 1 MΩ or higher
      A35-43 (SFTD) - Body ground "-" shift paddle operated and held (down-shift) Below 2.5 Ω
      A35-43 (SFTD) - Body ground "-" shift paddle not operated (down-shift) 1 MΩ or higher
      Result
      Proceed to
      OK
      NG

    OK
    NG
  3. CHECK HARNESS AND CONNECTOR (SPIRAL CABLE WITH SENSOR SUB-ASSEMBLY - BODY GROUND)


    1. B008JDKC12
      *a

      Front view of wire harness connector

      (to Spiral Cable with Sensor Sub-assembly)

      Disconnect the spiral cable with sensor sub-assembly connector.

      Click here

    2. Measure the resistance according to the value(s) in the table below.

      Standard Resistance
      Tester Connection Condition Specified Condition
      I4-2 (ECC) - Body ground Always Below 1 Ω
      Result
      Proceed to
      OK
      NG

    NG
    OK
  4. CHECK HARNESS AND CONNECTOR (SPIRAL CABLE WITH SENSOR SUB-ASSEMBLY - ECM)


    1. Disconnect the I4 spiral cable with sensor sub-assembly connector.

      Click here

    2. Disconnect the A35 ECM connector.

    3. Measure the resistance according to the value(s) in the table below.

      Standard Resistance
      Tester Connection Condition Specified Condition
      I4-1 (SDN) - A35-43 (SFTD) Always Below 1 Ω
      I4-8 (SUP) - A35-42 (SFTU) Always Below 1 Ω
      I4-1 (SDN) or A35-43 (SFTD) - Body ground Always 10 kΩ or higher
      I4-8 (SUP) or A35-42 (SFTU) - Body ground Always 10 kΩ or higher
      Result
      Proceed to
      OK
      NG

    NG
    OK
  5. INSPECT SPIRAL CABLE WITH SENSOR SUB-ASSEMBLY


    1. Inspect the spiral cable with sensor sub-assembly.

      Click here

      Result
      Proceed to
      OK
      NG

    NG
    OK
  6. INSPECT SHIFT PADDLE SWITCH LH (TRANSMISSION SHIFT SWITCH ASSEMBLY)


    1. B008JONC06
      *1 Shift Paddle Switch LH

      Remove the shift paddle switch LH.

      Click here

    2. Measure the resistance according to the value(s) in the table below.

      Standard Resistance
      Tester Connection Condition Specified Condition
      SDN - ECC "-" shift paddle operated and held (down-shift) Below 2.5 Ω
      SDN - ECC "-" shift paddle not operated (down-shift) 1 MΩ or higher
      Result
      Proceed to
      OK
      NG

    NG
    OK
  7. INSPECT SHIFT PADDLE SWITCH RH (TRANSMISSION SHIFT SWITCH ASSEMBLY)


    1. B008GOHC05
      *1 Shift Paddle Switch RH

      Remove the shift paddle switch RH.

      Click here

    2. Measure the resistance according to the value(s) in the table below.

      Standard Resistance
      Tester Connection Condition Specified Condition
      SUP - ECC "+" shift paddle operated and held (up-shift) Below 2.5 Ω
      SUP - ECC "+" shift paddle not operated (up-shift) 1 MΩ or higher
      Result
      Result Proceed to
      OK (w/ Lane Departure Alert System) A
      OK (w/o Lane Departure Alert System) B
      NG C

    B
    C
    A
  8. INSPECT NO. 1 SWITCH WIRE


    1. B008H0UC01
      *a

      No. 1 switch wire

      (to Spiral Cable with Sensor Sub-assembly)

      Disconnect the No. 1 switch wire connector.

    2. Measure the resistance according to the value(s) in the table below.

      Standard Resistance
      Tester Connection Condition Specified Condition
      z15-3 (SDN) - z15-4 (ECC) "-" shift paddle operated and held (down-shift) Below 2.5 Ω
      z15-3 (SDN) - z15-4 (ECC) "-" shift paddle not operated (down-shift) 1 MΩ or higher
      z15-1 (SUP) - z15-4 (ECC) "+" shift paddle operated and held (up-shift) Below 2.5 Ω
      z15-1 (SUP) - z15-4 (ECC) "+" shift paddle not operated (up-shift) 1 MΩ or higher
      Result
      Proceed to
      OK
      NG

    NG
    OK
  9. REPLACE ECM


    1. Replace the ECM.

      Click here

      Result
      Proceed to
      NEXT

    NEXT
  10. INSPECT NO. 1 SWITCH WIRE


    1. B008HO3C01
      *a

      No. 1 switch wire

      (to No. 2 switch wire)

      Disconnect the No. 1 switch wire connector.

    2. Measure the resistance according to the value(s) in the table below.

      Standard Resistance
      Tester Connection Condition Specified Condition
      v1-2 (SDN) - v1-3 (ECC) "-" shift paddle operated and held (down-shift) Below 2.5 Ω
      v1-2 (SDN) - v1-3 (ECC) "-" shift paddle not operated (down-shift) 1 MΩ or higher
      v1-1 (SUP) - v1-3 (ECC) "+" shift paddle operated and held (up-shift) Below 2.5 Ω
      v1-1 (SUP) - v1-3 (ECC) "+" shift paddle not operated (up-shift) 1 MΩ or higher
      Result
      Proceed to
      OK
      NG

    NG
    OK
  11. INSPECT NO. 2 SWITCH WIRE


    1. B008H0UC03
      *a

      No. 2 switch wire

      (to Spiral Cable with Sensor Sub-assembly)

      Disconnect the No. 2 switch wire connector.

    2. Measure the resistance according to the value(s) in the table below.

      Standard Resistance
      Tester Connection Condition Specified Condition
      v2-3 (SDN) - v2-4 (ECC) "-" shift paddle operated and held (down-shift) Below 2.5 Ω
      v2-3 (SDN) - v2-4 (ECC) "-" shift paddle not operated (down-shift) 1 MΩ or higher
      v2-1 (SUP) - v2-4 (ECC) "+" shift paddle operated and held (up-shift) Below 2.5 Ω
      v2-1 (SUP) - v2-4 (ECC) "+" shift paddle not operated (up-shift) 1 MΩ or higher
      Result
      Proceed to
      OK
      NG

    NG
    OK
  12. REPLACE ECM


    1. Replace the ECM.

      Click here

      Result
      Proceed to
      NEXT

    NEXT
  13. CHECK HARNESS AND CONNECTOR (SPIRAL CABLE WITH SENSOR SUB-ASSEMBLY - ECM)


    1. Disconnect the I4 spiral cable with sensor sub-assembly connector.

      Click here

    2. Disconnect the A35 ECM connector.

    3. Measure the resistance according to the value(s) in the table below.

      Standard Resistance
      Tester Connection Condition Specified Condition
      I4-2 (ECC) - A35-35 (ECCS) Always Below 1 Ω
      I4-2 (ECC) or A35-35 (ECCS) - Body ground Always 10 kΩ or higher
      Result
      Proceed to
      OK
      NG

    NG
    OK
  14. REPLACE ECM


    1. Replace the ECM.

      Click here

      Result
      Proceed to
      NEXT

    NEXT