AIR CONDITIONING SYSTEM Blower Motor Circuit

DTC Code DTC Name
Blower Motor Circuit

DESCRIPTION

The blower with fan motor sub-assembly is operated by signals from the air conditioning amplifier assembly. Blower motor speed signals are transmitted in accordance with changes in the duty ratio.

WIRING DIAGRAM

E316644E08

CAUTION / NOTICE / HINT

Note:
  • Inspect the fuses for circuits related to this system before performing the following procedure.

  • When the servo motor or air conditioning amplifier assembly is replaced, be sure to perform servo motor initialization.

    Click here

PROCEDURE

  1. PERFORM ACTIVE TEST USING GTS (BLOWER MOTOR)

    1. Connect the GTS to the DLC3.

    2. Turn the power switch on (IG).

    3. Turn the GTS on.

    4. Enter the following menus: Body Electrical / Air Conditioner / Active Test.

    5. Check the operation by referring to the table below.

      Body Electrical > Air Conditioner > Active Test

      Tester Display

      Measurement Item

      Control Range

      Diagnostic Note

      Blower Motor

      Blower with fan motor sub-assembly

      Min.: 0

      Max.: 31

      -

      Body Electrical > Air Conditioner > Active Test

      Tester Display

      Blower Motor

      OK

      Blower with fan motor sub-assembly operates and changes speed.

    Result

    Proceed to

    OK

    NG

    OK

    PROCEED TO NEXT SUSPECTED AREA SHOWN IN PROBLEM SYMPTOMS TABLE

    NG
  2. CHECK HARNESS AND CONNECTOR (BLOWER WITH FAN MOTOR SUB-ASSEMBLY - AIR CONDITIONING AMPLIFIER ASSEMBLY, BATTERY AND BODY GROUND)

    1. Disconnect the G81 air conditioning amplifier assembly connector.

    2. Disconnect the G54 blower with fan motor sub-assembly connector.

    3. Measure the voltage according to the value(s) in the table below.

      Standard Voltage

      Tester Connection

      Switch Condition

      Specified Condition

      G54-3 (+B) - Body ground

      Power switch off

      11 to 14 V

    4. Measure the resistance according to the value(s) in the table below.

      Standard Resistance

      Tester Connection

      Condition

      Specified Condition

      G54-1 (GND) - Body ground

      Always

      Below 1 Ω

      G54-2 (SI) - G81-22 (BLW)

      Always

      Below 1 Ω

      G54-2 (SI) or G81-22 (BLW) - Body ground

      Always

      10 kΩ or higher

    Result

    Proceed to

    OK

    NG

    NG

    REPAIR OR REPLACE HARNESS OR CONNECTOR

    OK
  3. CHECK BLOWER WITH FAN MOTOR SUB-ASSEMBLY

    1. E269948C38

      *a

      Rear view of wire harness connector

      (to Air Conditioning Amplifier Assembly)

      Disconnect the air conditioning amplifier assembly connector.

    2. Measure the voltage according to the value(s) in the table below.

      Standard Voltage

      Tester Connection

      Switch Condition

      Specified Condition

      G81-22 (BLW) - Body ground

      Power switch off

      4.5 to 5.5 V

    Result

    Proceed to

    OK

    NG

    NG

    REPLACE BLOWER WITH FAN MOTOR SUB-ASSEMBLY

    OK
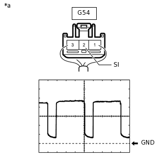
  4. CHECK AIR CONDITIONING AMPLIFIER ASSEMBLY

    1. E312542C01

      *a

      Component with harness connected

      (Blower with Fan Motor Sub-assembly)

      Measure the waveform of the air conditioning amplifier assembly connector.

      OK

      Waveform is similar to that shown in the illustration.

      Tip:

      The waveform varies with the blower speed.

      Item

      Content

      Tester Connection

      2 (SI) - Body ground

      Tool setting

      1 V/DIV., 500 μs/DIV.

      Vehicle condition

      • Power switch on (IG)

      • Blower switch LO

    Result

    Proceed to

    OK

    NG

    OK

    REPLACE BLOWER WITH FAN MOTOR SUB-ASSEMBLY

    NG
  5. REPLACE BLOWER WITH FAN MOTOR SUB-ASSEMBLY

    1. Replace thte blower with fan motor sub-assembly with new or knwon good one.

      Click here

    2. Check that the air conditioning system is operated normally.

      OK

      Malfunction does not reoccur.

    Result

    Proceed to

    OK

    NG

    OK

    END (BLOWER WITH FAN MOTOR SUB-ASSEMBLY WAS DEFECTIVE)

    NG

    REPLACE AIR CONDITIONING AMPLIFIER ASSEMBLY