REAR AIRBAG SENSOR REMOVAL

CAUTION / NOTICE / HINT

Tip:
  • Use the same procedure for the RH and LH sides.

  • The procedure listed below is for the LH side.

PROCEDURE

  1. REMOVE DECK BOARD ASSEMBLY

  2. REMOVE BATTERY SERVICE COVER

  3. PRECAUTION

    Note:

    After turning the power switch off, waiting time may be required before disconnecting the cable from the auxiliary battery negative (-) terminal. Therefore, make sure to read the disconnecting the cable from the auxiliary battery negative (-) terminal notice before proceeding with work.

    Click hereClick hereClick hereClick here

  4. DISCONNECT CABLE FROM AUXILIARY BATTERY NEGATIVE TERMINAL

    CAUTION:

    Wait at least 90 seconds after disconnecting the cable from the auxiliary battery negative (-) terminal to disable the SRS system.

    Note:

    When disconnecting the cable, some systems need to be initialized after the cable is reconnected.

    Click hereClick hereClick here

  5. REMOVE PACKAGE TRAY TRIM POCKET SUB-ASSEMBLY (w/ Partition Net)

  6. REMOVE TONNEAU COVER ASSEMBLY (w/ Tonneau Cover)

  7. REMOVE DECK FLOOR BOX LH

  8. REMOVE REAR NO. 3 FLOOR BOARD

  9. REMOVE REAR FLOOR FINISH PLATE (for Compact Spare Tire)

  10. REMOVE REAR DECK TRIM COVER (for Full Size Spare Tire)

  11. REMOVE REAR NO. 1 FLOOR MAT SUPPORT SIDE PLATE (for Compact Spare Tire)

  12. REMOVE REAR NO. 1 FLOOR MAT SUPPORT SIDE PLATE (for Full Size Spare Tire)

  13. REMOVE REAR DOOR SCUFF PLATE LH

  14. REMOVE REAR DOOR OPENING TRIM WEATHERSTRIP LH

  15. REMOVE DECK TRIM SERVICE HOLE COVER

  16. REMOVE DECK TRIM SIDE PANEL ASSEMBLY LH

  17. REMOVE REAR AIRBAG SENSOR LH

    1. Check that the power switch is off.

    2. Check that the cable is disconnected from the auxiliary battery negative (-) terminal.

      CAUTION:

      Wait at least 90 seconds after disconnecting the cable from the auxiliary battery negative (-) terminal to disable the SRS system.

    3. Disconnect the connector from the rear airbag sensor LH.

      Note:

      When disconnecting any airbag connector, take care not to damage the airbag wire harness.

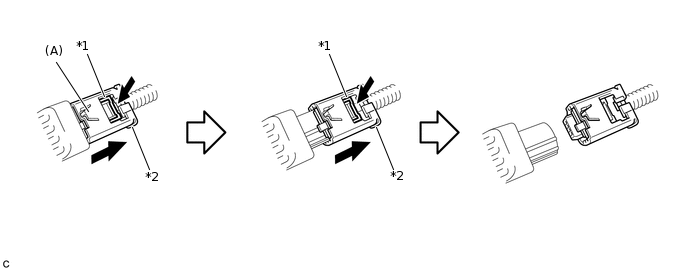
      1. Push the housing lock and slide the outer housing. (At this time, the connector cannot be disconnected yet.)

      2. Push the housing lock again and disconnect the connector.

        Note:

        Do not push down the part (A) shown in the illustration when disconnecting.

        C195226C11

        *1

        Housing Lock

        *2

        Outer Housing

    4. B339278

      Remove the nut and rear airbag sensor LH.

      Note:

      Loosen the nut while holding the rear airbag sensor LH because the rear airbag sensor pin (stopper) is easily damaged.