FRONT STABILIZER BAR INSTALLATION

PROCEDURE

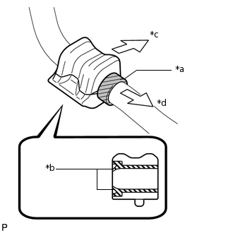
  1. INSTALL FRONT STABILIZER BAR BUSHING LH

    C148690C04

    *a

    Stopper

    *b

    Dust Lip

    *c

    Front of the Vehicle

    *d

    Inside of the Vehicle

    1. Install the front stabilizer bar bushing LH to the front stabilizer bar as shown in the illustration.

      Note:
      • Install the front stabilizer bar bushing so that the dust lips face the outside of the vehicle.

      • Install the front stabilizer bar bushing so that the cutouts face the rear of the vehicle.

  2. INSTALL FRONT STABILIZER BAR BUSHING RH

    Tip:

    Use the same procedure described for the LH side.

  3. INSTALL FRONT STABILIZER BAR

    1. Install the front stabilizer bar to the front suspension crossmember so that the identification mark is positioned on the right side of the vehicle.

      C149516C01

      *a

      Identification Mark

      *b

      Front of the Vehicle

      *c

      Top of the Vehicle

      -

      -

  4. INSTALL FRONT SUSPENSION MEMBER BRACE

    1. C232258C03

      *a

      Protrusion

      Install the front suspension member brace with the 8 bolts.

      92 N*m

      938 kgf*cm

      68 ft.*lbf

      Note:

      After installing the front suspension member brace, make sure that the protrusions of the front stabilizer bar bushings are visible.

  5. TEMPORARILY INSTALL FRONT LOWER NO. 1 SUSPENSION ARM SUB-ASSEMBLY LH

  6. INSTALL FRONT STABILIZER LINK ASSEMBLY LH

    1. Install the front stabilizer link assembly LH with the 2 nuts.

      74 N*m

      755 kgf*cm

      55 ft.*lbf

      Tip:

      If the ball joint turns together with the nut, use a 6 mm hexagon wrench to hold the stud bolt.

  7. INSTALL FRONT STABILIZER LINK ASSEMBLY RH

    Tip:

    Use the same procedure described for the LH side.

  8. INSTALL FRONT SUSPENSION CROSSMEMBER SUB-ASSEMBLY