ПРИ СНЯТИИ, УСТАНОВКЕ, РЕМОНТЕ И ЗАМЕНЕ ДЕТАЛЕЙ И УЗЛОВ СТАНДАРТ ПО РЕГУЛИРОВКЕ УГЛОВ УСТАНОВКИ КОЛЕС


  1. ИЗМЕРЬТЕ ВЫСОТУ АВТОМОБИЛЯ

    Note


    • Перед проверкой углов установки колес отрегулируйте высоту автомобиля в соответствии с требованиями.

    • Измерения следует выполнять на горизонтальной поверхности.

    • Если при измерениях требуется выполнять работы под автомобилем, удостоверьтесь, что включен стояночный тормоз, а под колеса установлены колодки.

    • Проверку следует выполнять на автомобиле в ненагруженном состоянии.

    • Указанная здесь номинальная величина используется для регулировки углов установки колес и не отражает высоту для конкретного автомобиля.


    1. Стабилизируйте подвеску, покачав автомобиль за углы.

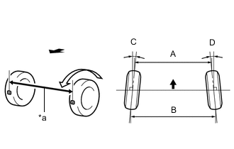
    2. A01IEF3N02

      Измерьте высоту автомобиля.


        Точки измерения:

      • A: дорожный просвет по центру передних колес


      • B: дорожный просвет по центру установочного болта втулки нижнего рычага передней подвески


      • C: дорожный просвет по центру задних колес


      • D: Дорожный просвет по центру установочного болта рычага задней подвески № 2

    3. ПРОВЕРЬТЕ РАЗВАЛ, УГОЛ ПРОДОЛЬНОГО НАКЛОНА ШКВОРНЯ И УГОЛ ПОПЕРЕЧНОГО НАКЛОНА ОСИ ПОВОРОТА (РЕГУЛИРОВКУ УГЛОВ УСТАНОВКИ ПЕРЕДНИХ КОЛЕС)

      Note

      Проверку следует выполнять на автомобиле в ненагруженном состоянии.


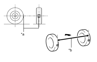
      1. A01IE4CC16
    4. *a Датчик радиуса поворота
      *b Датчик развала – угла продольного наклона оси поворота – угла поперечного наклона оси поворота

Установите датчик развала – угла продольного наклона оси поворота – угла поперечного наклона оси поворота и поместите передние колеса в центр шаблона радиуса разворота.

  • Проверьте развал, угол продольного наклона оси поворота и угол поперечного наклона оси поворота.

  • ПРОВЕРЬТЕ СХОЖДЕНИЕ КОЛЕС (РЕГУЛИРОВКУ УГЛОВ УСТАНОВКИ ПЕРЕДНИХ КОЛЕС)

    Note

    Проверку следует выполнять на автомобиле в ненагруженном состоянии.


    1. Стабилизируйте подвеску, покачав автомобиль за углы.

    2. Отпустите стояночный тормоз и переведите рычаг переключения передач в нейтральное положение.

    3. Толкайте автомобиль в прямом направлении, чтобы он проехал расстояние приблизительно 5 м (16,4 фута). (Шаг A)

    4. A01IEG2C01
  • *a Метка центральной линии
    *b Размер B
    A01IE6G Передняя сторона автомобиля
  • Нанесите метки центральной линии на крайние задние точки передних колес и измерьте расстояние между метками (размер B).

  • Медленно продвиньте автомобиль прямо вперед, чтобы повернуть передние колеса на 180°. В качестве базовой точки используйте вентиль шины переднего колеса.

    Tech Tips

    Не допускайте, чтобы колеса поворачивались более чем на 180°. В случае поворота колес на угол, превышающий 180°, повторите процедуру, начиная с шага A.

  • A01IEAIC01
    *a Размер A
    A01IE6G Передняя сторона автомобиля

    Измерьте расстояние между метками центральной линии спереди колес (размер A).

    Tech Tips

    Измеряйте "B - A" только в том случае, если невозможно измерить "C + D".

    Если схождение не соответствует техническим требованиям, отрегулируйте его на наконечниках реек рулевого механизма.

  • ПРОВЕРЬТЕ УГОЛ УСТАНОВКИ КОЛЕС (РЕГУЛИРОВКУ УГЛОВ УСТАНОВКИ ПЕРЕДНИХ КОЛЕС)


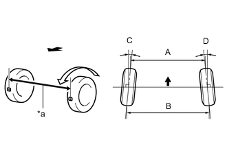
    1. A01IE68C03
  • *a Внутрь
    *b Наружу
    A01IE6G Передняя сторона автомобиля

    Нанесите метки центральной линии колеи в крайних задних точках шаблона радиуса разворота.

  • Поверните рулевое колесо влево и вправо до упора и измерьте угол поворота.

    Note

    Проверку следует выполнять на автомобиле в ненагруженном состоянии.


  • ПРОВЕРЬТЕ РАЗВАЛ (РЕГУЛИРОВКУ УГЛОВ УСТАНОВКИ ЗАДНИХ КОЛЕС)

    Note

    Проверку следует выполнять на автомобиле в ненагруженном состоянии.


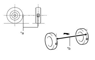
    1. A01IE6UC10
  • *a Датчик развала – угла продольного поворота шкворня – угла поперечного наклона оси поворота

    Установите индикатор развала / угла продольного наклона шкворня / угла поперечного наклона шкворня.

  • Проверьте развал колес.

    Tech Tips

    Развал не регулируется. Если результаты измерений не попадают в установленные пределы, проверьте детали подвески на наличие следов износа и повреждений, и, при необходимости, замените их.

  • ПРОВЕРЬТЕ СХОЖДЕНИЕ КОЛЕС (РЕГУЛИРОВКУ УГЛОВ УСТАНОВКИ ЗАДНИХ КОЛЕС)

    Note

    Проверку следует выполнять на автомобиле в ненагруженном состоянии.


    1. Стабилизируйте подвеску, покачав автомобиль за углы.

    2. Отпустите стояночный тормоз и переведите рычаг переключения передач в нейтральное положение.

    3. Толкайте автомобиль в прямом направлении, чтобы он проехал расстояние приблизительно 5 м (16,4 фута). (Шаг A)

    4. A01IEG2C02
  • *a Метка центральной линии
    *b Размер B
    A01IE6G Передняя сторона автомобиля

    Нанесите метки центральной линии колеи в крайних задних точках задних колес и измерьте расстояние между метками (размер B).

  • Медленно продвиньте автомобиль прямо вперед, чтобы повернуть задние колеса на 180°. В качестве базовой точки используйте вентиль шины заднего колеса.

    Tech Tips

    Не допускайте, чтобы колеса поворачивались более чем на 180°. В случае поворота колес на угол, превышающий 180°, повторите процедуру, начиная с шага A.

  • A01IEAIC02
    *a Размер A
    A01IE6G Передняя сторона автомобиля

    Измерьте расстояние между метками центральной линии спереди задних колес (размер A).

    Tech Tips

    Измеряйте "B - A" только в том случае, если невозможно измерить "C + D".

    Если схождение выходит за пределы указанного диапазона, отрегулируйте его на пластине регулировки схождения подвески № 2.