СИСТЕМА УПРАВЛЕНИЯ ГИБРИДНОЙ СИСТЕМОЙ, диагностические DTC: P0A0D-350 и P0A0D-351

Код DTC Наименование DTC
P0A0D-350 Сигнал высокого уровня в цепи блокировки высоковольтной системы
P0A0D-351 Сигнал высокого уровня в цепи блокировки высоковольтной системы

КРАТКОЕ ОПИСАНИЕ КОДА DTC

  1. ОПИСАНИЕ НЕИСПРАВНОСТИ

    ЭБУ гибридной системы обнаруживает срабатывание защитного устройства (блокировки) или обрыв в цепи регистрации. (Даже если обрыв цепи возникает в остановленном состоянии автомобиля, система определяет, что защитное устройство сработало.)

    Причиной данной неисправности может быть одна из следующих:

    • Неисправность системы переключателя обнаружения

    • Неисправность преобразователя-инвертора

    • Неисправность сервисного размыкателя цепи

    • Неисправность системы низкого напряжения

    • Неисправность ЭБУ гибридной системы

    • Неисправность преобразователя-инвертора

    • Неисправность сервисного размыкателя цепи

    • Неисправность жгута проводов

    • Неисправность разъема

  2. ОПИСАНИЕ ПРОВЕРКИ

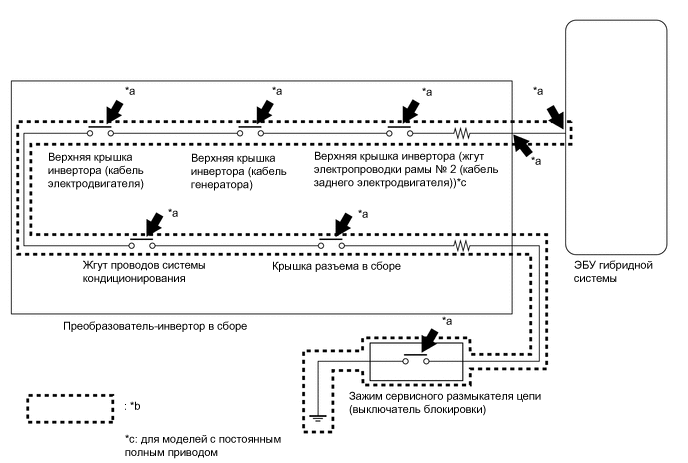
    C304951E01

    Местонахождение на схеме системы

    Описание проверки

    Причина

    Шаг проверки

    *a

    • Убедитесь, что предохранительное устройство (блокировка) подключено надежно и установлено правильно (зажим сервисного размыкателя цепи, верхняя крышка инвертора или крышка разъема в сборе и т.д.).

    • Разъем ЭБУ гибридной системы или инвертор

    DTC выводится в связи с неправильным подсоединением или неустановленными деталями.

    4 - 9

    *b

    Проверьте цепь регистрации.

    DTC выводится в связи с обрывом в цепи или неправильным подсоединением (загрязнения, посторонние вещества и т.д.).

    10 - 20

ОПИСАНИЕ

Когда ЭБУ гибридной системы обнаруживает срабатывание защитного устройства (блокировки), например, при снятии сервисного размыкателя цепи, верхней крышки инвертора или крышки разъема, он запрещает работу гибридной системы или выключает главное реле системы. 3 защитных устройства расположены следующим образом: 1 в зажиме сервисного размыкателя цепи; 1 на жгуте электропроводки рамы № 2, подключенном к преобразователю-инвертору; 1 на верхней крышке инвертора в месте подключения кабелей электродвигателя и генератора, жгута электропроводки рамы № 2 и жгута электропроводки двигателя (жгут проводов системы кондиционирования) к преобразователю-инвертору. В случае снятия зажима сервисного размыкателя цепи, верхней крышки инвертора или жгута электропроводки рамы № 2 цепь сигнала блокировки размыкается. Когда автомобиль находится в движении, это состояние интерпретируется как обрыв, и главные реле системы не выключаются. Если защитные устройства переустановлены правильно, при включении питания (IG) система вернется в нормальное состояние.

После обнаружения обрыва главное реле системы будет оставаться выключенным со следующей поездки, пока не восстановится нормальное состояние.

№ DTC

Неисправность

Условие обнаружения DTC

Неисправный участок

MIL

Индикация предупреждения

P0A0D-350

Сигнал высокого уровня в цепи блокировки высоковольтной системы

Выполняется любое из следующих условий:

  • На остановленном автомобиле были сняты зажим сервисного размыкателя цепи, крышка разъема, верхняя крышка инвертора или жгут электропроводки рамы № 2 с предохранительным устройством.

  • Когда автомобиль был остановлен, в цепи сигнала блокировки возник обрыв.

(логика диагностирования за 1 поездку)

  • Жгут проводов или разъем

  • ЭБУ гибридной системы

  • Зажим сервисного размыкателя цепи

  • Преобразователь-инвертор в сборе

  • Крышка разъема в сборе

  • Верхняя крышка инвертора

  • Жгут электропроводки рамы № 2

Не загорается

Главная контрольная лампа аварийного состояния:

Загорается

P0A0D-351

Сигнал высокого уровня в цепи блокировки высоковольтной системы

Цепь сигнала блокировки разомкнута, когда автомобиль движется со скоростью 5 км/час (3 мили в час) или более

(логика диагностирования за 1 поездку)

  • Жгут проводов или разъем

  • ЭБУ гибридной системы

  • Зажим сервисного размыкателя цепи

  • Преобразователь-инвертор в сборе

  • Крышка разъема в сборе

  • Верхняя крышка инвертора

  • Жгут электропроводки рамы № 2

Не загорается

Главная контрольная лампа аварийного состояния:

Загорается

СХЕМА СОЕДИНЕНИЙ

C297331E08

ПРЕДОСТЕРЕЖЕНИЕ / ПРИМЕЧАНИЕ / УКАЗАНИЕ

CAUTION:
  • Перед проверкой системы высокого напряжения или отсоединением разъема низкого напряжения преобразователя-инвертора необходимо принять меры по предотвращению поражения электрическим током, а именно, надеть электроизолирующие перчатки и снять зажим сервисного размыкателя цепи. После снятия зажима сервисного размыкателя цепи положите его в карман, чтобы никто не смог случайно подсоединить его обратно, пока выполняются работы с системой высокого напряжения.

  • После отсоединения зажима сервисного размыкателя цепи подождите, по крайней мере, 10 мин, прежде чем прикасаться к какому-либо из высоковольтных разъемов или контактов. По истечении 10 мин проверьте напряжение на контактах в контрольной точке преобразователя-инвертора в сборе. Перед началом работ напряжение должно составлять 0 В.

    Нажмите здесьClick here

    Tip:

    Для разрядки высоковольтного конденсатора внутри преобразователя-инвертора требуется не менее 10 мин.

Note:

После выключения питания следует подождать некоторое время, прежде чем отсоединять провод от отрицательного (-) вывода вспомогательной аккумуляторной батареи. Поэтому, прежде чем приступать к этой работе, обязательно ознакомьтесь с примечанием относительно отсоединения провода от отрицательного (-) вывода вспомогательной аккумуляторной батареи.

Нажмите здесьClick hereClick hereClick hereClick here

Tip:

После ремонта удалите все коды DTC и убедитесь, что коды DTC не выводятся, выполнив следующую процедуру.

  1. Установите выключатель питания в состояние ON (ВКЛ) (IG) и подождите не менее 5 с.

ПОРЯДОК ВЫПОЛНЕНИЯ

  1. ПРОВЕРЬТЕ DTC (СИСТЕМЫ УПРАВЛЕНИЯ ГИБРИДНОЙ СИСТЕМОЙ)

    1. Подключите GTS к DLC3.

    2. Включите питание (IG).

    3. Войдите в следующие меню: Powertrain / Hybrid Control / Trouble Codes.

    4. Проверьте наличие кодов DTC.

      Powertrain > Hybrid Control > Trouble Codes

      Результат

      Перейдите к

      Выводится только код P0A0D.

      Выводится код P0A1D.

    5. Выключите зажигание.

    Выводится код P0A1D.

    ОБРАТИТЕСЬ К ТАБЛИЦЕ DTC (P0A1D)

    Выводится только код P0A0D.
  2. УДАЛИТЕ DTC

    Нажмите здесьClick here

    Результат

    Перейти к

    СЛЕДУЮЩЕЕ -

    СЛЕДУЮЩЕЕ -
  3. ПРОВЕРЬТЕ DTC (СИСТЕМЫ УПРАВЛЕНИЯ ГИБРИДНОЙ СИСТЕМОЙ)

    1. Подключите GTS к DLC3.

    2. Включите питание (IG).

    3. Войдите в следующие меню: Powertrain / Hybrid Control / Trouble Codes.

    4. Проверьте, выводятся ли коды DTC.

      Powertrain > Hybrid Control > Trouble Codes

      Результат

      Перейдите к

      Код P0A0D-350 или P0A0D-351 выводится снова.

      Ни один из кодов P0A0D-350 и P0A0D-351 не выводится снова.

    5. Выключите зажигание.

    Ни один из кодов P0A0D-350 и P0A0D-351 не выводится снова.

    ПРОВЕРЬТЕ ПОДКЛЮЧЕНИЕ РАЗЪЕМА (ЦЕПИ БЛОКИРОВКИ)Click here

    Код P0A0D-350 или P0A0D-351 выводится снова.
  4. ПРОВЕРЬТЕ ЗАЖИМ СЕРВИСНОГО РАЗМЫКАТЕЛЯ ЦЕПИ

    CAUTION:

    Не забывайте надевать электроизолирующие перчатки.

    1. A314624C06

      *1

      Зажим сервисного размыкателя цепи

      Убедитесь, что зажим сервисного размыкателя цепи установлен правильно.

      Номинальный режим

      Установка "UNLOCK" (РАЗБЛОКИР) скрыта и не видна.

      Note:
      • Вставьте зажим сервисного размыкателя цепи до щелчка.

      • Если на зажиме сервисного размыкателя цепи имеется метка "UNLOCK", нажмите его до уровня, когда метка "UNLOCK" перестанет быть видна.

      Tip:
      • Порядок снятия и установки.

        Нажмите здесьClick here

      • P0A0D-350 также устанавливается при включении питания (IG), если зажим сервисного размыкателя цепи снят. Проверьте условия, в которых возникла неисправность.

    Result

    Перейти к

    OK

    НЕ СООТВ.

    НЕ СООТВ.

    УСТАНОВИТЕ ДЕТАЛИ ПРАВИЛЬНО

    СООТВ
  5. ПРОВЕРЬТЕ ПОДКЛЮЧЕНИЕ РАЗЪЕМА (ЭБУ ГИБРИДНОЙ СИСТЕМЫ)

    Нажмите здесьClick hereClick here

    Результат

    Перейти к

    OK

    НЕ СООТВ.

    НЕ СООТВ.

    ПРОВЕРЬТЕ НАДЕЖНОСТЬ ПОДКЛЮЧЕНИЯ

    СООТВ
  6. ПРОВЕРЬТЕ ПОДКЛЮЧЕНИЕ РАЗЪЕМА (ПРЕОБРАЗОВАТЕЛЯ-ИНВЕРТОРА В СБОРЕ)

    Нажмите здесьClick hereClick hereClick here

    Result

    Result

    Перейти к

    OK

    А

    NG (разъем не подсоединен надежно)

    B

    NG (отсутствует надежный контакт между выводами, либо они деформированы, или же в разъем попала вода или посторонние вещества)

    C

    B

    ПРОВЕРЬТЕ НАДЕЖНОСТЬ ПОДКЛЮЧЕНИЯ

    C

    ОТРЕМОНТИРУЙТЕ ИЛИ ЗАМЕНИТЕ ЖГУТ ПРОВОДОВ ИЛИ РАЗЪЕМ

    A
  7. ПРОВЕРЬТЕ ВЕРХНЮЮ КРЫШКУ ИНВЕРТОРА

    CAUTION:

    Не забывайте надевать электроизолирующие перчатки.

    1. Убедитесь, что зажим сервисного размыкателя цепи не установлен.

      Note:

      При снятом зажиме сервисного размыкателя цепи не включайте питание (READY), если нет соответствующего указания в руководстве по ремонту, так как это может стать причиной неисправности.

    2. C308921C01

      *A

      Для моделей с приводом на одну ось

      *B

      Для моделей с постоянным полным приводом

      Проверьте установку верхней крышки инвертора на преобразователе-инверторе в сборе.

      OK

      Верхняя крышка инвертора установлена правильно.

    Result

    Перейти к

    OK

    НЕ СООТВ.

    НЕ СООТВ.

    УСТАНОВИТЕ ДЕТАЛИ ПРАВИЛЬНО

    СООТВ
  8. ПРОВЕРЬТЕ КРЫШКУ РАЗЪЕМА В СБОРЕ

    CAUTION:

    Не забывайте надевать электроизолирующие перчатки.

    1. Убедитесь, что зажим сервисного размыкателя цепи не установлен.

      Note:

      При снятом зажиме сервисного размыкателя цепи не включайте питание (READY), если нет соответствующего указания в руководстве по ремонту, так как это может стать причиной неисправности.

    2. C296838

      Убедитесь, что крышка разъема подсоединена правильно.

      OK

      Крышка разъема в сборе подсоединена правильно.

    Result

    Перейти к

    OK

    НЕ СООТВ.

    НЕ СООТВ.

    УСТАНОВИТЕ ДЕТАЛИ ПРАВИЛЬНО

    СООТВ
  9. ПРОВЕРЬТЕ ЖГУТ ПРОВОДОВ И РАЗЪЕМ (ЖГУТ ПРОВОДОВ СИСТЕМЫ КОНДИЦИОНИРОВАНИЯ)

    CAUTION:

    Не забывайте надевать электроизолирующие перчатки.

    1. Убедитесь, что зажим сервисного размыкателя цепи не установлен.

      Note:

      Не включайте питание (READY) при снятом зажиме сервисного размыкателя цепи, если нет соответствующего указания в руководстве по ремонту, так как это может стать причиной неисправности.

    2. C296839

      Убедитесь, что жгут проводов системы кондиционирования присоединен правильно.

      OK

      Жгут проводов системы кондиционирования подсоединен правильно.

    Result

    Перейти к

    OK

    НЕ СООТВ.

    НЕ СООТВ.

    УСТАНОВИТЕ ДЕТАЛИ ПРАВИЛЬНО

    СООТВ
  10. ПРОВЕРЬТЕ ЭБУ ГИБРИДНОЙ СИСТЕМЫ

    CAUTION:

    Не забывайте надевать электроизолирующие перчатки.

    1. Убедитесь, что зажим сервисного размыкателя цепи не установлен.

      Note:

      При снятом зажиме сервисного размыкателя цепи не включайте питание (READY), если нет соответствующего указания в руководстве по ремонту, так как это может стать причиной неисправности.

    2. Отсоедините разъем A58 преобразователя-инвертора в сборе.

      Нажмите здесьClick hereClick here

    3. Подсоедините провод к отрицательному (-) выводу вспомогательной аккумуляторной батареи.

    4. Включите питание (IG).

    5. A258451C64

      *a

      Вид спереди разъема со стороны жгута проводов:

      (к преобразователю-инвертору в сборе)

      Измерьте напряжение в соответствии со значениями, приведенными в таблице.

      Номинальное напряжение

      Подключение диагностического прибора

      Условие

      Номинальное значение

      A58-16 (ILKI) - масса

      Питание включено (IG)

      11–14 В

      Note:

      Установка выключателя питания в состояние ON (ВКЛ) (IG) при отсоединенном разъеме преобразователя-инвертора в сборе приводит к сохранению других кодов DTC. После выполнения проверки удалите коды DTC.

    6. Выключите питание.

    7. Отсоедините провод от отрицательного (-) вывода вспомогательной аккумуляторной батареи.

    8. Подсоедините разъем A58 преобразователя-инвертора в сборе.

    Результат

    Перейти к

    OK

    НЕ СООТВ.

    НЕ СООТВ.

    ПРОВЕРЬТЕ ЖГУТ ПРОВОДОВ И РАЗЪЕМ (ПРЕОБРАЗОВАТЕЛЬ-ИНВЕРТОР В СБОРЕ – ЭБУ ГИБРИДНОЙ СИСТЕМЫ)Click here

    СООТВ
  11. ПРОВЕРЬТЕ ПРЕОБРАЗОВАТЕЛЬ-ИНВЕРТОР В СБОРЕ (БЛОКИРОВКУ)

    CAUTION:

    Не забывайте надевать электроизолирующие перчатки.

    1. Убедитесь, что зажим сервисного размыкателя цепи не установлен.

      Note:

      При снятом зажиме сервисного размыкателя цепи не включайте питание (READY), если нет соответствующего указания в руководстве по ремонту, так как это может стать причиной неисправности.

    2. Отсоедините разъем A58 преобразователя-инвертора в сборе.

    3. A258450C14

      *a

      Устройство с отсоединенным жгутом проводов

      (преобразователь-инвертор в сборе)

      Измерьте сопротивление в соответствии со значениями, приведенными в таблице ниже.

      Номинальное сопротивление

      Подключение диагностического прибора

      Условие

      Номинальное значение

      A58-16 (ILKI) - A58-5 (ILKO)

      Питание выключено

      Менее 10 Ом

      Note:

      Не снимайте крышку разъема в сборе, верхнюю крышку инвертора и жгут проводов системы кондиционирования.

    4. Подсоедините разъем A58 преобразователя-инвертора в сборе.

    Результат

    Перейти к

    OK

    НЕ СООТВ.

    НЕ СООТВ.

    ПРОВЕРЬТЕ ВЕРХНЮЮ КРЫШКУ ИНВЕРТОРАClick here

    СООТВ
  12. ПРОВЕРЬТЕ ЖГУТ ПРОВОДОВ И РАЗЪЕМ (ПРЕОБРАЗОВАТЕЛЬ-ИНВЕРТОР В СБОРЕ – МАССА)

    CAUTION:

    Не забывайте надевать электроизолирующие перчатки.

    1. Убедитесь, что зажим сервисного размыкателя цепи не установлен.

      Note:

      При снятом зажиме сервисного размыкателя цепи не включайте питание (READY), если нет соответствующего указания в руководстве по ремонту, так как это может стать причиной неисправности.

    2. Отсоедините разъем A58 преобразователя-инвертора в сборе.

    3. Установите зажим сервисного размыкателя цепи.

    4. A258451C65

      *a

      Вид спереди разъема со стороны жгута проводов:

      (к преобразователю-инвертору в сборе)

      Измерьте сопротивление в соответствии со значениями, приведенными в таблице.

      Номинальное сопротивление

      Подключение диагностического прибора

      Условие

      Номинальное значение

      A58-5 (ILKO) - масса

      Питание выключено

      Менее 1 Ом

    5. Снимите зажим сервисного размыкателя цепи.

    6. Подсоедините разъем A58 преобразователя-инвертора в сборе.

    Результат

    Перейти к

    OK

    НЕ СООТВ.

    НЕ СООТВ.

    ПРОВЕРЬТЕ ЗАЖИМ СЕРВИСНОГО РАЗМЫКАТЕЛЯ ЦЕПИClick here

    СООТВ
  13. ПРОВЕРЬТЕ ПОДКЛЮЧЕНИЕ РАЗЪЕМА (ЦЕПИ БЛОКИРОВКИ)

    1. Проверьте соединения всех разъемов.

      OK

      Грязь или посторонние частицы не попали в разъем, и следы загрязнения отсутствуют.

    Результат

    Перейти к

    OK

    НЕ СООТВ.

    OK

    ЗАМЕНИТЕ ЭБУ ГИБРИДНОЙ СИСТЕМЫ

    Нажмите здесьClick here

    NG

    ОТРЕМОНТИРУЙТЕ ИЛИ ЗАМЕНИТЕ РАЗЪЕМ

  14. ПРОВЕРЬТЕ ЖГУТ ПРОВОДОВ И РАЗЪЕМ (ПРЕОБРАЗОВАТЕЛЬ-ИНВЕРТОР В СБОРЕ - ЭБУ ГИБРИДНОЙ СИСТЕМЫ)

    CAUTION:

    Не забывайте надевать электроизолирующие перчатки.

    1. Убедитесь, что зажим сервисного размыкателя цепи не установлен.

      Note:

      При снятом зажиме сервисного размыкателя цепи не включайте питание (READY), если нет соответствующего указания в руководстве по ремонту, так как это может стать причиной неисправности.

    2. Отсоедините разъем A58 преобразователя-инвертора в сборе.

    3. Отсоедините разъем A61 ЭБУ гибридной системы.

    4. Измерьте сопротивление в соответствии со значениями, приведенными в таблице ниже.

      A324920C03

      *a

      Вид спереди разъема со стороны жгута проводов:

      (к преобразователю-инвертору в сборе)

      *b

      Вид сзади разъема со стороны жгута проводов

      (К ЭБУ гибридной системы)

      Номинальное сопротивление

      Подключение диагностического прибора

      Условие

      Номинальное значение

      A58-16 (ILKI) - A61-13 (ILK)

      Питание выключено

      Менее 1 Ом

    5. Подсоедините разъем A61 ЭБУ гибридной системы.

    6. Подсоедините разъем A58 преобразователя-инвертора в сборе.

    Результат

    Перейти к

    OK

    НЕ СООТВ.

    OK

    ЗАМЕНИТЕ ЭБУ ГИБРИДНОЙ СИСТЕМЫ

    Нажмите здесьClick here

    NG

    ОТРЕМОНТИРУЙТЕ ИЛИ ЗАМЕНИТЕ ЖГУТ ПРОВОДОВ ИЛИ РАЗЪЕМ

  15. ПРОВЕРЬТЕ ВЕРХНЮЮ КРЫШКУ ИНВЕРТОРА

    CAUTION:

    Не забывайте надевать электроизолирующие перчатки.

    1. Убедитесь, что зажим сервисного размыкателя цепи не установлен.

      Note:

      При снятом зажиме сервисного размыкателя цепи не включайте питание (READY), если нет соответствующего указания в руководстве по ремонту, так как это может стать причиной неисправности.

    2. C308921C01

      *A

      Для моделей с приводом на одну ось

      *B

      Для моделей с постоянным полным приводом

      Снимите верхнюю крышку инвертора с преобразователя-инвертора в сборе.

    3. C297292C01

      *1

      Верхняя крышка инвертора

      Проверьте состояние блокировки верхней крышки инвертора.

      OK

      Грязь или посторонние частицы не попали в разъем, и следы загрязнения отсутствуют.

    4. Установите верхнюю крышку инвертора.

    Результат

    Перейти к

    OK

    НЕ СООТВ.

    НЕ СООТВ.

    ЗАМЕНИТЕ ВЕРХНЮЮ КРЫШКУ ИНВЕРТОРА

    Нажмите здесьClick hereClick here

    СООТВ
  16. ПРОВЕРЬТЕ КРЫШКУ РАЗЪЕМА В СБОРЕ

    CAUTION:

    Не забывайте надевать электроизолирующие перчатки.

    1. Убедитесь, что зажим сервисного размыкателя цепи не установлен.

      Note:

      Не включайте питание (READY) при снятом зажиме сервисного размыкателя цепи, если нет соответствующего указания в руководстве по ремонту, так как это может стать причиной неисправности.

    2. C296838

      Снимите крышку разъема в сборе с преобразователя-инвертора в сборе.

    3. C297291C01

      *1

      Крышка разъема в сборе

      Проверьте состояние блокировки крышки разъема в сборе.

      OK

      Грязь или посторонние предметы не попали в соединение, и следы загрязнения отсутствуют.

      Tip:

      Крышка разъема в сборе не поставляется как отдельная деталь. Если требуется замена, замените преобразователь-инвертор в сборе.

    4. Установите крышку разъема в сборе на преобразователь-инвертор в сборе.

    Result

    Перейти к

    OK

    НЕ СООТВ.

    НЕ СООТВ.

    ЗАМЕНИТЕ ПРЕОБРАЗОВАТЕЛЬ-ИНВЕРТОР В СБОРЕ

    Нажмите здесьClick hereClick here

    СООТВ
  17. ПРОВЕРЬТЕ ЖГУТ ПРОВОДОВ И РАЗЪЕМ (РАЗЪЕМ ЖГУТА ПРОВОДОВ СИСТЕМЫ КОНДИЦИОНИРОВАНИЯ)

    CAUTION:

    Не забывайте надевать электроизолирующие перчатки.

    1. Убедитесь, что зажим сервисного размыкателя цепи не установлен.

      Note:

      Не включайте питание (READY) при снятом зажиме сервисного размыкателя цепи, если нет соответствующего указания в руководстве по ремонту, так как это может стать причиной неисправности.

    2. C296839

      Отсоедините жгут проводов системы кондиционирования от преобразователя-инвертора в сборе.

    3. A260208C02

      *1

      Жгут проводов системы кондиционирования

      Проверьте жгут проводов системы кондиционирования.

      OK

      Грязь или посторонние частицы не попали в разъем, и следы загрязнения отсутствуют.

    4. Подсоедините жгут проводов системы кондиционирования к преобразователю-инвертору в сборе.

    Result

    Перейти к

    OK

    НЕ СООТВ.

    OK

    ЗАМЕНИТЕ ПРЕОБРАЗОВАТЕЛЬ-ИНВЕРТОР В СБОРЕ

    Нажмите здесьClick hereClick here

    NG

    ЗАМЕНИТЕ ЖГУТ ПРОВОДОВ СИСТЕМЫ КОНДИЦИОНИРОВАНИЯ

    Нажмите здесьClick hereClick hereClick here

  18. ПРОВЕРЬТЕ ЗАЖИМ СЕРВИСНОГО РАЗМЫКАТЕЛЯ ЦЕПИ

    1. Снимите зажим сервисного размыкателя цепи

      Нажмите здесьClick here

    2. C263217C01

      *1

      Зажим сервисного размыкателя цепи

      Проверьте состояние блокировки зажима сервисного размыкателя цепи.

      OK

      Грязь или посторонние частицы не попали в разъем, и следы загрязнения отсутствуют.

    Результат

    Перейти к

    OK

    НЕ СООТВ.

    НЕ СООТВ.

    ЗАМЕНИТЕ ЗАЖИМ СЕРВИСНОГО РАЗМЫКАТЕЛЯ ЦЕПИ

    Нажмите здесьClick here

    СООТВ
  19. ПРОВЕРЬТЕ ПОДКЛЮЧЕНИЕ РАЗЪЕМА (РАЗЪЕМА БЛОКИРОВКИ)

    CAUTION:

    Не забывайте надевать электроизолирующие перчатки.

    1. Убедитесь, что зажим сервисного размыкателя цепи не установлен.

      Note:

      Не включайте питание (READY) при снятом зажиме сервисного размыкателя цепи, если нет соответствующего указания в руководстве по ремонту, так как это может стать причиной неисправности.

    2. C297289C01

      *1

      Разъем блокировки

      Проверьте правильность подключения разъема блокировки в установочном гнезде зажима сервисного размыкателя цепи.

      OK

      Разъем подсоединен правильно.

    Result

    Перейти к

    OK

    НЕ СООТВ.

    НЕ СООТВ.

    УСТАНОВИТЕ ДЕТАЛИ ПРАВИЛЬНО

    СООТВ
  20. ПРОВЕРЬТЕ ЖГУТ ПРОВОДОВ И РАЗЪЕМ (ПРЕОБРАЗОВАТЕЛЬ-ИНВЕРТОР В СБОРЕ – ЗАЖИМ СЕРВИСНОГО РАЗМЫКАТЕЛЯ ЦЕПИ)

    CAUTION:

    Не забывайте надевать электроизолирующие перчатки.

    1. Убедитесь, что зажим сервисного размыкателя цепи не установлен.

      Note:

      При снятом зажиме сервисного размыкателя цепи не включайте питание (READY), если нет соответствующего указания в руководстве по ремонту, так как это может стать причиной неисправности.

    2. Отсоедините разъем A58 преобразователя-инвертора в сборе.

    3. Отсоедините разъем Р31 зажима сервисного размыкателя цепи.

    4. C297290C03

      *a

      Вид спереди разъема со стороны жгута проводов:

      (к преобразователю-инвертору в сборе)

      *b

      Вид сзади разъема со стороны жгута проводов

      (к зажиму сервисного размыкателя цепи)

      Измерьте сопротивление в соответствии со значениями, приведенными в таблице.

      Номинальное сопротивление

      Подключение диагностического прибора

      Условие

      Номинальное значение

      A58-5 (ILKO) - P31-1 (ILK)

      Питание выключено

      Менее 1 Ом

    5. Подсоедините разъем Р31 зажима сервисного размыкателя цепи.

    6. Подсоедините разъем A58 преобразователя-инвертора в сборе.

    Результат

    Перейти к

    OK

    НЕ СООТВ.

    OK

    ОТРЕМОНТИРУЙТЕ ИЛИ ЗАМЕНИТЕ ЖГУТ ПРОВОДОВ ИЛИ РАЗЪЕМ (ЗАЖИМ СЕРВИСНОГО РАЗМЫКАТЕЛЯ ЦЕПИ – МАССА)

    NG

    ОТРЕМОНТИРУЙТЕ ИЛИ ЗАМЕНИТЕ ЖГУТ ПРОВОДОВ ИЛИ РАЗЪЕМ (ПРЕОБРАЗОВАТЕЛЬ-ИНВЕРТОР В СБОРЕ – ЗАЖИМ СЕРВИСНОГО РАЗМЫКАТЕЛЯ ЦЕПИ)