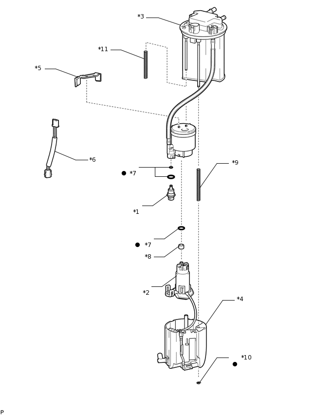
АДСОРБЕР УЗЛЫ И ДЕТАЛИ
ИЛЛЮСТРАЦИЯ
*1 |
РЕГУЛЯТОР ДАВЛЕНИЯ ТОПЛИВА В СБОРЕ |
*2 |
ТОПЛИВНЫЙ НАСОС В СБОРЕ С ФИЛЬТРОМ |
*3 |
ПЛАСТИНА ТОПЛИВОЗАБОРНИКА В СБОРЕ (АДСОРБЕР) |
*4 |
ВСПОМОГАТЕЛЬНЫЙ ТОПЛИВНЫЙ БАК № 1 |
*5 |
ОПОРА ТОПЛИВОЗАБОРНИКА № 1 |
*6 |
ЖГУТ ПРОВОДОВ ТОПЛИВНОГО НАСОСА |
*7 |
КОЛЬЦЕВОЕ УПЛОТНЕНИЕ |
*8 |
РАСПОРНАЯ ВТУЛКА ТОПЛИВНОГО НАСОСА |
*9 |
АМОРТИЗАТОР ТОПЛИВНОГО БАКА № 3 |
*10 |
УСТАНОВОЧНЫЙ ДЕРЖАТЕЛЬ ТРУБЫ ТОПЛИВНОГО БАКА |
*11 |
АМОРТИЗАТОР ТОПЛИВНОГО БАКА № 2 |
- |
- |
● |
Деталь однократного применения |
- |
- |