SIDE AIRBAG SENSOR INSTALLATION

CAUTION / NOTICE / HINT

Tip:
  • Use the same procedure for the RH and LH sides.

  • The procedure listed below is for the LH side.

PROCEDURE

  1. INSTALL DOOR SIDE AIRBAG SENSOR LH

    1. Check that the power switch is off.

    2. Check that the cable is disconnected from the auxiliary battery negative (-) terminal.

      CAUTION:

      Wait at least 90 seconds after disconnecting the cable from the auxiliary battery negative (-) terminal to disable the SRS system.

    3. Insert the pin (stopper) into the body hole to install the door side airbag sensor LH to the vehicle with the bolt.

      9.0 N*m

      92 kgf*cm

      80 in.*lbf

      Note:
      • If the door side airbag sensor has been dropped, or there are any cracks, dents or other defects in the case or connector, replace it with a new one.

      • When installing the door side airbag sensor, be careful that the SRS wiring does not interfere with or is not pinched between other parts.

      • Make sure that the pin (stopper) is securely inserted into the body hole.

      • Tighten the bolt while holding the door side airbag sensor because the door side airbag sensor pin (stopper) is easily damaged.

    4. Connect the connector to the door side airbag sensor LH.

      Note:

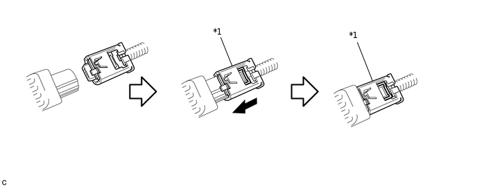
      When connecting any airbag connector, take care not to damage the airbag wire harness.

      1. While holding the outer housing, be sure to engage the connectors until they are locked and check that the outer housing is in its original position (when locking, make sure that a click sound can be heard).

        C198070C09

        *1

        Outer Housing

        -

        -

    5. Check that there is no looseness in the installation parts of the door side airbag sensor LH.

  2. INSTALL FRONT DOOR TRIM BOARD SUB-ASSEMBLY LH

  3. INSTALL FRONT DOOR INSIDE HANDLE BEZEL PLUG LH

  4. INSTALL FRONT DOOR ASSIST GRIP COVER LH

  5. INSTALL POWER WINDOW REGULATOR MASTER SWITCH ASSEMBLY WITH FRONT DOOR ARMREST BASE PANEL

  6. INSTALL FRONT DOOR LOWER FRAME BRACKET GARNISH LH

  7. CONNECT CABLE TO AUXILIARY BATTERY NEGATIVE TERMINAL

    Note:

    When disconnecting the cable, some systems need to be initialized after the cable is reconnected.

    Click hereClick hereClick here

  8. INSTALL BATTERY SERVICE COVER

  9. INSTALL DECK BOARD ASSEMBLY

  10. PERFORM DIAGNOSTIC SYSTEM CHECK

  11. CHECK SRS WARNING LIGHT