ВЫПУСКНАЯ ТРУБА УСТАНОВКА

ПОРЯДОК ВЫПОЛНЕНИЯ

  1. УСТАНОВИТЕ ПОДОГРЕВАЕМЫЙ КИСЛОРОДНЫЙ ДАТЧИК (для ряда 2)

    Нажмите здесьClick here

  2. УСТАНОВИТЕ ПРИЕМНУЮ ТРУБУ В СБОРЕ

    Нажмите здесьClick here

  3. УСТАНОВИТЕ ПЕРЕДНЮЮ ВЫПУСКНУЮ ТРУБУ № 3

    1. Установите 2 новых прокладки выпускной трубы на приемную трубу № 3 в сборе.

    2. Установите приемную трубу № 3 в сборе на приемную трубу в сборе и выпускной коллектор (TWC: передний каталитический нейтрализатор) и закрепите 2 болтами и 2 гайками.

      55 Н*м

      561 кгс*см

      41 фунт-сила-фут

  4. УСТАНОВИТЕ ЦЕНТРАЛЬНУЮ ВЫПУСКНУЮ ТРУБУ В СБОРЕ (TWC: задний каталитический нейтрализатор)

    1. A128853

      При помощи штангенциркуля замерьте длину пружины сжатия в свободном состоянии.

      Номинальная длина

      43,0 мм (1,69 дюйма)

      Минимальная длина в свободном состоянии

      41,5 мм (1,63 дюйма)

      Если длина в свободном состоянии меньше минимально допустимой, замените пружину сжатия.

    2. Временно закрепите новую прокладку выпускной трубы на приемной трубе № 3 в сборе.

    3. A181728C68

      *1

      Приемная труба № 3 в сборе

      *2

      Прокладка выпускной трубы

      *a

      Деревянный брусок

      С помощью пластмассового молотка и деревянного бруска запрессуйте прокладку выпускной трубы настолько, чтобы ее поверхность оказалось заподлицо с приемной трубой № 3 в сборе.

      Note:
      • Правильно выберите направление установки прокладки выпускной трубы.

      • Прокладку выпускной трубы нельзя использовать повторно.

      • Не допускайте повреждения прокладки выпускной трубы.

      • Не допускайте вдавливания прокладок выпускными трубами при их соединении.

    4. Подсоедините центральную выпускную трубу в сборе (TWC: задний каталитический нейтрализатор) к 4 опорам выпускной трубы.

    5. Установите центральную выпускную трубу в сборе (TWC: задний каталитический нейтрализатор) на приемную трубу № 3 в сборе, и закрепите 2 болтами и 2 пружинами сжатия.

      43 Н*м

      438 кгс*см

      32 фунт-сила-фута

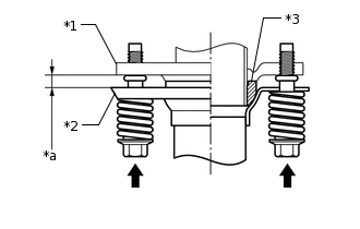
      A258966C28

      *1

      Центральная выпускная труба в сборе (TWC: задний каталитический нейтрализатор)

      *2

      Приемная труба № 3 в сборе

      *3

      Прокладка выпускной трубы

      *a

      Зазор между фланцами: 8,5 мм (0,335 дюйма)

      Tip:

      После установки убедитесь, что зазоры между фланцами центральной выпускной трубы в сборе (TWC: задний каталитический нейтрализатор) и приемной трубы № 3 в сборе в продольном и поперечном направлениях сопоставимы.

  5. УСТАНОВИТЕ ЗАДНЮЮ ВЫПУСКНУЮ ТРУБУ В СБОРЕ

    1. A128853

      При помощи штангенциркуля замерьте длину пружины сжатия в свободном состоянии.

      Номинальная длина

      43,0 мм (1,69 дюйма)

      Минимальная длина в свободном состоянии

      41,5 мм (1,63 дюйма)

      Если длина в свободном состоянии меньше минимально допустимой, замените пружину сжатия.

    2. Временно закрепите новую прокладку выпускной трубы на центральной выпускной трубе в сборе (TWC: задний каталитический нейтрализатор).

    3. A181728C68

      *1

      Центральная выпускная труба в сборе (TWC: задний каталитический нейтрализатор)

      *2

      Прокладка выпускной трубы

      *a

      Деревянный брусок

      С помощью пластмассового молотка и деревянного бруска легким постукиванием вбивайте прокладку выпускной трубы до тех пор, пока ее поверхность не окажется на одном уровне с центральной выпускной трубой в сборе (TWC: задний каталитический нейтрализатор).

      Note:
      • Правильно выберите направление установки прокладки выпускной трубы.

      • Прокладку выпускной трубы нельзя использовать повторно.

      • Не допускайте повреждения прокладки выпускной трубы.

      • Не допускайте вдавливания прокладок выпускными трубами при их соединении.

    4. Подсоедините заднюю выпускную трубу в сборе к 2 опорам выпускной трубы.

    5. Установите заднюю выпускную трубу в сборе на центральную выпускную трубу в сборе (TWC: задний каталитический нейтрализатор) и закрепите 2 болтами и 2 пружинами сжатия.

      43 Н*м

      438 кгс*см

      32 фунт-сила-фута

      A258941C37

      *1

      Центральная выпускная труба в сборе (TWC: задний каталитический нейтрализатор)

      *2

      Задняя выпускная труба в сборе

      *3

      Прокладка выпускной трубы

      *a

      Зазор между фланцами: 8,5 мм (0,335 дюйма)

      Tip:

      После установки проверьте зазоры между фланцами задней выпускной трубы и центральной выпускной трубы (TWC: задний каталитический нейтрализатор) в продольном и поперечном направлениях сопоставимы.

  6. УСТАНОВИТЕ ГАСИТЕЛЬ КОЛЕБАНИЙ ВЫПУСКНОЙ ТРУБЫ

    1. Установите гаситель колебаний выпускной трубы на центральную выпускную трубу в сборе (TWC: задний каталитический нейтрализатор) и закрепите 2 болтами.

      19 Н*м

      194 кгс*см

      14 фунт-сила-футов

  7. УСТАНОВИТЕ ПОДОГРЕВАЕМЫЙ КИСЛОРОДНЫЙ ДАТЧИК (для ряда 1)

    Нажмите здесьClick here

  8. УСТАНОВИТЕ ЛЕВУЮ ПАНЕЛЬ ПЕРЕДНЕГО ПОЛА

    Нажмите здесьClick here

  9. ПРОВЕРЬТЕ, НЕТ ЛИ УТЕЧЕК ОТРАБОТАВШИХ ГАЗОВ

    При наличии утечки газа затяните соединения в местах утечки. При необходимости замените поврежденные детали.

    1. После ремонта с целью устранения утечки отработавших газов выполните процедуру "Проверка после ремонта".

      • Для моделей с модулем насоса адсорбера:

        Нажмите здесьClick here

      • Для моделей без модуля насоса адсорбера:

        Нажмите здесьClick here