| DTC Code | DTC Name |
|---|---|
| B1825/56 | Short in Side Squib LH Circuit |
| B1826/56 | Open in Side Squib LH Circuit |
| B1827/56 | Short to GND in Side Squib LH Circuit |
| B1828/56 | Short to B+ in Side Squib LH Circuit |
DESCRIPTION
The front side squib LH circuit consists of the airbag ECU assembly and front seat airbag assembly LH.
The airbag ECU assembly uses this circuit to deploy the airbag when deployment conditions are met.
These DTCs are stored when a malfunction is detected in the front side squib LH circuit.
| DTC No. | DTC Detection Condition | Trouble Area |
|---|---|---|
| B1825/56 |
|
|
| B1826/56 |
|
|
| B1827/56 |
|
|
| B1828/56 |
|
WIRING DIAGRAM
| *a | Front Seat Airbag Assembly LH (Front Side Squib LH) |
| *b | Airbag ECU Assembly |
CAUTION / NOTICE / HINT
Note
After turning the power switch off, waiting time may be required before disconnecting the cable from the negative (-) auxiliary battery terminal. Therefore, make sure to read the disconnecting the cable from the negative (-) auxiliary battery terminal notices before proceeding with work Click here.
Tech Tips
Perform the simulation method by selecting check mode (Signal Check) using the GTS Click here.
After selecting check mode (Signal Check), perform the simulation method by wiggling each connector of the airbag system or driving the vehicle on a city road or rough road Click here.
PROCEDURE
CHECK CONNECTORS
| *1 | Front Seat Airbag Assembly LH |
| *2 | Airbag ECU Assembly |
| *3 | Floor Wire |
Turn the power switch off.
Disconnect the cable from the negative (-) auxiliary battery terminal.
CAUTION:
Wait at least 90 seconds after disconnecting the cable from the negative (-) auxiliary battery terminal to disable the SRS system.
Check that the connectors are properly connected to the front seat airbag assembly LH and airbag ECU assembly.
| OK |
|---|
| The connectors are properly connected. |
Tech Tips
If the connectors are not connected securely, reconnect the connectors and proceed to the next inspection.
Disconnect the connectors from the front seat airbag assembly LH and airbag ECU assembly.
Check that the terminals of the connectors are not damaged.
| OK |
|---|
| The terminals are not deformed or damaged. |
Check that the short spring for the floor wire with the activation prevention mechanism is not deformed or damaged.
| OK |
|---|
| The short spring is not deformed or damaged. |
| NG |
|
REPLACE FLOOR WIRE |
| OK |
|
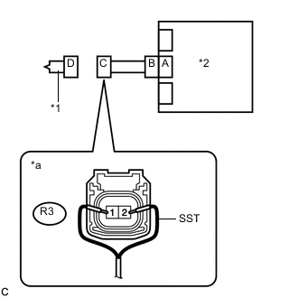
CHECK FRONT SEAT AIRBAG ASSEMBLY LH (FRONT SIDE SQUIB LH)
| *1 | Front Seat Airbag Assembly LH |
| *2 | Airbag ECU Assembly |
| *a | Front view of wire harness connector (to Front Seat Airbag Assembly LH) |
Connect the connector to the airbag ECU assembly.
Connect SST (resistance 2.1 Ω) to connector C.
CAUTION:
Never connect the tester to the front seat airbag assembly LH (front side squib LH) for measurement, as this may lead to a serious injury due to airbag deployment.
Note
Do not forcibly insert SST into the terminals of the connector when connecting it.
Insert SST straight into the terminals of the connector.
Connect the cable to the negative (-) auxiliary battery terminal.
Clear the DTCs stored in memory Click here.
Turn the power switch off.
Turn the power switch on (IG), and wait for at least 60 seconds.
Check for DTCs Click here.
| OK |
|---|
| DTC B1825/56, B1826/56, B1827/56 or B1828/56 is not output. |
Tech Tips
Codes other than DTCs B1825/56, B1826/56, B1827/56 and B1828/56 may be output at this time, but they are not related to this check.
Turn the power switch off.
Disconnect the cable from the negative (-) auxiliary battery terminal.
CAUTION:
Wait at least 90 seconds after disconnecting the cable from the negative (-) auxiliary battery terminal to disable the SRS system.
Disconnect SST from connector C.
| OK |
|
REPLACE FRONT SEAT AIRBAG ASSEMBLY LH Click here |
| NG |
|
CHECK FLOOR WIRE
| *1 | Front Seat Airbag Assembly LH |
| *2 | Airbag ECU Assembly |
| *3 | Floor Wire |
| *a | Front view of wire harness connector (to Front Seat Airbag Assembly LH) |
Disconnect the floor wire from the airbag ECU assembly.
Check for a short to B+ in the circuit.
Connect the cable to the negative (-) auxiliary battery terminal.
Turn the power switch on (IG).
Measure the voltage according to the value(s) in the table below.
| Standard Voltage | |||||||||
|---|---|---|---|---|---|---|---|---|---|
|
Turn the power switch off.
Disconnect the cable from the negative (-) auxiliary battery terminal.
CAUTION:
Wait at least 90 seconds after disconnecting the cable from the negative (-) auxiliary battery terminal to disable the SRS system.
Check for an open in the circuit.
Measure the resistance according to the value(s) in the table below.
| Standard Resistance | ||||||
|---|---|---|---|---|---|---|
|
Check for a short to ground in the circuit.
Measure the resistance according to the value(s) in the table below.
| Standard Resistance | |||||||||
|---|---|---|---|---|---|---|---|---|---|
|
Check for a short in the circuit.
Release the activation prevention mechanism built into connector B Click here.
Measure the resistance according to the value(s) in the table below.
| Standard Resistance | ||||||
|---|---|---|---|---|---|---|
|
Restore the released activation prevention mechanism of connector B to the original condition.
| NG |
|
REPLACE FLOOR WIRE |
| OK |
|
CHECK DTC
| *1 | Front Seat Airbag Assembly LH |
| *2 | Airbag ECU Assembly |
Connect the connectors to the front seat airbag assembly LH and airbag ECU assembly.
Connect the cable to the negative (-) auxiliary battery terminal.
Clear the DTCs stored in memory Click here.
Turn the power switch off.
Turn the power switch on (IG), and wait for at least 60 seconds.
Check for DTCs Click here.
| OK |
|---|
| DTC B1825/56, B1826/56, B1827/56 or B1828/56 is not output. |
Tech Tips
Codes other than DTCs B1825/56, B1826/56, B1827/56 and B1828/56 may be output at this time, but they are not related to this check.
| OK |
|
USE SIMULATION METHOD TO CHECK Click here |
| NG |
|
REPLACE AIRBAG ECU ASSEMBLY Click here |