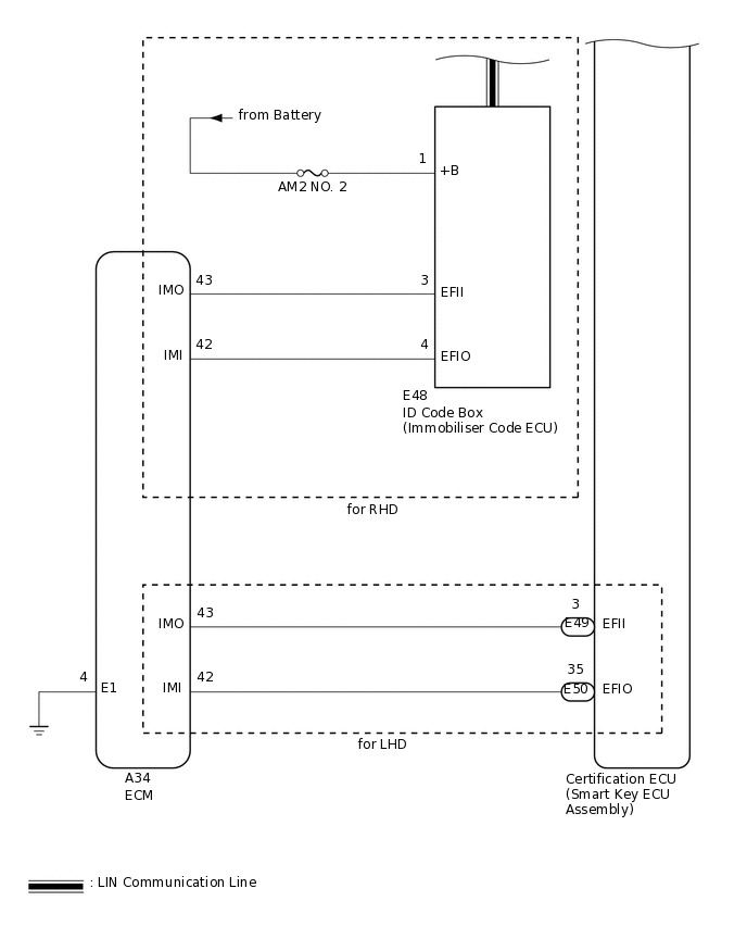
IMMOBILISER SYSTEM(w/ Entry and Start System) SYSTEM DIAGRAM

B364304E03
B506731E01