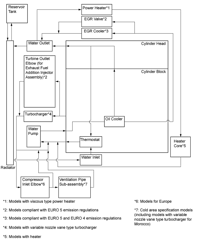
COOLING SYSTEM SYSTEM DIAGRAM

A01EZNYE03