INNER REAR VIEW MIRROR CALIBRATION

  1. SELECT COMPASS DISPLAY MODE

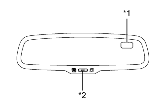
    1. The AUTO switch allows selection of the compass display.

      A011XPZE01
      Text in Illustration
      *1 Compass Display
      *2 AUTO Switch
  2. SET ZONE

    1. The compass indicates the direction that the vehicle is heading by detecting the direction and strength of the earth's magnetic field (magnetic north). However, there is a difference between magnetic north and actual north depending on the location of the vehicle. To compensate for this difference, it is necessary to set the zone in which the vehicle will be used (refer to Compass Zone Map). The zone setting can be changed using the AUTO switch of the inner mirror.

  3. PERFORM CALIBRATION

    1. Because each vehicle has its own magnetic field, calibration should be performed. The calibration function is used to compensate for the residual magnetism of the vehicle.

  4. WHEN COMPASS IS MAGNETIZED

    1. The compass or vehicle may become magnetized while the vehicle is being shipped. As a result, it is necessary to perform calibration for the compass before the vehicle is delivered to the customer. If calibration cannot be performed successfully (calibration cannot be completed in spite of driving around several times), it may be caused by excessive magnetization of the vehicle. Demagnetize the vehicle using a demagnetizer and perform calibration again.

  5. SET COMPASS

    A011YSME36
  6. ZONE SETTING MODE

    1. When the compass is in normal mode, pressing the AUTO switch for 6 seconds will activate zone setting mode. A number from 1 to 15 will be displayed on the compass display.

      Tech Tips

      If the initial zone setting has not been changed, 8 will be displayed.

    2. The displayed number increases by 1 every time the AUTO switch is pressed. Referring to the compass zone map, check the number for the area where the vehicle will be used and set the zone number.

    3. Do not touch the AUTO switch for several seconds after setting the zone. Check that the compass display shows a direction (N, NE, E, SE, S, SW, W or NW).

  7. CALIBRATION MODE

    1. When the compass is in normal mode, pressing the AUTO switch for 12 seconds will activate calibration mode.

    2. Drive the vehicle in a circle at a speed of 8 km/h (5 mph) or less.

      A011VZ5
    3. After driving around in a circle 1 to 3 times, the direction (N, NE, E, SE, S, SW, W or NW) will be displayed on the compass display. This indicates that calibration has finished.

      Tech Tips

      After calibration is performed, it is not necessary to repeat the calibration procedure unless the magnetic field of the vehicle changes drastically. If the magnetic field changes drastically, the compass display will indicate "C".

      A011WB7E05
      Text in Illustration
      *a Compass Zone Map - -
      A011Y5IE02
      Text in Illustration
      *a Compass Zone Map - -