FRONT SUSPENSION MEMBER INSTALLATION

  1. INSTALL HOLE PLUG

    1. Install each hole plug to the front frame assembly.

  2. INSTALL FRONT SUSPENSION MEMBER BODY MOUNTING REAR CUSHION LH

    1. Temporarily install a new front suspension member body mounting rear cushion LH while confirming the installation direction.

      A011YA7E01
      Text in Illustration
      *a View from Underneath
      A011YFS Front of the Vehicle

      Note

      Position the front suspension member body mounting rear cushion LH in the correct direction.

    2. Install SST as shown in the illustration.

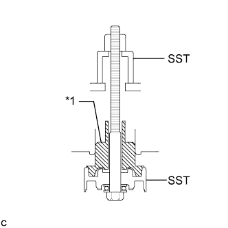
      A011WWYE03
      Text in Illustration
      *1 Front Suspension Member Body Mounting Rear Cushion LH
      SST
      09830-10010   ( 09830-01010, 09830-01020, 09830-01030, 09830-01060 )
    3. Using SST, install the front suspension member body mounting rear cushion LH as shown in the illustration.

      A011VDBE05
      Text in Illustration
      *a Hold
      *b Turn

      Note

      Check that there is no clearance between the front suspension member and the front suspension member body mounting rear cushion LH.

  3. INSTALL FRONT SUSPENSION MEMBER BODY MOUNTING REAR CUSHION RH

    1. Temporarily install a new front suspension member body mounting rear cushion RH while confirming the installation direction.

      A011XZ3E01
      Text in Illustration
      *a View from Underneath
      A011YFS Front of the Vehicle

      Note

      Position the front suspension member body mounting rear cushion RH in the correct direction.

    2. Install SST using the same procedure as the front suspension member body mounting rear cushion LH.

      SST
      09830-10010   ( 09830-01010, 09830-01020, 09830-01030, 09830-01060 )
    3. Using SST, install the front suspension member body mounting rear cushion RH.

      SST
      09830-10010   ( 09830-01010, 09830-01020, 09830-01030, 09830-01060 )

      Tech Tips

      Perform the same procedure as the LH side.

  4. INSTALL FRONT SUSPENSION MEMBER BODY MOUNTING FRONT CUSHION

    1. Temporarily install a new front suspension member body mounting front cushion while confirming the installation direction.

      A011Z3FE01
      Text in Illustration
      *a View from Underneath
      A011YFS Front of the Vehicle

      Note

      Position the front suspension member body mounting front cushion in the correct direction.

    2. Install SST using the same procedure as the front suspension member body mounting rear cushion LH.

      SST
      09830-10010   ( 09830-01010, 09830-01020, 09830-01030, 09830-01060 )
    3. Using SST, install the front suspension member body mounting front cushion as shown in the illustration.

      A011VV7E05
      Text in Illustration
      *a Hold
      *b Turn
      SST
      09830-10010   ( 09830-01010, 09830-01020, 09830-01030, 09830-01060 )

      Note

      Check that there is no clearance between the front suspension member and the front suspension member body mounting front cushion.

  5. INSTALL FRONT SUSPENSION MEMBER BODY MOUNTING REAR STOPPER

    1. Install the 2 front suspension member body mounting rear stoppers to the front frame assembly.

  6. INSTALL FRONT SUSPENSION MEMBER BODY MOUNTING FRONT STOPPER

    1. Install the 2 front suspension member body mounting front stoppers to the front frame assembly.

  7. INSTALL FRONT SUSPENSION MEMBER DYNAMIC DAMPER

    1. Install the front suspension member dynamic damper to the front frame assembly with the 2 bolts.

      Torque:
      29 N*m  { 296 kgf*cm, 21 ft.*lbf }
  8. INSTALL FRONT LOWER NO. 1 SUSPENSION ARM SUB-ASSEMBLY LH

    1. Install the front lower arm bushing stopper to the front lower No. 1 suspension arm sub-assembly.

    2. Install the front lower No. 1 suspension arm sub-assembly to the front frame assembly with the 3 bolts and nut in the order shown in the illustration.

      A011XY8E01
      Torque:
      Bolt 1, 2
      200 N*m  { 2039 kgf*cm, 148 ft.*lbf }
      Bolt 3
      135 N*m  { 1377 kgf*cm, 100 ft.*lbf }

      Note

      While keeping the nut from rotating, tighten the bolt.

  9. INSTALL FRONT LOWER NO. 1 SUSPENSION ARM SUB-ASSEMBLY RH

    Tech Tips

    Perform the same procedure as the LH side.

  10. INSTALL STEERING LINK ASSEMBLY

    1. Install the steering link assembly with the 2 bolts and 2 nuts.

      Torque:
      70 N*m  { 714 kgf*cm, 52 ft.*lbf }

      Note

      • Keep the nut from rotating while turning the bolt because the nut has its own stopper.

      • Make sure to tighten the bolts starting from the pinion shaft side.

  11. INSTALL FRONT STABILIZER BAR WITH FRONT STABILIZER LINK ASSEMBLY

    1. Install the front stabilizer bar with 2 front stabilizer link assemblies to the front frame assembly.

  12. INSTALL FRONT NO. 1 STABILIZER BRACKET LH

    1. Install the front No. 1 stabilizer bracket LH to the front frame assembly with the 2 bolts.

      Torque:
      27 N*m  { 275 kgf*cm, 20 ft.*lbf }
  13. INSTALL FRONT NO. 1 STABILIZER BRACKET RH

    Tech Tips

    Perform the same procedure as the LH side.

  14. INSTALL ENGINE MOUNTING INSULATOR LH

    1. Temporarily install the engine mounting insulator LH with the 3 nuts.

      Tech Tips

      Perform this procedure only when replacement of the engine mounting insulator LH is necessary.

  15. INSTALL ENGINE MOUNTING INSULATOR RH

    1. Temporarily install the engine mounting insulator RH with the 3 nuts.

      Tech Tips

      Perform this procedure only when replacement of the engine mounting insulator RH is necessary.

  16. INSTALL FRONT ENGINE MOUNTING INSULATOR

    1. Temporarily install the front engine mounting insulator with the 3 nuts.

      Tech Tips

      Perform this procedure only when replacement of the front engine mounting insulator is necessary.

  17. INSTALL FRONT FRAME ASSEMBLY

    Click here