ENGINE UNIT REASSEMBLY

  1. INSTALL RING PIN

    Note

    It is not necessary to remove the ring pin unless it is being replaced.

    1. Using a plastic-faced hammer, tap in 2 ring pins until they stop.

      A011XIKE03
      Text in Illustration
      *a Protrusion Height
      Standard protrusion height
      4.3 to 5.3 mm (0.169 to 0.209 in.)
  2. INSTALL ENGINE BALANCER ASSEMBLY

    1. Check that the alignment marks of the balance shaft damper cover and balance shaft driven gear are aligned.

      A011X2ZE07
      Text in Illustration
      *1 Driven Gear
      *2 Damper Cover
      *a Alignment Mark

      If the alignment marks are not aligned, realign them.

      1. Place a wrench on the rear cutout part of the No. 2 balance shaft and secure the shaft in place.

        A011YLWE07
        Text in Illustration
        *1 Driven Gear
        *2 Damper Cover
        *a Alignment Mark
      2. Rotate the balance shaft driven gear of the No. 1 balance shaft counterclockwise to align the alignment mark of the balance shaft driven gear with the alignment mark of the balance shaft damper cover.

    2. Install the engine balancer assembly to the stiffening crankcase with the 3 bolts, and tighten the bolts in the sequence shown in the illustration.

      A011XTJE01
      Torque:
      24 N*m  { 245 kgf*cm, 18 ft.*lbf }
  3. INSTALL STUD BOLT

    Note

    If a stud bolt is deformed or the threads are damaged, replace it.

    1. Using an E5 and E8 "TORX" socket wrench, install the 3 stud bolts.

      A011VMFE06
      Text in Illustration
      *a Front Side *b Lower Side
      Torque:
      for Stud Bolt A
      9.5 N*m  { 97 kgf*cm, 84 in.*lbf }
      for Stud Bolt B
      4.0 N*m  { 41 kgf*cm, 35 in.*lbf }
  4. INSTALL STIFFENING CRANKCASE ASSEMBLY

    1. Rotate the crankshaft clockwise so that the crankshaft key is at the position 90° from the bottom as shown in the illustration.

      A011YEOE02
      Text in Illustration
      *1 Key
    2. Apply seal packing in a continuous line as shown in the illustration.

      A011WS7E01
      Text in Illustration
      A011WN4 Stiffening Crankcase
      A011W12 Cylinder Block
      Seal packing
      Toyota Genuine Seal Packing Black, Three Bond 1207B or equivalent
      Standard Seal Dimension
      Area Specified Condition
      Continuous Line 2.5 to 3.5 mm (0.0984 to 0.138 in.)
      Dashed Line 7.0 to 9.0 mm (0.276 to 0.354 in.) wide and 2.5 to 3.5 mm (0.0984 to 0.138 in.) thick
      Application Length A
      28 mm (1.10 in.)

      Note

      • Remove any oil from the contact surface.

      • Install the oil pan within 3 minutes after applying seal packing.

      • Do not apply oil for at least 2 hours after the installation.

    3. Check that the rear cutout parts are as shown in the illustration.

      A011VWYE03
      Text in Illustration
      *a Cutout
    4. Clean the bolts and their installation holes.

    5. Apply adhesive to 3 or more threads of the ends of bolts A.

      A011VZTE03
      Adhesive
      Toyota Genuine Adhesive 1344, Three Bond 1344 or equivalent
      Text in Illustration
      *1 Adhesive
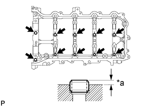
    6. Temporarily install the stiffening crankcase with the 11 bolts.

      A011XZ8E01
      Bolt Length
      Item Length
      Bolt A 65 mm (2.56 in.)
      Bolt B 35 mm (1.38 in.)
      Bolt C 125 mm (4.92 in.)
      Bolt D 165 mm (6.50 in.)

      Tech Tips

      Apply adhesive to bolts A before installation.

    7. Tighten the 11 bolts in the sequence shown in the illustration to install the stiffening crankcase

      A011XZ8E02
      Torque:
      for Bolt A
      24 N*m  { 245 kgf*cm, 18 ft.*lbf }
      except Bolt A
      43 N*m  { 438 kgf*cm, 32 ft.*lbf }
  5. INSTALL NO. 1 OIL PAN BAFFLE PLATE

    1. Install the No. 1 oil pan baffle plate and uniformly tighten the 5 bolts in several steps, in the sequence shown in the illustration.

      A011YQAE01
      Torque:
      10 N*m  { 102 kgf*cm, 7 ft.*lbf }
  6. INSTALL OIL STRAINER SUB-ASSEMBLY

    1. Apply a light coat of engine oil to a new gasket.

    2. Align the protrusion of the gasket with the cutout of the oil strainer, and install the gasket to the oil strainer sub-assembly.

      A011XZOE03
      Text in Illustration
      *a Protrusion
    3. Install the oil strainer sub-assembly with the 3 bolts in several steps, in the sequence shown in the illustration.

      Torque:
      9.0 N*m  { 92 kgf*cm, 80 in.*lbf }
  7. INSTALL OIL PAN SUB-ASSEMBLY

    1. Apply seal packing in a continuous line as shown in the illustration.

      A011VHCE01
      Seal packing
      Toyota Genuine Seal Packing Black, Three Bond 1207B or equivalent
      Standard seal diameter
      2.5 to 3.5 mm (0.0984 to 0.138 in.)

      Note

      • Remove any oil from the contact surface.

      • Install the oil pan within 3 minutes and tighten the bolts and nuts within 10 minutes after applying seal packing.

      • Do not apply oil for at least 2 hours after the installation.

    2. Install the oil pan with the 11 bolts and 2 nuts in several steps, in the sequence shown in the illustration.

      A011XM2E05
      Torque:
      10 N*m  { 102 kgf*cm, 7 ft.*lbf }
      Text in Illustration
      *1 Nut

      Tech Tips

      Bolt A and nut A are tightened twice.

  8. INSTALL OIL PAN DRAIN PLUG

    1. Install a new gasket and oil pan drain plug to the oil pan sub-assembly.

      Torque:
      40 N*m  { 408 kgf*cm, 30 ft.*lbf }
  9. INSTALL OIL FILTER CAP ASSEMBLY

    1. Clean the inside of the oil filter cap assembly, threads and O-ring groove.

    2. Apply a small amount of engine oil to a new O-ring and install it to the oil filter cap assembly.

      A011YDQE01
      Text in Illustration
      *1 O-ring
      *a Correct
      *b Incorrect

      Note

      • Be sure to install the O-ring in the proper location, otherwise oil may leak.

      • Do not twist the O-ring.

    3. Set a new oil filter element into the oil filter cap assembly.

    4. Remove any dirt or foreign matter from the installation surface of the engine.

    5. Apply a small amount of engine oil to the O-ring again and temporarily install the oil filter cap assembly.

      Note

      Make sure that the O-ring does not get caught between the parts.

    6. Using SST, tighten the oil filter cap assembly.

      A011YB1E01
      Text in Illustration
      *1 Oil Filter Cap Assembly
      *2 O-ring
      *3 Oil Filter Bracket
      *a No Gap
      SST
      09228-06501
      Torque:
      25 N*m  { 255 kgf*cm, 18 ft.*lbf }

      Note

      After tightening the oil filter cap assembly, make sure that there is no gap and that the O-ring is not protruding.

    7. Apply a small amount of engine oil to a new O-ring, and install it to the oil filter cap assembly.

      A011VCPE01
      Text in Illustration
      *1 O-ring

      Note

      Before installing the O-ring, remove any dirt or foreign matter from the installation surface of the oil filter cap assembly.

    8. Install the oil filter drain plug.

      Torque:
      13 N*m  { 127 kgf*cm, 10 ft.*lbf }

      Note

      Be careful that the O-ring does not get caught between any surrounding parts.

  10. INSTALL REAR ENGINE OIL SEAL

    1. Apply MP grease to the lip of a new oil seal.

      Note

      • Do not allow foreign matter to contact the lip of the oil seal.

      • Do not allow MP grease to contact the dust seal.

    2. Using SST and a hammer, tap in the oil seal until its surface is flush with the edges of the cylinder block and crankcase.

      A011VRVE01
      SST
      09223-15030
      09950-70010   ( 09951-07150 )

      Note

      • Keep the lip of the oil seal free from foreign matter.

      • Do not tap in the oil seal at an angle.

  11. INSTALL CYLINDER BLOCK WATER JACKET SPACER

    1. Install the cylinder block water jacket spacer to the cylinder block.

      A011XEN
  12. INSTALL CYLINDER HEAD GASKET

    1. Clean the cylinder block and cylinder head with solvent.

      A011WYME01
      Text in Illustration
      *1 Cylinder Head Gasket
      *2 Cylinder Block
      *a Lot No.
      *b 3.0 mm or more
      *c 20 mm or more
      A011YFS Seal Packing
      A011XJ4 Front
    2. Apply a continuous line of seal packing to a new cylinder head gasket as shown in the illustration.

      Seal packing
      Toyota Genuine Seal Packing Black, Three Bond 1207B or equivalent
      Standard seal dimension
      3.0 to 7.0 mm (0.118 to 0.276 in.) wide and 3.0 mm (0.118 in.) thick

      Tech Tips

      Apply at least 20 mm (0.787 in.) of seal packing from the inside edge of the protrusion of the cylinder block.

      Note

      • Remove any oil from the contact surface.

      • Install the cylinder head gasket within 3 minutes and tighten the bolts within 15 minutes after applying seal packing.

    3. Place a new cylinder head gasket on the cylinder block surface with the front face of the Lot No. stamp facing upward.

      Note

      Pay attention to the installation direction.

  13. INSTALL CYLINDER HEAD SUB-ASSEMBLY

    Tech Tips

    The cylinder head bolts are tightened in 4 progressive steps.

    1. Place the cylinder head on the cylinder block.

      Note

      • Ensure that no oil is on the mounting surface of the cylinder head.

      • Place the cylinder head on the cylinder block gently in order not to damage the gasket with the bottom part of the head.

    2. Install the plate washers to the cylinder head bolts.

    3. Apply a light coat of engine oil to the threads and under the heads of the cylinder head bolts.

    4. Step 1:

      1. Using a 10 mm bi-hexagon wrench, install and uniformly tighten the 10 cylinder head bolts in several steps, in the sequence shown in the illustration.

        A011YOKE02
        Torque:
        36 N*m  { 367 kgf*cm, 27 ft.*lbf }

        Note

        Do not drop the plate washer for the cylinder head bolt into the cylinder head.

    5. Step 2:

      1. Tighten the cylinder head bolts again in the sequence shown in the illustration to make sure that they are tightened to the specified torque.

        Torque:
        36 N*m  { 367 kgf*cm, 27 ft.*lbf }
    6. Step 3:

      1. Mark each cylinder head bolt head with paint as shown in the illustration.

        A011VH2E05
        Text in Illustration
        A011XJ4 Front
        *a Painted Mark
      2. Tighten the cylinder head bolts 90° in the sequence shown in step 1.

    7. Step 4:

      1. Tighten the cylinder head bolts another 90° in the sequence shown in step 1.

      2. Check that the paint marks are now facing rearward.

        Note

        • Do not apply oil for at least 2 hours after installation.

        • Do not start the engine for at least 2 hours after installation.

        • After installation, if the seal packing has seeped out, wipe it off.

        Tech Tips

        Perform "Inspection After Repair" after replacing the cylinder head sub-assembly Click here.

  14. INSTALL CAMSHAFT BEARING CAP SETTING RING PIN

    Note

    It is not necessary to remove the ring pin unless it is being replaced.

    1. Using a plastic-faced hammer, tap in 10 camshaft bearing cap setting ring pins to the camshaft housing sub-assembly.

      A011Y79E03
      Text in Illustration
      *a Protrusion Height
      Standard protrusion height
      2.7 to 3.3 mm (0.106 to 0.130 in.)
  15. INSTALL STRAIGHT PIN

    Note

    It is not necessary to remove the straight pin unless it is being replaced.

    1. Using a plastic-faced hammer, tap in 2 straight pins to the camshaft housing sub-assembly.

      A011WSWE03
      Text in Illustration
      *a Protrusion Height
      Standard protrusion height
      5.0 to 7.0 mm (0.197 to 0.276 in.)
  16. INSTALL STUD BOLT

    Note

    If a stud bolt is deformed or the threads are damaged, replace it.

    1. When reusing the stud bolt.

      1. Apply adhesive to threads of the stud bolt.

        Adhesive
        Toyota Genuine Adhesive 1324, Three Bond 1324 or equivalent
    2. Using an E8 "TORX" socket wrench, install the camshaft housing stud bolt.

      A011Z47E01
      Torque:
      9.0 N*m  { 92 kgf*cm, 80 in.*lbf }
  17. INSTALL NO. 1 CAMSHAFT BEARING

    1. Clean the No. 1 camshaft bearing.

    2. Install the No. 1 camshaft bearing to the No. 1 camshaft bearing cap.

      A011XTOE02
      Text in Illustration
      *1 Vernier Caliper
    3. Using a vernier caliper, measure the distance between the No. 1 camshaft bearing cap edge and the No. 1 camshaft bearing edge.

      Standard dimension A - B or B - A
      0 to 0.7 mm (0 to 0.0276 in.)
  18. INSTALL NO. 2 CAMSHAFT BEARING

    1. Clean the No. 2 camshaft bearing.

    2. Install the No. 2 camshaft bearing to the camshaft housing sub-assembly.

      A011W2BE04
      Text in Illustration
      *1 Vernier Caliper
    3. Using a vernier caliper, measure the distance between the camshaft housing edge and the No. 2 camshaft bearing edge.

      Standard distance
      1.15 to 1.85 mm (0.0453 to 0.0728 in.)
  19. INSTALL OIL CONTROL VALVE FILTER

    1. Install the oil control valve filter to the No. 1 camshaft bearing cap.

      A011XGR
  20. INSTALL CAMSHAFT

    1. Clean the camshaft journals, camshaft housing and bearing caps.

    2. Apply a light coat of engine oil to the camshaft journal, camshaft housing and bearing caps.

    3. Install the camshaft and No. 2 camshafts to the camshaft housing.

      Tech Tips

      Perform "Inspection After Repair" after replacing the camshaft or No. 2 camshaft Click here.

  21. INSTALL CAMSHAFT BEARING CAP

    1. Confirm the marks and numbers on the camshaft bearing caps and place them in their proper positions and directions.

      A011W1BE02
    2. Install the 11 bolts in the order shown in the illustration.

      A011YJKE04
      Torque:
      16 N*m  { 163 kgf*cm, 12 ft.*lbf }

      Note

      Make sure that the camshaft rotates smoothly after installing the bearing caps.

  22. INSTALL VALVE STEM CAP

    1. Apply a light coat of engine oil to the valve stem ends.

    2. Install the 16 valve stem caps to the cylinder head.

      Note

      Do not drop the valve stem caps into the cylinder head.

  23. INSTALL VALVE LASH ADJUSTER ASSEMBLY

    1. Inspect the valve lash adjuster before installing it Click here.

    2. Install the 16 lash adjusters to the cylinder head.

      Note

      Install the lash adjuster to the same place it was removed from.

  24. INSTALL NO. 1 VALVE ROCKER ARM SUB-ASSEMBLY

    1. Apply engine oil to the lash adjuster tips and valve stem caps.

      A011WPWE06
      Text in Illustration
      *1 Valve Rocker Arm
      *2 Valve Lash Adjuster
      *3 Valve Stem Cap
    2. Install the 16 valve rocker arms as shown in the illustration.

  25. INSTALL CAMSHAFT HOUSING SUB-ASSEMBLY

    1. Check that the valve rocker arms are installed as shown in the illustration.

      A011WHKE03
      Text in Illustration
      *1 Valve Rocker Arm
      *2 Valve Stem Cap
      *3 Valve Lash Adjuster
      *a INCORRECT
      *b CORRECT
    2. Apply seal packing in a continuous line as shown in the illustration.

      A011YO6E01
      Seal packing
      Toyota Genuine Seal Packing Black, Three Bond 1207B or equivalent
      Standard seal diameter
      3.0 to 4.0 mm (0.118 to 0.157 in.)

      Note

      • Remove any oil from the contact surface.

      • Install the camshaft housing within 3 minutes and tighten the bolts within 10 minutes after applying seal packing.

    3. Position the knock pin of the No. 1 and No. 2 camshafts as shown in the illustration.

      A011W66E02
      Text in Illustration
      *1 Knock Pin
      *a Approximately 17°
      *b Approximately 2°
    4. Install the camshaft housing, and then install the 20 bolts in the order shown in the illustration.

      A011VUHE04
      Torque:
      27 N*m  { 275 kgf*cm, 20 ft.*lbf }

      Note

      • Do not apply oil for at least 2 hours after the installation.

      • Do not start the engine for at least 2 hours after the installation.

      • Thoroughly wipe clean any seal packing.

  26. INSTALL CAMSHAFT TIMING SPROCKET

    1. Using a wrench to hold the hexagonal portion of the No. 2 camshaft, and install the camshaft timing sprocket with the bolt.

      A011W4KE02
      Text in Illustration
      *a Hold
      *b Turn
      Torque:
      85 N*m  { 867 kgf*cm, 63 ft.*lbf }

      Note

      Be careful not to damage the cylinder head or spark plug tube with the wrench.

  27. INSTALL CAMSHAFT TIMING GEAR ASSEMBLY

    1. Check the camshaft timing gear position.

      A011YBUE02
      Text in Illustration
      *1 Knock Pin Hole
      *2 Alignment Mark

      If the camshaft timing gear is not set to the advanced position, release the lock pin and reset the camshaft timing gear (Refer to the "Set Camshaft Timing Gear Assembly" procedure").

    2. Align and attach the knock pin of the No. 1 camshaft with the pin hole of the camshaft timing gear.

      A011X1OE02
      Text in Illustration
      *1 Pin Hole
      *2 Knock Pin
    3. Check that there is no clearance between the camshaft timing gear and camshaft flange.

      A011VFNE11
      Text in Illustration
      *1 Camshaft Timing Gear
      *2 Flange
      *a INCORRECT
      *b CORRECT
      *c Clearance
      *d No Clearance
    4. Using a wrench to hold the hexagonal portion of the No. 1 camshaft, install the bolt.

      A011XNOE02
      Text in Illustration
      *a Hold
      *b Turn
      Torque:
      85 N*m  { 867 kgf*cm, 63 ft.*lbf }

      Note

      • Be careful not to damage the cylinder head or spark plug tube with the wrench.

      • Do not disassemble the camshaft timing gear.

      Tech Tips

      Perform "Inspection After Repair" after replacing the camshaft timing gear assembly Click here.

  28. INSTALL CRANKSHAFT TIMING SPROCKET

    1. Install the crankshaft timing sprocket to the crankshaft.

      A011VCY
  29. ADD ENGINE OIL

    1. Add 50 cc (3.1 cu. in) of engine oil into the oil hole shown in the illustration.

      A011W5M

      Note

      • Oil must be added if the lash adjusters were removed.

      • Make sure that the low pressure chamber and oil paths of the lash adjusters are full of engine oil.

  30. INSTALL NO. 1 CHAIN VIBRATION DAMPER

    1. Install the chain vibration damper with the 2 bolts.

      A011W24E02
      Torque:
      21 N*m  { 214 kgf*cm, 15 ft.*lbf }
  31. SET NO. 1 CYLINDER TO TDC/COMPRESSION

    1. Temporarily install the crankshaft pulley bolt.

      A011Y8VE02
    2. Rotate the crankshaft 40° counterclockwise to position the crankshaft pulley key as shown in the illustration.

    3. Check that the timing marks of the camshaft timing gears are as shown in the illustration.

      A011XGXE02
      Text in Illustration
      *a Timing Mark
      *b Approximately 7°
      *c Approximately 32°

      Tech Tips

      "A" is not a timing mark.

  32. INSTALL CHAIN SUB-ASSEMBLY

    1. Place the chain onto the camshaft timing gears and crankshaft timing sprocket.

      Tech Tips

      • Make sure the mark plate of the chain faces away from the engine.

      • It is not necessary to install the chain to the teeth of the gears and sprocket.

    2. Align the mark plate (yellow or gold) of the chain with the timing mark of the camshaft timing sprocket and install the chain to the camshaft timing sprocket.

      A011Z6GE02
      Text in Illustration
      *a Mark Plate
      *b Timing Mark
    3. Align the mark plate (pink or gold) of the chain with the timing mark of the crankshaft timing sprocket and install the chain to the crankshaft timing sprocket.

      A011WRAE02
      Text in Illustration
      *1 Mark Plate
      *2 Timing Mark
    4. Tie a string above the crankshaft timing sprocket so that the chain is secure.

      A011YPH
    5. Using the hexagonal portion of the intake camshaft, rotate the intake camshaft counterclockwise with a wrench, align the timing mark of the camshaft timing gear with the mark plate (yellow or gold) of the chain and install the chain to the camshaft timing gear.

      A011YPOE02
      Text in Illustration
      *1 Mark Plate
      *2 Timing Mark

      Tech Tips

      Hold the intake camshaft in place with a wrench until the chain tensioner is installed.

    6. Remove the string above the crankshaft timing sprocket, rotate the crankshaft clockwise, and loosen the chain so that the chain tensioner slipper can be installed.

      A011WCQ

      Note

      Make sure the chain is secure.

  33. INSTALL CHAIN TENSIONER SLIPPER

    1. Install the chain tensioner slipper with the bolt.

      A011YTL
      Torque:
      21 N*m  { 214 kgf*cm, 15 ft.*lbf }
  34. INSTALL NO. 1 CHAIN TENSIONER ASSEMBLY

    1. Install a new gasket and the chain tensioner with the 2 bolts.

      A011WRB
      Torque:
      10 N*m  { 102 kgf*cm, 7 ft.*lbf }
    2. Remove the pin from the stopper plate.

  35. INSTALL TIMING CHAIN GUIDE

    1. Install the timing chain guide with the bolt.

      A011WV8
      Torque:
      21 N*m  { 214 kgf*cm, 15 ft.*lbf }
  36. SET NO. 1 CYLINDER TO TDC/COMPRESSION

    1. Temporarily install the crankshaft pulley bolt.

      A011WSEE06
      Text in Illustration
      *a Approximately 7° *b Approximately 32°
      *c Timing Mark *d Crankshaft pulley set key
    2. Rotate the crankshaft clockwise, and check that the timing marks on the crankshaft timing sprocket and camshaft timing gears are as shown in the illustration.

      Tech Tips

      "A" is not a timing mark.

    3. Remove the crankshaft pulley bolt.

  37. INSTALL TIMING CHAIN COVER PLATE

    1. Install a new gasket and the timing chain cover plate with the 4 bolts.

      A011XXZ
      Torque:
      10 N*m  { 102 kgf*cm, 7 ft.*lbf }
  38. INSTALL OIL PUMP RELIEF VALVE PLUG

    1. Using a 14 mm hexagon wrench, install a new gasket and the oil pump relief valve plug.

      A011XZ9
      Torque:
      30 N*m  { 306 kgf*cm, 22 ft.*lbf }
  39. INSTALL TIMING CHAIN COVER SUB-ASSEMBLY

    1. Apply a light coat of engine oil to 3 new gaskets.

      A011XAW
    2. Install the 3 gaskets to the stiffening crankcase assembly.

    3. Align the drive rotor spline and the crankshaft timing sprocket as shown in the illustration.

      A011Y9GE02
      Text in Illustration
      *1 Drive Rotor Spline
      *2 Crankshaft Timing Sprocket
    4. Apply seal packing in a continuous line to the timing chain cover sub-assembly as shown in the following illustration.

      A011YXXE08
      Seal packing
      Toyota Genuine Seal Packing Black, Three Bond 1207B or equivalent.
      Apply Seal Packing as Follows
      Area Seal Packing Diameter (Round) Distance from Edge of Cover to Center of Seal Packing Seal Packing Application Length
      Seal Pacing Dimension (Flat)
      Dashed Line 2.5 to 3.5 mm (0.0984 to 0.138 in.) 2.5 mm (0.0984 in.) -
      -
      A - A 2.5 to 3.5 mm (0.0984 to 0.138 in.) 2.5 mm (0.0984 in.) -
      -
      B - B 5.0 mm (0.197 in.) 3.0 mm (0.118 in.) 28 mm (1.10 in.)
      7.0 mm (0.276 in.) or more wide and 3.0 mm (0.118 in.) or more thick
      C - C 7.0 mm (0.276 in.) 5.0 mm (0.197 in.) 25 mm (0.984 in.)
      13.0 mm (0.512 in.) or more wide and 3.0 mm (0.118 in.) or more thick
      D - D 5.0 mm (0.197 in.) 3.0 mm (0.118 in.) 26 mm (1.02 in.)
      7.0 mm (0.276 in.) or more wide and 3.0 mm (0.118 in.) or more thick
      E 2.5 to 3.5 mm (0.0984 to 0.138 in.) 3.0 mm (0.118 in.) -
      -

      Note

      • When there is oil on the contact surfaces, clean the surfaces with non-residue solvent before applying seal packing.

      • Install the timing chain cover sub-assembly within 3 minutes and tighten the bolts within 10 minutes of applying seal packing.

      • After applying seal packing to the timing chain cover sub-assembly, install the engine mounting bracket RH within 10 minutes.

      • Do not add oil for at least 2 hours after the installation.

      • Do not start the engine for at least 2 hours after the installation.

    5. Temporarily install the timing chain cover sub-assembly with the 17 bolts and 2 nuts.

      A011Y2WE01
      Text in Illustration
      *1 Nut - -
      Bolt Length
      Item Length Thread Diameter
      Bolt A 30 mm (1.18 in.) 8 mm (0.315 in.)
      Bolt B 35 mm (1.38 in.) 10 mm (0.394 in.)
      Bolt C 45 mm (1.77 in.) 8 mm (0.315 in.)

      Note

      Make sure there is no oil on the bolts. If oil is found on any bolt, clean it before installation.

    6. Tighten the 17 bolts and 2 nuts in several steps, in the order shown in the illustration.

      Torque:
      for bolt A, C, and Nut
      21 N*m  { 214 kgf*cm, 15 ft.*lbf }
      for bolt B
      55 N*m  { 561 kgf*cm, 41 ft.*lbf }
  40. INSTALL ENGINE MOUNTING BRACKET RH

    1. Install the engine mounting bracket RH with the 5 bolts in the order shown in the illustration.

      A011WYQE01
      Torque:
      for bolt 1, 2 and 3
      55 N*m  { 561 kgf*cm, 41 ft.*lbf }
      for bolt 4 and 5
      21 N*m  { 214 kgf*cm, 15 ft.*lbf }

      Note

      After applying seal packing to the timing chain cover sub-assembly, install the engine mounting bracket RH within 10 minutes.

  41. INSTALL TIMING CHAIN COVER OIL SEAL

    1. Apply MP grease to the lip of a new oil seal.

      Note

      • Do not allow foreign matter to contact the lip of the oil seal.

      • Do not allow MP grease to contact the dust seal.

    2. Using SST and a hammer, tap in the oil seal until its surface is flush with the timing chain cover edge.

      A011WCVE01
      SST
      09223-22010

      Note

      • Keep the lip of the oil seal free from foreign matter.

      • Do not tap in the oil seal at an angle.

  42. INSTALL SPARK PLUG TUBE GASKET

    1. Tap in the 4 new spark plug tube gaskets to the cylinder head cover sub-assembly.

      A011W8PE01
      Text in Illustration
      *1 Spark Plug Tube Gasket
      *2 Cylinder Head Cover Sub-assembly

      Note

      • Do not allow foreign matter to contact the lip of the spark plug tube gasket.

      • Do not tap in the spark plug tube gasket at an angle.

  43. INSTALL STUD BOLT

    Note

    If a stud bolt is deformed or the threads are damaged, replace it.

    1. Using an E6 "TORX" socket wrench, install the 3 stud bolts.

      A011Y1GE01
      Torque:
      5.0 N*m  { 51 kgf*cm, 44 in.*lbf }
  44. INSTALL CYLINDER HEAD COVER SUB-ASSEMBLY

    1. Apply a light coat of engine oil to 2 new gaskets.

      A011XD2
    2. Install the 2 gaskets to the camshaft bearing caps.

    3. Install a new gasket to the cylinder head cover sub-assembly.

      Note

      Remove any oil from the contact surface.

    4. Apply seal packing as shown in the illustration.

      A011XLXE01
      Seal packing
      Toyota Genuine Seal Packing Black, Three Bond 1207B or equivalent
      Standard seal diameter
      3.0 to 6.0 mm (0.118 to 0.236 in.)
      Application width A
      5.0 mm (0.197 in.)
      Text in Illustration
      *1 Seal Packing
      *2 Timing Chain Cover
      *3 Camshaft Housing

      Note

      • Remove any oil from the contact surface.

      • Install the cylinder head cover within 3 minutes after applying seal packing.

    5. Align the cylinder head cover with pin A. Then align the cylinder head cover with pin B and install the cylinder head cover sub-assembly.

      A011WWFE01
    6. Install 3 new seal washers and the 16 bolts, and then tighten the bolts in the order shown in the illustration.

      Torque:
      12 N*m  { 122 kgf*cm, 9 ft.*lbf }

      Note

      Do not apply oil for at least 2 hours after the installation.

  45. INSTALL CRANKSHAFT PULLEY

    1. Align the pulley set key with the key groove of the crankshaft pulley.

      A011VOBE05
      Text in Illustration
      *a Hold
      *b Turn
    2. Using SST, hold the crankshaft pulley and install the pulley bolt.

      SST
      09213-54015
      09330-00021
      91551-80650
      Torque:
      260 N*m  { 2651 kgf*cm, 192 ft.*lbf }
  46. INSTALL CRANKSHAFT POSITION SENSOR

    1. Clean and degrease the threads of the bolt for the crankshaft position sensor.

    2. Apply a light coat of engine oil to the O-ring of the sensor.

      A011Z5KE07
      Text in Illustration
      *1 O-ring
    3. Apply adhesive to 2 or 3 threads of the bolt.

      A011XP9E06
      Text in Illustration
      *1 Adhesive
      Adhesive
      Toyota Genuine Adhesive 1324, Three Bond 1324 or equivalent.
    4. Install the sensor with the bolt.

      Torque:
      6.5 N*m  { 66 kgf*cm, 58 in.*lbf }

      Note

      Make sure that the O-ring is not cracked or does not jump out of position during installation.

    5. Connect the sensor connector.

  47. INSTALL SEPARATOR CASE

    1. Apply a light coat of engine oil to a new gasket.

      A011Z3P
    2. Install the gasket to the separator case.

    3. Install the separator case with the 2 bolts.

      Torque:
      10 N*m  { 102 kgf*cm, 7 ft.*lbf }
  48. INSTALL VENTILATION CASE SUB-ASSEMBLY

    1. Apply seal packing in a continuous line as shown in the illustration.

      A011YWTE01
      Seal packing
      Toyota Genuine Seal Packing Black, Three Bond 1207B or equivalent
      Standard seal diameter
      2.5 to 3.5 mm (0.0984 to 0.138 in.)

      Note

      • Remove any oil from the contact surface.

      • Install the ventilation case within 3 minutes and tighten the bolts and nuts within 15 minutes after applying seal packing.

    2. Install the ventilation case sub-assembly, and install the 8 bolts and 2 nuts in the order shown in the illustration.

      A011Z45E02
      Torque:
      21 N*m  { 214 kgf*cm, 15 ft.*lbf }

      Note

      Do not apply oil for at least 2 hours after the installation.

      Tech Tips

      Bolt A is tightened twice.

  49. INSTALL VENTILATION VALVE SUB-ASSEMBLY

    1. Apply adhesive to 2 or 3 threads of the ventilation valve sub-assembly.

      Adhesive
      Toyota genuine adhesive 1324, three bond 1324 or equivalent
    2. Using a 19 mm deep socket wrench, install the ventilation valve sub-assembly.

      Torque:
      27 N*m  { 275 kgf*cm, 20 ft.*lbf }
    3. Install the No. 2 ventilation hose.

  50. INSTALL CAMSHAFT POSITION SENSOR

    1. Clean and degrease the threads of the bolt for the camshaft position sensor.

    2. Apply a light coat of engine oil to the O-ring of the sensor.

      Note

      Make sure that the O-ring is not cracked or does not jump out of position during installation.

    3. Apply adhesive to 2 or 3 threads of the bolt.

      A011XP9E06
      Text in Illustration
      *1 Adhesive
      Adhesive
      Toyota Genuine Adhesive 1324, Three Bond 1324 or equivalent.
    4. Install the sensor with the bolt.

      Torque:
      10 N*m  { 102 kgf*cm, 7 ft.*lbf }
    5. Connect the sensor connector.

  51. INSTALL CAMSHAFT TIMING OIL CONTROL VALVE ASSEMBLY

    1. Apply a light coat of engine oil to a new O-ring, and install it to the oil control valve.

      A011Z2NE06
      Text in Illustration
      *1 New O-ring
    2. Install the oil control valve with the bolt.

      Torque:
      10 N*m  { 102 kgf*cm, 7 ft.*lbf }

      Note

      • Do not allow foreign matter to contact the oil seal face of the oil control valve (connecting surface with cylinder head cover).

      • Be careful that the O-ring is not cracked or moved out of place when installing the oil control valve.

    3. Connect the oil control valve connector.

  52. INSTALL OIL FILLER CAP GASKET

    1. Install a new oil filler cap gasket to the oil filler cap sub-assembly.

  53. INSTALL OIL FILLER CAP SUB-ASSEMBLY

    1. Install the oil filler cap sub-assembly to the cylinder head cover sub-assembly.

  54. INSTALL ENGINE OIL PRESSURE SWITCH ASSEMBLY

    1. Apply adhesive to 2 or 3 threads of the oil pressure switch.

      A011XUPE15
      Text in Illustration
      *1 Adhesive
      Adhesive
      TOYOTA Genuine Adhesive 1344, Three Bond 1344 or equivalent.

      Note

      Do not let adhesive adhere to the oil hole.

    2. Using a 24 mm deep socket wrench, install the oil pressure switch.

      Torque:
      15 N*m  { 153 kgf*cm, 11 ft.*lbf }

      Note

      Do not start the engine within 1 hour of installation.

    3. Connect the connector.

  55. INSTALL ENGINE COOLANT TEMPERATURE SENSOR

    1. Install a new gasket to the engine coolant temperature sensor.

    2. Using a 19 mm ball joint lock nut wrench, install the engine coolant temperature sensor.

      Torque:
      20 N*m  { 204 kgf*cm, 15 ft.*lbf }

      Note

      Use the torque value compensation formula to calculate the torque value for use when a torque wrench is combined with a tool such as a ball joint lock nut wrench Click here.

      Tech Tips

      Perform "Inspection After Repair" after replacing the engine coolant temperature sensor Click here.

    3. Connect the engine coolant temperature sensor connector.

    4. Install the wire harness with the 2 bolts.

      Torque:
      8.0 N*m  { 82 kgf*cm, 71 in.*lbf }
    5. Connect the ventilation hose to the cylinder head cover.

  56. INSTALL KNOCK CONTROL SENSOR

    1. Install the sensor with the bolt so that the sensor is angled as shown in the illustration.

      A011X9SE04
      Torque:
      20 N*m  { 204 kgf*cm, 15 ft.*lbf }
      Text in Illustration
      *a Front of Engine
      *b Up
      *c
      *d 10°

      Note

      The acceptable installation angle of the sensor is between 7° upward and 10° downward from the horizontal position.

      Tech Tips

      Perform "Inspection After Repair" after replacing the knock control sensor Click here

    2. Connect the sensor connector.

  57. INSTALL SPARK PLUG

    1. Using a spark plug wrench, install the 4 spark plugs.

      Torque:
      25 N*m  { 255 kgf*cm, 18 ft.*lbf }

      Tech Tips

      Perform "Inspection After Repair" after replacing the spark plug Click here.

  58. INSTALL ENGINE COVER JOINT

    1. Install the 3 engine cover joints.

      A011VY9
      Torque:
      10 N*m  { 102 kgf*cm, 7 ft.*lbf }