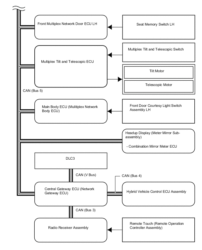
POWER SEAT CONTROL SYSTEM

Figure 1. Driver Side Power Seat Control System

B003HEPE01
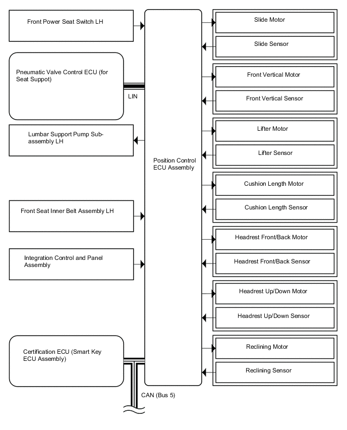
B003H64E02

Figure 2. Front Passenger Side Power Seat Control System

B003HFCE02
B003GY3E02

Figure 3. Rear Power Seat Control System LH

B003HDKE02

Figure 4. Rear Power Seat Control System RH

B003HCQE02