AUDIO AND VISUAL SYSTEM

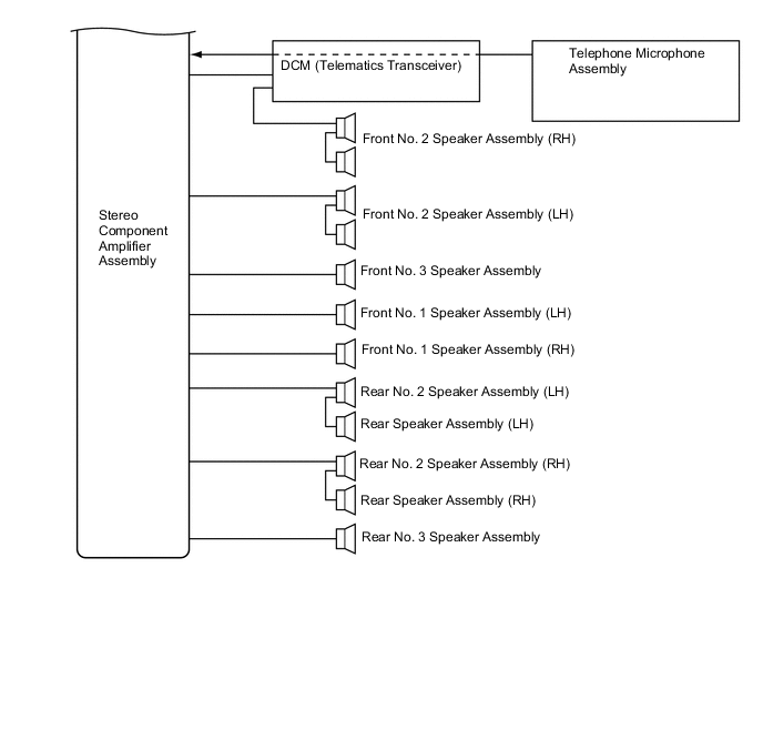
Figure 1. Models with 12-speaker

B003HAPE01
B003HIGE01
B003H9SE01

Figure 2. Models with 23-speaker

B003HAPE01
B003HIGE01
B003HBQE01