PARKING SUPPORT ALERT SYSTEM


  1. FUNCTION OF MAIN COMPONENTS

    Component Function
    Front Corner Ultrasonic Sensor RH/LH Sends ultrasonic waves to detect stationary objects and outputs a signal to the clearance warning ECU assembly.
    Front Center Ultrasonic Sensor RH/LH
    Rear Corner Ultrasonic Sensor RH/LH
    Rear Center Ultrasonic Sensor RH/LH
    Clearance Warning ECU Assembly
    • Determines system operation conditions based on signals input from each switch.

    • Amplifies/processes waves received from the ultrasonic sensors, determines stationary objects, controls operation of the indicator lights and No. 1/No. 2 clearance warning buzzers, and determines sensor abnormalities.

    • Controls operation of the No. 1 and No. 2 clearance warning buzzer and sends a display request signal, etc. to the multi-display and headup display*1, based on stationary object detection data and abnormality judgment.

    Combination Meter Assembly


    • Lexus Parking Assist-sensor OFF Indicator

    • Multi-information Display

    • Master Warning Indicator


    • Sends a Lexus parking assist-sensor on/off signal to the clearance warning ECU assembly.

    • Receives stationary object detection signals from the clearance warning ECU assembly, and displays Lexus parking assist-sensor detection on the multi-information display.

    • When Lexus parking assist-sensor is off, turns the Lexus parking assist-sensor OFF indicator on.

    • Sends a customization signal to the clearance warning ECU assembly.

    No. 1 Clearance Warning Buzzer Changes the buzzer sound by controlling the clearance warning ECU assembly, in order to notify the driver of the approximate distance from the vehicle to an stationary object toward the front.
    No. 2 Clearance Warning Buzzer Changes the buzzer sound by controlling the clearance warning ECU assembly, in order to notify the driver of the approximate distance from the vehicle to an stationary object toward the rear.
    Multi-display Displays Lexus parking assist-sensor detection when an stationary object is detected.
    Headup Display (Meter Mirror Sub-assembly)*1 Receives stationary object detection signals from the clearance warning ECU assembly, and performs Lexus parking assist-sensor detection display.
    Hybrid Vehicle Control ECU Assembly Sends a shift position signal to the clearance warning ECU assembly.
    Parking Assist ECU*2 Sends an stationary object detection video signal to the multi-display, based on stationary object detection signals received from the clearance warning ECU assembly.
    Television Camera Assembly*3
    Skid Control ECU Assembly Sends a vehicle speed signal to the clearance warning ECU assembly.
    Central Gateway ECU (Network Gateway ECU) Relays the signal between the CAN communication buses.
    DLC3
    • The Global TechStream (GTS) can be connected to read the Diagnostic Trouble Codes (DTCs) of malfunctions.

    • The Global TechStream (GTS) can be connected to change settings as desired by the user.

    *1: Models with headup display

    *2: Models with panoramic view monitor system

    *3: Models without panoramic view monitor system

  2. OPERATING CONDITION


    1. When all of the conditions in the table below are established, the system performs stationary object detection.

      Detection Position Operation Conditions
      Front Center
      • Power switch on (IG).

      • Lexus parking assist-sensor is on.

      • The shift position is not in P or R.

      • The vehicle speed is approximately 10 km/h (6 mph) or less.

      Front Corner
      • Power switch on (IG).

      • Lexus parking assist-sensor is on.

      • The shift position is not in P.

      • The vehicle speed is approximately 10 km/h (6 mph) or less.

      Rear Corner
      • Power switch on (IG).

      • Lexus parking assist-sensor is on.

      • The shift position is in R.

      • The vehicle speed is approximately 10 km/h (6 mph) or less.

      Rear Center
      • Power switch on (IG).

      • Lexus parking assist-sensor is on.

      • The shift position is in R.

      • The vehicle speed is approximately 10 km/h (6 mph) or less.

  3. SYSTEM CONTROL


    1. Lexus Parking Assist-sensor Detection Area


      1. Stationary objects are detected within approximately 650 mm (25.6 in.) of the front left and right corner sensors, within approximately 1000 mm (39.4 in.) of the front left and right center sensors, and within approximately 1500 mm (59.1 in.) of the rear left and right center sensors. Note that there are some areas where stationary objects cannot be detected if they are too close to the bumper. The detection range may also vary depending on the shape of the stationary object.

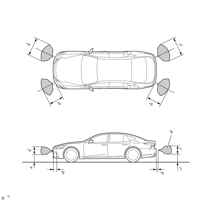
        Figure 1. Front Corner Sensor and Rear Corner Sensor Detection Area

        B003GWYC01
        *a Approximately 900 mm (35.4 in.) *b Approximately 650 mm (25.6 in.)
        *c Approximately 900 mm (35.4 in.) *d Approximately 650 mm (25.6 in.)
        *e Approximately 400 mm (15.7 in.) *f Approximately 400 mm (15.7 in.)
        *g Approximately 200 mm (7.87 in.) *h Approximately 200 mm (7.87 in.)
        *i Approximately 350 mm (13.8 in.) *j Approximately 350 mm (13.8 in.)
        *k Sensor Front (Cross Section A) Detection Area (Not Detection Area toward Front/Rear of Vehicle) *l The detection area in the illustration was calculated using a pole with a diameter of 60 mm (2.36 in.).
        B003HKS Detection Area - -

        Figure 2. Front Center Sensor and Rear Center Sensor Detection Area

        B003GNXC01
        *a Approximately 2000 mm (78.7 in.) *b Approximately 1000 mm (39.4 in.)
        *c Approximately 1500 mm (59.1 in.) *d Approximately 1400 mm (55.1 in.)
        *e Approximately 2000 mm (78.7 in.) *f Approximately 400 mm (157 in.)
        *g Approximately 300 mm (11.8 in.) *h Approximately 200 mm (7.87 in.)
        *i Approximately 200 mm (7.87 in.) *j Approximately 550 mm (21.7 in.)
        *k Approximately 250 mm (9.84 in.) *l The detection area in the illustration was calculated using a pole with a diameter of 60 mm (2.36 in.).
        B003HKS Detection Area - -
    2. Warning Buzzer Sounding


      1. The warning buzzer sound changes according to the distance from an identified stationary object.

      2. The buzzer sounding interval changes approximately every 100 mm (3.94 in.) according to the distance from the stationary object.

        B003GOZE02
        Identification Level Detection Distance [mm (in.)] Buzzer Sound
        Longest Range

        1000 (39.4) - 650 (25.6)*1

        1500 (59.1) - 650 (25.6)*2

        The sound interval changes every 100 mm (3.94 in.), and then sounds intermittently.
        Long-range 650 (25.6) - 450 (17.7)
        Medium-range 450 (17.7) - 300 (11.8)
        Short-range 300 (11.8) - 150 (5.91) Sounds consecutively.
        Shortest Range 150 (5.91) or less

        *1: Front center sensor detection only

        *2: Rear center sensor detection only

      3. If sensors detect multiple stationary objects, the buzzer sounds according to the distance from the closest stationary object.

        Tech Tips

        The Lexus parking assist-sensor warning buzzer does not sound if the RCTA or RCD warning buzzer is sounding.

  4. FUNCTION


    1. Lexus Parking Assist-sensor Operation


      1. The combination meter assembly customization setting can be used to turn Lexus parking assist-sensor on and off.

      2. A Lexus parking assist-sensor off indicator is located in the combination meter assembly to make it possible to check that Lexus parking assist-sensor is off.

    2. Warning Buzzer Mute Function


      1. When the warning buzzer is sounding, it is automatically muted if any of the following conditions are established.


        • There is no change to the distance from the stationary object over a certain period of time.

        • The distance between the vehicle and stationary object increases.

        • The stationary object is removed from the path.

      2. When the warning buzzer has been automatically muted, it once again begins sounding if any of the following conditions are established.


        • An stationary object is detected within short-range.

        • The vehicle approaches a stationary object.

        • A stationary object that was out of the path of the vehicle is now on the path of the vehicle.

      3. When the warning buzzer is sounding, the warning buzzer is temporarily muted if the steering pad switch assembly is used to do so.

      4. When the warning buzzer has been temporarily muted, temporary muting is canceled if any of the following conditions are established.


        • The shift status is changed.

        • The vehicle speed reaches a certain value or higher.

        • It cannot be used (CAN communication abnormality).

        • The power switch was turned off.

    3. Abnormality Judgment


      1. When the Lexus parking assist-sensor is turned on, abnormality judgment is performed on all sensors regardless of the shift position.

      2. When the Lexus parking assist-sensor is turned on, abnormality judgment is performed on all sensors regardless of the shift position.

    4. Lexus Parking Assist-sensor Settings


      1. The combination meter assembly customization setting can be used to change the volume of the buzzer (3 levels).

      2. The Global TechStream (GTS) can be connected to change settings for some functions as desired by the user. Refer to the Repair Manual for details.

  5. DIAGNOSIS


    1. In order to make system inspections easier to perform, a diagnosis function is used in consideration of serviceability. The DTCs of malfunctioning parts can be read by connecting the Global TechStream (GTS). Refer to the Repair Manual for details.