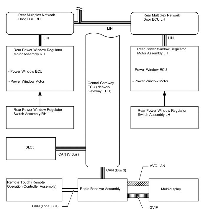
POWER WINDOW CONTROL SYSTEM

B00566FE01
B0056UFE02