FRONT BRAKE


  1. OUTLINE


    1. A ventilated disc brake is used.

    2. OS12WN Type Brake Caliper


      1. An opposed 4-piston OS12WN type front brake caliper is used.


        • Aluminum monoblock brake calipers are used to achieve a lightweight.

        • A pad wear indicator wire assembly is used to inform the driver of brake pad wear (RH only).

        • A high friction brake pad is used depending on the model.

      2. A ventilated type disc rotor with spiral fin is used to achieve excellent cooling performance.

        B003HZIC01
        *1 Pad Wear Indicator Wire Assembly *2 Brake Caliper
        *3 Disc Rotor (Front Disc) - -
        *a Spiral Fin - -
    3. OS999A Type Brake Caliper


      1. An opposed 6-piston OS999A type front brake caliper is used.


        • An aluminum monoblock brake caliper is used to achieve a lightweight.

        • A 1-piece caliper of bridge structure is used to ensure rigidity.

        • A structure that receives the braking torque using No. 1 and No. 2 torque pins are used to hold the brake pad properly.

        • A pad wear indicator wire assembly is used to inform the driver of brake pad wear (RH only).

        • A high friction brake pad is used.

        Tech Tips

        Braking noise may occur depending on the vehicle speed, braking force and environment surrounding the vehicle (such as the ambient temperature and humidity). In addition, more wear particles are generated than by common brakes due to the high friction force.

      2. A ventilated type disc rotor with spiral fin is used to achieve excellent cooling performance.


        • A 2-piece mechanism is used to achieve a lightweight and increases suppression of the disc rotor deformation caused by heat.

        B003I8RC01
        *1 Brake Caliper *2 No. 1 Torque Pin
        *3 Pad Wear Indicator Wire Assembly *4 No. 2 Torque Pin
        *5 Disc Rotor (Front Disc) - -
        *a Bridge structure *b Spiral Fin
        *c 2-piece Mechanism - -
  2. SPECIFICATION

    Caliper Type OS12WN OS999A
    Brake Type Ventilated Disc Ventilated Disc
    Wheel Cylinder Diameter 42.85 mm (1.69 in.) x 4 36.12 mm (1.42 in.) x 6
    Rotor Size (Diameter x Thickness) 357.0 mm (14.1 in.) x 34.0 mm (1.34 in.) 400.0 mm (15.7 in.) x 36.0 mm (1.41 in.)
  3. MAIN FEATURES


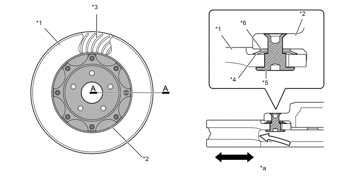
    1. 2-piece Disc Rotor (OS999A Type Caliper)


      1. The hat portion and the rubbing portion have been connected by a pin, spring and washer to achieve both increases in air volume toward the spiral fin and suppression of the rotor deformation caused by heat, thus achieving superior fading performance.

      2. A hat portion made of aluminum is used to archive weight reduction.

        B003IBNC02
        *1 Rubbing Portion *2 Hat Portion
        *3 Spiral Fin *4 Spring
        *5 Pin *6 Washer
        *a A - A Cross Section - -
        B0056J1 Free Range in Radial Direction → Minimizes Heat Deformation B005637 Increase in Air Volume
  4. PRECAUTION


    1. 2-piece Disc Rotor (OS999A Type Caliper)


      1. The 2-piece disc rotor cannot be disassembled.

      2. If the 2-piece disc rotor is equipped with a steel wheel, the hat portion may sag, causing the wheel nut to loosen. An aluminum wheel must be equipped.

    2. 6-piston Brake Caliper (OS999A Type Brake Caliper)


      1. The 6-piston brake caliper has a bridge structure, so the brake pad cannot be removed from the back of the caliper. When exchanging the brake pad, remove the caliper itself.

      2. Do not loosen the nut of the No. 2 torque pin on the caliper.

        B003I69C02
        *A View from the outside of the vehicle. *B View from the inside of the vehicle.
        *1 Nut - -