TIRE AND WHEEL SYSTEM


  1. OUTLINE


    1. 3 sizes of tires are available.

    2. 5 types of aluminum wheels are available.

    3. A noise reduction wheel is used for some models.

    4. A runflat tire is used.

    5. A full size spare tire is used for some models.

  2. SPECIFICATION


    1. Tire and Wheel

      B0056V3
      Tire Size 245/50RF19
      Disc Wheel Size 19 X 8 J
      Disc Wheel Material Aluminum (Noise Reduction Wheel)
      Paint Color (Color No.) Medium Gray Metallic (11GY52) + Machining
      P.C.D 120 mm (4.72 in.)
      Inset 25 mm (0.98 in.)
      B0056FU
      Tire Size 245/50RF19
      Disc Wheel Size 19 X 8 J
      Disc Wheel Material Aluminum (Noise Reduction Wheel)
      Paint Color (Color No.) Hyper Chrome Metallic (11SV46)
      P.C.D 120 mm (4.72 in.)
      Inset 25 mm (0.98 in.)
      B0056H5
      Tire Size 245/45RF20
      Disc Wheel Size 20 X 8 1/2J
      Disc Wheel Material Aluminum (Noise Reduction Wheel)
      Paint Color (Color No.) Physical Vapor Deposition (11CR29)
      P.C.D 120 mm (4.72 in.)
      Inset 25 mm (0.98 in.)
      B0056QS
      Tire Size 245/45RF20
      Disc Wheel Size 20 X 8 1/2J
      Disc Wheel Material Aluminum
      Paint Color (Color No.) -
      Pitch Circle Diameter 120 mm (4.72 in.)
      Inset 25 mm (0.98 in.)
      B0056R2
      Tire Size 245/45RF20 275/40RF20
      Disc Wheel Size 20 X 8 1/2J 20 X 9 1/2J
      Disc Wheel Material Aluminum
      Paint Color (Color No.) Dark Premium Metallic (11GY39)
      Pitch Circle Diameter 120 mm (4.72 in.)
      Inset 25 mm (0.98 in.) 35.0 mm (1.37 in.)
  3. MAIN FEATURES


    1. Noise Reduction Wheel


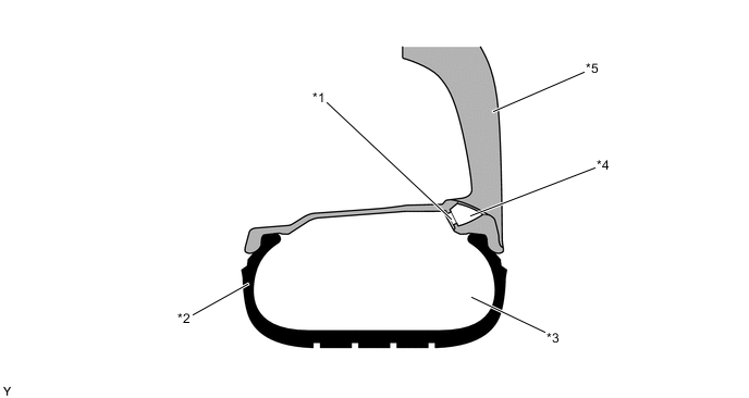
      1. The noise reduction wheels have a hollow rim portion in the outer side which is connected to the air layer of the tire via the resonator pore portion. In normal tires. pressure change is caused in the tire air layer by tire deformation and resonance is generated by vibrating air. However. in noise reduction wheels. pressure change is caused in the air layer of the tire. air flows in and out of the resonator pore portion and friction is generated to achieve sound absorption. As a result. resonance is reduced in the air layer of the tire.

        B00565XC01
        *1 Resonator Pore Portion *2 Tire
        *3 Air Layer of Tire *4 Hollow Rim Portion
        *5 Noise Reduction Wheel - -