HYBRID TRANSMISSION SYSTEM


  1. CONSTRUCTION


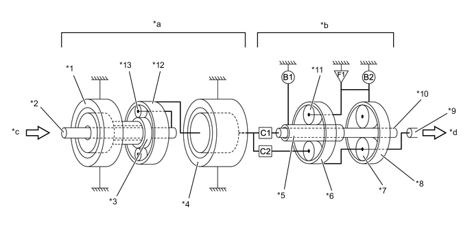
    1. The gear train is composed of a power split mechanism and multi stage shift device.

    2. The power split mechanism is composed of the Motor Generator No. 1 (MG1), which is mainly used as a generator, the Motor Generator No. 2 (MG2), which is mainly used as a drive source, and a front planetary gear, which splits the engine motive force between the rear wheel motive force and MG1.

    3. The multi stage shift device is composed of a center planetary gear, rear planetary gear and friction engagement components, and it shifts the power split mechanism output rotation in 4 steps.

    4. A 1-axis structure, which positions the power split mechanism and multi stage shift device on the crankshaft axis, is used.

      A004C1MC01
      *1 Motor Generator No. 1 (MG1) *2 Input Shaft
      *3 Front Planetary Sun Gear *4 Motor Generator No. 2 (MG2)
      *5 Center Planetary Sun Gear *6 Center Planetary Ring Gear
      *7 Rear Planetary Pinion Gear *8 Rear Planetary Ring Gear
      *9 Output Shaft *10 Rear Planetary Sun Gear
      *11 Center Planetary Pinion Gear *12 Front Planetary Ring Gear
      *13 Front Planetary Pinion Gear - -
      *a Power Split Mechanism *b Multi Stage Shift Device
      *c Engine Motive Force *d To Rear Wheel
      C1 No. 1 Clutch C2 No. 2 Clutch
      B1 No. 1 Brake B2 No. 2 Brake
      F1 1-way Clutch - -
      Item Connection
      Power Split Mechanism Front Planetary Gear Sun Gear Motor Generator No. 1 (MG1)
      Carrier Input Shaft
      Ring Gear Motor Generator No. 2 (MG2)
      Motor Generator No. 2 (MG2) No. 1 Clutch (C1) and No. 2 Clutch (C2)
      Multi Stage Shift Device No. 1 Clutch (C1) Rear Planetary Sun Gear
      No. 2 Clutch (C2) Center Planetary Carrier
      Center Planetary Gear Sun Gear No. 1 Brake (B1)
      Carrier 1-way Clutch and No. 2 Brake (B2)
      Ring Gear Rear Planetary Carrier
      Rear Planetary Gear Sun Gear -
      Carrier Output Shaft
      Ring Gear No. 2 Brake (B2)