ENTRY AND START SYSTEM

Info Added 2017-04-18


  1. FUNCTION OF MAIN COMPONENTS


    1. The main components for the start function have the following functions:

      Component Function
      Power Switch (Push Start Switch)
      • Transmits the power switch signal to the certification ECU (smart key ECU assembly).

      • Receives the ID code and transmits it to the certification ECU (smart key ECU assembly) when the key battery is too weak to respond to the tuner based on the signals from the room antennas.

      Electrical Key Transmitter Sub-assembly Receives the signals from the antennas and returns the ID code to the smart door control receiver assembly.
      No. 1 Indoor Electrical Key Antenna Assembly (Front Floor), No. 2 Indoor Electrical Key Antenna Assembly (Center Floor), No. 3 Indoor Electrical Key Antenna Assembly (Rear Floor) Receives a request signal from the certification ECU (smart key ECU assembly) and forms the actuation area in the vehicle.
      Smart Door Control Receiver Assembly Receives the ID code from the electrical key transmitter sub-assembly in the actuation area and transmits it to the certification ECU (smart key ECU assembly).
      Certification ECU (Smart Key ECU Assembly)
      • Certifies the ID code received from the smart door control receiver assembly and transmits the certification results to the steering lock ECU (steering lock actuator assembly).

      • Transmits the steering wheel lock/unlock signals.

      • Transmits the immobiliser set/unset request signals.

      • Switches the power source ("power switch") among 4 modes (off, on (ACC), on (IG), start) in accordance with the shift position and the brake pedal signal.

      • Controls the entry and start system in accordance with the signals received from the switches and each ECU.

      Stop Light Switch Assembly Outputs the state of the brake pedal to the certification ECU (smart key ECU assembly).
      Steering Lock ECU (Steering Lock Actuator Assembly) Receives the steering wheel unlock/lock request signal from the certification ECU (smart key ECU assembly), and activates the steering lock motor.
      Shift Lever Position Sensor Outputs the shift position signal to the certification ECU (smart key ECU assembly).
      Hybrid Vehicle ECU Assembly Receives the signal from the ID code box (immobiliser code ECU) and controls the hybrid system.
      Shift Lock Control Unit Assembly Shift Lock ECU Outputs the shift position P detection switch signal to the certification ECU (smart key ECU assembly).
      Combination Meter Assembly Multi Buzzer Sounds to inform the driver of malfunctions in the entry and start system.
      Multi-information Display Informs the driver of power source or system abnormalities by displaying a warning message.
    2. The main components for the entry function have the following functions:

      Component Function
      Electrical Key Transmitter Sub-assembly
      • Outputs information such as the key ID and vehicle ID when request signals that are output by the room and door antennas are received.

      • Outputs a request signal when the lock or unlock button on the electrical key transmitter sub-assembly is pressed.

      • Outputs information such as the key ID and vehicle ID when the radio wave signal that is output by the transponder key amplifier in the power switch is received.

      • Has an integrated mechanical key that can be used to unlock the doors when the key battery is weak.

      Main Body ECU (Multiplex Network Body ECU)
      • Receives the request signal from the certification ECU (smart key ECU assembly), and actuates the door lock motors to unlock or lock all the doors.

      • Transmits the condition of each door to the certification ECU (smart key ECU assembly).

      Certification ECU (Smart Key ECU Assembly)
      • Certifies the ID code received from the smart door control receiver assembly and transmits the certification results to the steering lock ECU (steering lock actuator assembly).

      • Controls the antennas and touch sensors.

      • Transmits the door lock/unlock request signals during the entry function.

      Front Door Outside Handle Assembly (LH/RH) Door Electrical Key Antenna Receives a request signal from the certification ECU (smart key ECU assembly) and creates an actuation area around the front door.
      Lock Sensor Transmits door lock request signals to the certification ECU (smart key ECU assembly).
      Unlock Sensor Detects when a person touches the inside of an outside door handle.
      No. 3 Indoor Electrical Key Antenna Assembly (Back Door) Receives a request signal from the certification ECU (smart key ECU assembly) and forms an actuation area around the back door.
      No. 1 Indoor Electrical Key Antenna Assembly (Front Floor), No. 2 Indoor Electrical Key Antenna Assembly (Center Floor), No. 3 Indoor Electrical Key Antenna Assembly (Rear Floor) Receives a request signal from the certification ECU (smart key ECU assembly) and forms an actuation area in the vehicle.
      Smart Door Control Receiver Assembly Receives the ID code from the electrical key transmitter sub-assembly and transmits it to the certification ECU (smart key ECU assembly).
      Combination Meter Assembly Multi Buzzer Sounds to inform the driver of malfunctions in the entry and start system.
      Multi-information Display Informs the driver of power source or system abnormalities by displaying a warning message.
      Wireless Door Lock Buzzer Sounds to inform the driver of malfunctions in the entry and start system.
      Door Courtesy Light Switch Assembly Detects whether the doors are open or closed and sends this information to the main body ECU (multiplex network body ECU).
      Door Lock Assembly Door Lock Motor Drives the motor in response to signals from the main body ECU (multiplex network body ECU) and locks or unlocks the doors.
      Door Lock Position Switch Detects whether the door is locked or unlocked and sends this information to the main body ECU (multiplex network body ECU).
      Back Door Lock Assembly Door Lock Motor Drives the motor in response to signals from the main body ECU (multiplex network body ECU) and releases the back door latch.
      Courtesy Light Switch Detects whether the back door is open or closed and sends this information to the main body ECU (multiplex network body ECU).
      Back Door Opener Switch Assembly Back Door Opener Switch Transmits a back door open request signal to the certification ECU (smart key ECU assembly).
      Back Door Lock Switch Transmits a door lock request signal to the certification ECU (smart key ECU assembly).
  2. OPERATION


    1. The special functions of the entry and start system only work when the electrical key transmitter sub-assembly is in the actuation area formed by the antennas.

    2. The No. 1 indoor electrical key antenna assembly (front floor), No. 2 indoor electrical key antenna assembly (center floor), and No. 3 indoor electrical key antenna assembly (rear floor) form the interior actuation area.

    3. The door electrical key antennas and electrical key antenna form the exterior actuation area.

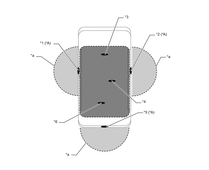
      A001LRGC01
      *A Models with Entry Function - -
      *1

      Front Door Outside Handle Assembly LH


      • Door Electrical Key Antenna

      *2

      Front Door Outside Handle Assembly RH


      • Door Electrical Key Antenna

      *3 No. 1 Indoor Electrical Key Antenna Assembly (Front Floor) *4 No. 2 Indoor Electrical Key Antenna Assembly (Center Floor)
      *5 No. 3 Indoor Electrical Key Antenna Assembly (Back Door) *6 No. 3 Indoor Electrical Key Antenna Assembly (Rear Floor)
      *a Approximately 0.7 to 1.0 m (2.3 to 3.3 ft.) - -
      B003XAT Interior Actuation Area B003XCL Exterior Actuation Area
      Actuation Area Detail
      Interior The interior actuation area of the indoor electrical key antennas (front, center, rear) is formed when the driver door is opened or closed, when the power switch is pushed, when a warning is activated, or when a lock sensor is on.
      Exterior The exterior actuation area formed by the front door electrical key antennas (LH, RH) and electrical key antenna is approximately 0.7 to 1.0 m (2.3 to 3.3 ft.) from the front door outside handle or the center of the rear bumper.
      Around Front Doors The exterior actuation area of the door electrical key antennas is formed by transmitting a request signal every 0.25 seconds while the power switch is off and each door is locked. In this way, the presence of an electrical key transmitter sub-assembly is detected. When locking the door using the lock sensor on the outside door handle, the actuation area is formed when the lock sensor is touched.
      Around Back Door The exterior actuation area of the electrical key antenna is formed when the back door lock or back door unlock switch is on.
  3. SYSTEM CONTROL


    1. Start Function


      1. The start function has different power source change patterns to suit the brake pedal state and shift lever position.

        Pattern Brake Pedal Shift Lever Position Power Source Change Pattern
        A Depressed P or N

        When the power switch is pushed once.


        • Off → on (IG) (after the hybrid system is started)

        B Not Depressed P

        Each time the power switch is pushed.


        • Off → on (ACC) → on (IG) → off

        C Except P

        Each time the power switch is pushed.


        • Off → on (ACC) → on (IG) → on (ACC)

        D - P

        When the power switch is pushed in the on (IG) condition.


        • On (IG) (hybrid system is started or not started) → off

        E - Except P

        When the power switch is pushed in the on (IG) condition.


        • On (IG) (hybrid system is started or not started) → on (ACC)

        A001LVCE05
      2. Transition of the power source mode when the electrical key transmitter sub-assembly battery is low or the electrical key transmitter sub-assembly is not operating normally due to an electromagnetic interference is as follows:


        1. The driver uses the mechanical key to unlock the door and enters the vehicle while carrying the electrical key transmitter sub-assembly.

        2. The driver touches the power switch with the back side of the lock/unlock button of the electrical key transmitter sub-assembly while depressing the brake pedal.

        3. Within approximately 10 seconds after the buzzer sounds in the combination meter, the driver has to release the brake pedal and press the power switch.

        4. With each pressing of the power switch, the power source mode changes as follows: off → on (ACC) → on (IG) → off.

      3. When starting the hybrid system while the electrical key transmitter sub-assembly battery is low or the electrical key transmitter sub-assembly is not operating normally due to an electromagnetic interference:


        1. The driver uses the mechanical key to unlock the door and enters the vehicle while carrying the electrical key transmitter sub-assembly.

        2. The driver touches the power switch with back side of the lock/unlock button of the electrical key transmitter sub-assembly while the shift lever is in P and while depressing the brake pedal.

        3. Within approximately 10 seconds after the buzzer sounds and the key warning light is shown in the multi-information display, the driver has to press the power switch while depressing the brake pedal.

        4. Pressing the power switch starts the hybrid system.

        Note


        • Normally, the operation of the power switch is disabled while the vehicle is being driven. However, in an emergency, by pressing the power switch for approximately 2 seconds or more or pressing the power switch 3 times or more in a row, the driver can stop the hybrid system while the vehicle is in motion.

        • If no signals are transmitted to the certification ECU (smart key ECU assembly) due to malfunctions in the stop light switch assembly, the hybrid system may not start when the power switch is pressed with the brake pedal depressed. In such cases, performing the following procedure may enable the hybrid system to start: 1) press the power switch to turn the power source from off to on (ACC), and 2) press the power switch again and hold it for 15 seconds or more.

        • The above 2 operations must be applied only in emergency situations. Under normal conditions, the hybrid system must not be stopped by pressing the power switch while driving. Also, it should not be started without depressing the brake pedal or when the shift lever is in any position other than P.

    2. Entry Unlock (Models with Entry Function)


      1. When the electrical key transmitter sub-assembly is in the actuation area formed by the door electrical key antenna, holding the outside door handle assembly of the driver seat and touching the built-in touch sensor unlocks the driver door only, and holding of the passenger side front outside handle assembly and touching the built-in touch sensor unlocks all the doors. (Driver door mode)

      2. When the electrical key transmitter sub-assembly is in the actuation area formed by the door electrical key antenna, holding any of the outside door handle assemblies and touching the built-in touch sensor unlocks all the doors. (All door mode)

      3. When the doors are unlocked, the hazard warning lights flash twice as an answer back.

        Tech Tips

        If the doors are locked by wireless operation, the entry and start system or key linked power door lock operation, it may not be possible to unlock the doors using the entry and start system. In this situation, use the wireless function of the electrical key transmitter sub-assembly to unlock the doors.

        A001LVJ
    3. Entry Lock (Models with Entry Function)


      1. When the electrical key transmitter sub-assembly is in any of the exterior actuation areas, all doors are locked by touching the lock sensor of the front outside door handle assembly or by pressing the back door lock switch of the back door.

      2. After all doors have been locked, the hazard lights flash once as an answer back.

        A001M0L
      3. When the electrical key transmitter sub-assembly is in the back door exterior actuation area with all the doors closed, all doors are locked by pressing the back door lock switch.

        A001M0IC01
        *1 Back Door Opener Switch Assembly - -
        *a Back Door Lock Switch - -
    4. Entry Back Door Unlock Function (Models with Entry Function)


      1. When the electrical key transmitter sub-assembly is in the actuation area surrounding the back door, pressing the back door unlock switch will unlock the back door.

        A001LPLC01
        *1 Back Door Opener Switch Assembly - -
        *a Back Door Unlock Switch - -
    5. Warning


      1. When any of the situations below occur, the entry and start system sounds the wireless door lock buzzer and a buzzer in the combination meter assembly and displays a message on the multi-information display in order to alert the driver.

        Situation Condition
        A The hybrid system is left running and the shift lever is in a position other than P when the driver gets out of the vehicle.
        B The hybrid system is left running and the shift lever is in P when the driver gets out of the vehicle.
        C The hybrid system is left running when a passenger gets out of the vehicle while holding the electrical key transmitter sub-assembly.
        D The electrical key transmitter sub-assembly is not within the actuation areas.
        E The vehicle is driven without an electrical key transmitter sub-assembly.
        F The electrical key transmitter sub-assembly is left in the vehicle.
        G A door is ajar.
        H The key reminder sounds.
        I The key battery is weak.
        J Steering lock does not release.
        K A malfunction has been detected in a vehicle speed signal, etc.
        L The hybrid system cannot be started (system/driver error).
        M Immobiliser system certification confirmation occurs.
        N An electrical key transmitter sub-assembly has been registered to the vehicle.
        O Hybrid system start operation guide (ACC ON)
        P Hybrid system start operation guide (IG ON)
        Q The power switch cannot be turned off (shift lever in any position except P).
        R The power switch cannot be turned off (shift lever in P).
        S Auto power off operation occurs.
        T Hybrid system emergency stop operation is performed.
        U The user performed an emergency power stop while driving.
        V Power switch is operated while driving.
        W Power switch is operated while driving.
        X While the vehicle is stationary, the shift lever is moved to a position other than P or N with the power switch on (IG) and the hybrid system stopped.
        Y While the vehicle is stationary, with a shift position N selected, the power switch on (IG) and the hybrid system stopped.
        Z The vehicle started to roll away with the power switch on (IG) and the hybrid system stopped.
        AA Accessory state
        AB Ignition on state
      2. Situation A


        • There are 2 patterns for situation A.

        • Pattern 1:

        • When the shift lever is in a position other than P, the power switch is in a mode other than off and the driver opens the door and attempts to get out of the vehicle, the following control is performed:

          Possible Effects without Warning Sudden vehicle movement, Vehicle theft, Vehicle roll-away (Vehicle creep, such as when N is selected)
          Warning Active Condition

          The warning is activated when all of the following conditions are met:


          • The power switch is on (ACC) or on (IG).

          • The shift lever is in any position except P.

          • The driver door is opened.

          • The vehicle speed is not detected.

          Warning Method Combination Meter Assembly Multi Buzzer Sounds continuously
          Multi-information Display

          The following warning message is displayed:


          • Shift to P Before Exiting Vehicle

          Wireless Door Lock Buzzer -
          Warning Stop Condition

          The warning is stopped when one of the following conditions is met:


          • The power switch is turned off.

          • The shift lever is moved to P.

          • The driver door is closed.

          • The vehicle speed is above 5 km/h (3 mph).

        • Pattern 2:

        • Under the situation of pattern 1, the driver closes the door and attempts to leave the vehicle while holding the electrical key transmitter sub-assembly. In this situation, the following control is performed:

          Possible Effects without Warning Sudden vehicle movement, Vehicle theft, Vehicle roll-away (Vehicle creep, such as when N is selected)
          Warning Active Condition

          The warning is activated when all of the following conditions are met:


          • The power switch is on (ACC) or on (IG).

          • The shift lever is in any position except P.

          • The driver door is opened → closed.

          • The electrical key transmitter sub-assembly is not detected in the vehicle (interior key certification fails).

          • The vehicle speed is not detected.

          Warning Method Combination Meter Assembly Multi Buzzer Sounds continuously
          Multi-information Display

          The following warning messages are alternately displayed:


          • Shift to P Before Exiting Vehicle

          • Key Not Detected, Check Key Location.

          Wireless Door Lock Buzzer Sounds continuously
          Buzzer and Wireless Door Lock Buzzer Warning Stop Condition

          The warning is stopped when one of the following conditions is met:


          • The power switch is turned off.

          • The shift lever is moved to P.

          • The vehicle speed is above 5 km/h (3 mph).

          • The electrical key transmitter sub-assembly is detected in the vehicle (interior key certification result is OK).

          "Shift to P Before Exiting Vehicle" Message Warning Stop Condition

          The warning is stopped when either of the following conditions is met:


          • The shift lever is moved to P.

          • The vehicle speed is above 5 km/h (3 mph).

          "Key Not Detected, Check Key Location." Message Warning Stop Condition

          The warning is stopped when either of the following conditions is met:


          • The power switch is turned off.

          • The electrical key transmitter sub-assembly is detected in the vehicle (interior key certification result is OK).

      3. Situation B


        • There are 3 patterns for situation B.

        • Pattern 1:

        • When the shift lever is in P and the power switch is in a mode other than off (the steering remains unlocked), the driver door is opened and the driver attempts to leave the vehicle. In this situation, the following control is performed:

          Possible Effects without Warning Vehicle theft
          Warning Active Condition

          Condition 1

          The warning is activated when both of the following conditions are met:


          • The power switch is on (ACC).

          • The driver door is open.

          Condition 2

          The warning is activated when all of the following conditions are met for 1 second:


          • The power switch is turned off.

          • The steering lock remains unlocked.

          • The driver door is open.

          Warning Method Combination Meter Assembly Multi Buzzer Sounds continuously at short and even intervals
          Multi-information Display -
          Wireless Door Lock Buzzer -
          Warning Stop Condition

          The warning is stopped when one of the following conditions is met:


          • The power switch is turned on (IG).

          • The driver door is closed.

          • The power switch is turned off and the steering wheel lock control is performed.

        • Pattern 2:

        • Under the situation of pattern 1, the driver opens and closes the driver door and attempts to leave the vehicle while holding the electrical key transmitter sub-assembly. In this situation, the following control is performed:

          Possible Effects without Warning Vehicle theft
          Warning Active Condition

          The warning is activated when all of the following conditions are met:


          • The power switch is on (ACC) or on (IG).

          • The shift lever is in P.

          • The driver door is opened → closed.

          • The electrical key transmitter sub-assembly is not detected in the vehicle (interior key certification fails).

          • The vehicle speed is not detected.

          Warning Method Combination Meter Assembly Multi Buzzer Sounds once
          Multi-information Display

          The following warning message is displayed:


          • Key Not Detected, Check Key Location.

          Wireless Door Lock Buzzer Sounds 3 times
          Warning Stop Condition

          The warning is stopped when either of the following conditions is met:


          • The power switch is turned off.

          • The electrical key transmitter sub-assembly is detected in the vehicle (interior key certification result is OK).

        • Pattern 3:

        • Under the situation of pattern 2, the driver touches the lock sensor on the door outside handle. In this situation, the following control is performed:

          Possible Effects without Warning Vehicle theft
          Warning Active Condition

          The warning is activated when all of the following conditions are met:


          • The power switch is on (ACC) or on (IG).

          • The shift lever is in P.

          • The electrical key transmitter sub-assembly is not detected in the vehicle (interior key certification fails), but detected in an outside detection area (exterior key certification result is OK).

          • The lock sensor on the outer door handle is on (touched).

          • The vehicle speed is not detected.

          Warning Method Combination Meter Assembly Multi Buzzer Sounds once
          Multi-information Display

          The following warning messages are alternately displayed:


          • Turn Power Off.

          • Key Not Detected, Check Key Location.

          Wireless Door Lock Buzzer Sounds continuously
          Wireless Door Lock Buzzer Warning Stop Condition

          The warning is stopped when one of the following conditions is met:


          • 5 seconds elapse.

          • The power switch is turned off.

          • The shift lever is moved to any position except P.

          • The vehicle speed is above 5 km/h (3 mph).

          • The electrical key transmitter sub-assembly is detected in the vehicle (interior key certification result is OK).

          • Any door is opened or closed.

          "Turn Power Off." Message Warning Stop Condition

          The warning is stopped when one of the following conditions is met:


          • 60 seconds elapse.

          • The power switch is turned off.

          • The shift lever is moved to any position except P.

          • The vehicle speed is above 5 km/h (3 mph).

          "Key Not Detected, Check Key Location." Message Warning Stop Condition

          The warning is stopped when either of the following conditions is met:


          • The power switch is turned off.

          • The electrical key transmitter sub-assembly is detected in the vehicle (interior key certification result is OK).

      4. Situation C


        • When the hybrid system is left running, a passenger leaves the vehicle while holding the electrical key transmitter sub-assembly. In this situation, the following control is performed:

          Possible Effects without Warning Hybrid system cannot be restarted.
          Warning Active Condition

          The warning is activated when all of the following conditions are met:


          • The power switch is on (ACC) or on (IG).

          • A door other than the driver door is opened → closed.

          • The electrical key transmitter sub-assembly is not detected in the vehicle (interior key certification fails).

          • The vehicle speed is not detected.

          Warning Method Combination Meter Assembly Multi Buzzer Sounds once
          Multi-information Display

          The following warning message is displayed:


          • Key Not Detected, Check Key Location.

          Wireless Door Lock Buzzer Sounds 3 times
          Warning Stop Condition

          The warning is stopped when either of the following conditions is met:


          • The power switch is turned off.

          • The electrical key transmitter sub-assembly is detected in the vehicle (interior key certification result is OK).

      5. Situation D


        • When the electrical key transmitter sub-assembly is not in the vehicle, the driver attempts to turn the power switch on (IG) (emergency key operation* is included). In this situation, the following control is performed:

          Possible Effects without Warning User becomes confused
          Warning Active Condition

          The warning is activated when all of the following conditions are met:


          • The immobiliser system is set.

          • The electrical key transmitter sub-assembly is not in the vehicle (interior key certification fails and transponder certification fails).

          • No records of unlock operation using a mechanical key and key certification failure when the power switch was turned on (IG).

          Warning Method Combination Meter Assembly Multi Buzzer Sounds once
          Multi-information Display

          The following warning message is displayed:


          • Key Not Detected, Check Key Location.

          Wireless Door Lock Buzzer -
          Warning Stop Condition

          The warning is stopped when one of the following conditions is met:


          • 15 seconds elapse.

          • The electrical key transmitter sub-assembly is detected in the vehicle (interior key certification result is OK and transponder certification result is OK).

          • 30 seconds have elapsed since a door was opened using a door outside handle.

          *: Emergency key operation is an operation that changes the power source by touching the power switch with the electrical key transmitter sub-assembly.

      6. Situation E


        • The vehicle starts moving without a registered electrical key transmitter sub-assembly in the vehicle. In this situation, the following control is performed:

          Possible Effects without Warning Hybrid system cannot be restarted.
          Warning Active Condition

          The warning is activated when all of the following conditions are met:


          • The power switch is on (IG).

          • The warning is activated in situation C.

          • The vehicle speed is above 5 km/h (3 mph).

          • The electrical key transmitter sub-assembly is not detected in the vehicle (interior key certification fails).

          Warning Method Combination Meter Assembly Multi Buzzer Sounds 9 times
          Multi-information Display

          The following warning message is displayed:


          • Key Not Detected, Check Key Location.

          Wireless Door Lock Buzzer -
          Warning Stop Condition

          The warning is stopped when either of the following conditions is met:


          • The power switch is turned off.

          • The electrical key transmitter sub-assembly is detected in the vehicle (interior key certification result is OK).

      7. Situation F


        • The lock sensor on a door outside handle is touched to perform entry lock with the electrical key transmitter sub-assembly left in the vehicle. In this situation, the following control is performed:

          Possible Effects without Warning Vehicle theft
          Warning Active Condition

          The warning is activated when all of the following conditions are met:


          • The power switch is off.

          • All doors are closed.

          • The electrical key transmitter sub-assembly is detected in the vehicle (interior key certification result is OK).

          • The lock sensor on the outside door handle is on (touched).

          • Any door is unlocked.

          • The vehicle speed is not detected.

          Warning Method Combination Meter Assembly Multi Buzzer -
          Multi-information Display

          The following warning message is displayed:


          • Key Detected in Vehicle.

          Wireless Door Lock Buzzer Sounds continuously
          Wireless Door Lock Buzzer Warning Stop Condition

          The warning is stopped when any of the following conditions is met:


          • 5 seconds elapse.

          • The power switch is turned on (ACC) or on (IG).

          • The vehicle speed is above 5 km/h (3 mph).

          • Any door is opened.

          • Lock operation is detected.

          "Key Detected in Vehicle." Message Warning Stop Condition

          The warning is stopped when any of the following conditions is met:


          • 60 seconds elapse.

          • The power switch is turned on (ACC) or on (IG).

          • The vehicle speed is above 5 km/h (3 mph).

          • Lock operation is detected.

      8. Situation G


        • The lock sensor on the door outside handle is pushed to perform entry lock, however, a door is ajar. In this situation, the following control is performed:

          Possible Effects without Warning Vehicle theft
          Warning Active Condition

          The warning is activated when all of the following conditions are met:


          • The power switch is off.

          • Any door is open other than the door where the entry lock operation is performed.

          • The lock sensor on the outside door handle is on (touched), the lock button on the electrical key transmitter sub-assembly or the back door lock switch is pressed.

          • The electrical key transmitter sub-assembly is in an outside detection area (exterior key certification result is OK).

          Warning Method Combination Meter Assembly Multi Buzzer -
          Multi-information Display -
          Wireless Door Lock Buzzer Sounds continuously
          Warning Stop Condition

          The warning is stopped when one of the following conditions is met:


          • 5 seconds elapse.

          • The power switch is turned on (ACC) or on (IG).

          • All doors are closed.

          • Any door open operation.

          • Unlock operation is performed using the wireless door lock remote function.

          • Unlock operation is performed using the touch sensor on the inside of an outside door handle.

      9. Situation H


        • The door is locked with the electrical key transmitter sub-assembly left in the vehicle. In this situation, the following control is performed:

          Possible Effects without Warning Vehicle theft
          Warning Active Condition

          Condition 1

          The warning is activated when all of the following conditions are met:


          • The door is locked using the keyless lock operation.*1

          • The electrical key transmitter sub-assembly is in the vehicle (interior key certification result is OK).

          • The vehicle speed is not detected.

          Condition 2*2

          The warning is activated when all of the following conditions are met:


          • The power switch is turned off.

          • All doors are closed and locked.

          • Lock operation without using the entry system is detected.

          • The electrical key transmitter sub-assembly is in the vehicle (interior key certification result is OK).

          Warning Method Combination Meter Assembly Multi Buzzer Sounds once
          Multi-information Display

          The following warning message is displayed:


          • Key Detected in Vehicle.

          Wireless Door Lock Buzzer Sounds continuously
          Wireless Door Lock Buzzer Warning Stop Condition

          The warning is stopped when one of the following conditions is met:


          • 5 seconds elapse.

          • The power switch is turned to other mode.

          • Any door is opened.

          • Lock operation is detected.

          • The vehicle speed is above 5 km/h (3 mph).

          "Key Detected in Vehicle." Message Warning Stop Condition

          The warning is stopped when one of the following conditions is met:


          • 60 seconds elapse.

          • The power switch is turned to other mode.

          • Lock operation is detected.

          • The vehicle speed is above 5 km/h (3 mph).

          *1: Keyless lock operation is door lock operation without using the electrical key transmitter sub-assembly. First, set the lock position (door lock knob) when the door is open, and close the door while pulling the door handle to lock the door.

          *2: Destination package for United Kingdom

      10. Situation I


        • The vehicle is driven using an electrical key transmitter sub-assembly that has a low battery. In this situation, the following control is performed:

          Possible Effects without Warning Usability function, hybrid system cannot be restarted
          Warning Active Condition

          Condition 1

          The warning is activated when all of the following conditions are met:


          • The power switch is turned off after being left on (IG) for more than 20 minutes.

          • The key battery voltage is low (key battery low code is received).

          • The electrical key transmitter sub-assembly is in the vehicle (interior key certification result is OK).

          • The vehicle speed is not detected.

          Condition 2

          The warning is activated when all of the following conditions are met:


          • The hybrid system is stopped → restarted.

          • The key battery voltage is low (key battery low code is received).

          • The electrical key transmitter sub-assembly is in the vehicle (interior key certification result is OK).

          • The vehicle speed is not detected.

          • The low key battery warning for condition 1 was performed.*

          Warning Method Combination Meter Assembly Multi Buzzer Sounds once
          Multi-information Display

          The following warning message is displayed:


          • Key Battery Low. Replace Key Battery.

          Wireless Door Lock Buzzer -
          Warning Stop Condition

          The warning is stopped when either of the following conditions is met:


          • 15 seconds elapse.

          • The vehicle speed is above 5 km/h (3 mph).

          *: Warning performed after 20 minutes of the power switch being turned on (IG)

      11. Situation J


        • The steering lock cannot be released or the shift lever is moved to a position other than P before the steering lock is unlocked. In this situation, the following control is performed:

          Possible Effects without Warning Usability function
          Warning Active Condition

          The warning is activated when the following condition is met:

          The steering lock cannot be released (the steering lock ECU judgment).

          Warning Method Combination Meter Assembly Multi Buzzer Sounds once
          Multi-information Display

          The following warning message is displayed:


          • Push POWER Switch while Turning The Steering Wheel in Either Direction.

          Wireless Door Lock Buzzer -
          Warning Stop Condition

          The power switch is pushed while the steering wheel is turned left and right.

          The warning is stopped when either of the following conditions is met:


          • 15 seconds elapse.

          • The steering lock is released.

      12. Situation K


        • A vehicle speed signal malfunction or malfunction that interferes with steering lock ECU (steering lock actuator assembly) operation has been detected. In this situation, the following control is performed:

          Possible Effects without Warning Malfunction Detection
          Warning Active Condition

          The warning is activated when either of the following conditions is met:


          • The steering lock ECU (steering lock actuator assembly) or steering lock/unlock position switch is malfunctioning.

          • The vehicle speed is judged as abnormal or vehicle speed signal communication is malfunctioning.

          • An IG relay output circuit error has been detected.

          Warning Method Combination Meter Assembly Multi Buzzer Sounds once
          Multi-information Display

          The following warning message is displayed:


          • Entry & Start System Malfunction. See Owner's Manual.

          Wireless Door Lock Buzzer -
          Warning Stop Condition

          The warning is stopped when either of the following conditions is met:


          • 15 seconds elapse.

          • The system returns to normal.

      13. Situation L


        • When the driver attempts to start the hybrid system after unlocking the driver door using the mechanical key, the electrical key transmitter sub-assembly cannot be detected in the vehicle or cannot be detected in the vehicle 2 times in a row. In this situation, the following control is performed:

          Possible Effects without Warning Usability function
          Warning Active Condition

          The warning is activated when the power switch is pressed with all of the following conditions met:


          • The immobiliser system is set.

          • The electrical key transmitter sub-assembly is not detected in the vehicle (interior key certification fails).

          • The doors were unlocked using a mechanical key or when the power switch is pressed, a certification error occurs 2 times in a row.

          Warning Method Combination Meter Assembly Multi Buzzer Sounds once
          Multi-information Display

          The following warning message is displayed for 60 seconds (and then automatically turned off):


          • Depress Brake Pedal and Touch POWER Switch with Key.

          Wireless Door Lock Buzzer -
          Warning Stop Condition

          The warning is stopped when one of the following conditions is met:


          • 60 seconds elapse.

          • The electrical key transmitter sub-assembly is detected in the vehicle (interior key certification result is OK and transponder certification result is OK).

          • 30 seconds have elapsed since the door was opened using a door outside handle.

      14. Situation M


        • The power switch is touched with an electrical key transmitter sub-assembly when the transmitter battery voltage is low, smart operation is canceled or radio interference occurs. In this situation, the following control is performed:

          Possible Effects without Warning Usability function
          Warning Active Condition Transponder certification result is OK.
          Warning Method Combination Meter Assembly Multi Buzzer Sounds once
          Multi-information Display

          The following warning message is displayed:


          • Depress Brake Pedal & Push POWER Switch to Start.

          Wireless Door Lock Buzzer -
          Warning Stop Condition

          The warning is stopped when one of the following conditions is met:


          • 10 seconds elapse.

          • The electrical key transmitter sub-assembly is detected in the vehicle (interior key certification results is OK).

          • The hybrid system is started.

          • The immobiliser system is set and interior certification is stopped or key certification fails.

      15. Situation N


        • An electrical key transmitter sub-assembly has been registered to the vehicle. In this situation, the following control is performed:

          Possible Effects without Warning Usability function
          Warning Active Condition

          The warning is activated when all of the following conditions are met:


          • The power switch is turned off.

          • The driver door is unlocked by an unlock operation from the outside of the vehicle, and then opened.

          • A new electrical key transmitter sub-assembly has been registered to the vehicle within 10 days.

          Warning Method Combination Meter Assembly Multi Buzzer -
          Multi-information Display

          The following warning message is displayed:


          • A New Key has been Registered. Contact Your Dealer for Details.

          Wireless Door Lock Buzzer -
          Warning Stop Condition

          The warning is stopped when one of the following conditions is met:


          • 60 seconds have elapsed since the warning started.

          • All doors are closed and locked.

          • The power switch is turned on (IG).

      16. Situation O


        • The system recognizes the situation that indicates the driver may start the hybrid system (when the driver enters the vehicle or the power switch is on (ACC)). In this situation, the following control is performed:

          Possible Effects without Warning Hybrid system cannot be restarted
          Warning Active Condition

          The warning is activated when either of the following conditions is met:


          • When the door is unlocked from the outside of the vehicle with the power switch off, the driver door is closed → opened.

          • Each time the power source mode is changed from off to on (ACC) without the brake pedal depressed.

          Warning Method Combination Meter Assembly Multi Buzzer -
          Multi-information Display

          The following warning message is displayed:


          • Depress Brake Pedal & Push POWER Switch to Start.

          Wireless Door Lock Buzzer -
          Warning Stop Condition

          The warning is stopped when one of the following conditions is met:


          • 19 seconds have elapsed since the warning started.

          • The hybrid system is started.

          • Door lock operation is performed from the outside of the vehicle.

          • Wireless operation is performed from the inside of the vehicle or door lock operation is performed using a keyless lock function.

      17. Situation P


        • The system recognizes the situation that indicates the driver may start the hybrid system (when the power switch is on (IG)). In this situation, the following control is performed:

          Possible Effects without Warning Hybrid system cannot be restarted
          Warning Active Condition

          The warning is activated when either of the following conditions is met:


          • Each time the power source mode is changed from off to on (IG) (the hybrid system is not started) with the shift lever in P and without the brake pedal depressed.

          • When the power switch is on (IG) (the hybrid system is not started) with the shift lever in a position other than P, the shift lever is moved to P.

          Warning Method Combination Meter Assembly Multi Buzzer -
          Multi-information Display

          The following warning message is displayed:


          • Not Ready to Drive. Depress Brake Pedal & Push POWER Switch to Start.

          Wireless Door Lock Buzzer -
          Warning Stop Condition

          The warning is stopped when one of the following conditions is met:


          • The power source mode is changed to any mode other than on (IG).

          • The vehicle speed is above 5 km/h (3 mph).

          • The shift lever is in a position other than P.

      18. Situation Q


        • The driver attempts to turn the power switch off with the shift lever in any position other than P. In this situation, the following control is performed:

          Possible Effects without Warning Discharged vehicle battery, vehicle roll-away.
          Warning Active Condition The power switch is turned off when the shift lever in a position other than P. (Excluding an emergency stop by pressing the power switch 3 times quickly or pressing and holding the power switch for 2 seconds or more.)
          Warning Method Combination Meter Assembly Multi Buzzer Sounds once
          Multi-information Display

          The following warning message is displayed:


          • Shift to P Before Exiting Vehicle

          Wireless Door Lock Buzzer -
          Warning Stop Condition

          The warning is stopped when either of the following conditions is met:


          • The shift lever is moved to P.

          • The power switch is turned to a mode other than on (ACC).

      19. Situation R


        • Under situation P, the shift lever is moved to P. In this situation, the following control is performed:

          Possible Effects without Warning Discharged vehicle battery, vehicle roll-away (vehicle creep, such as when N is selected)
          Warning Active Condition The shift lever is moved to P.
          Warning Method Combination Meter Assembly Multi Buzzer Sounds once
          Multi-information Display

          The following warning message is displayed:


          • Turn Power Off.

          Wireless Door Lock Buzzer -
          Warning Stop Condition

          The warning is stopped when either of the following conditions is met:


          • The power source mode is changed to a mode other than on (ACC).

          • The shift lever is in any position other than P.

      20. Situation S


        • Automatic power off operation occurs. In this situation, the following control is performed:

          Possible Effects without Warning Usability function
          Warning Active Condition

          The warning is activated when all of the following conditions are met:


          • The shift lever is in P.

          • The power switch is on (ACC) or on (IG).

          • The vehicle speed is not detected and the hybrid system is stopped.

          • The power source is turned off by the automatic power off function (the vehicle remains not operated for 20 minutes with the power switch on (ACC) or for 1 hour with the power switch on (IG)).

          Warning Method Combination Meter Assembly Multi Buzzer -
          Multi-information Display

          The following warning message is displayed:


          • Auto Power Off to Conserve Battery.

          Wireless Door Lock Buzzer -
          Warning Stop Condition

          The warning is stopped when either of the following conditions is met:


          • 10 seconds have elapsed since the warning started.

          • The power switch is turned on (ACC) or on (IG).

      21. Situation T


        • The driver stopped the hybrid system using emergency operation while driving. In this situation, the following control is performed:

          Possible Effects without Warning Usability function
          Warning Active Condition

          The warning is activated when either of the following conditions is met:


          • The hybrid system is stopped by emergency stop operation while driving.

          • After emergency stop operation, the power switch is turned on (IG), the vehicle speed is detected and the hybrid system is not started.

          Warning Method Combination Meter Assembly Multi Buzzer -
          Multi-information Display

          The following warning message is displayed:


          • Shift to N Position & Push POWER Switch to Restart

          Wireless Door Lock Buzzer -
          Warning Stop Condition

          The warning is stopped when one of the following conditions is met:


          • The shift lever is moved to P.

          • The vehicle speed is not detected (after the power switch is turned on (IG) using power switch operation).

          • The power switch is operated.

          • The hybrid system has started.

      22. Situation U


        • The user performed an emergency hybrid system stop while driving. In this situation, the following control is performed:

          Possible Effects without Warning The driver may not notice that the hybrid system has been stopped while driving.
          Warning Active Condition The hybrid system is stopped using the emergency hybrid system stop function.
          Warning Method Combination Meter Assembly Multi Buzzer Sounds continuously
          Multi-information Display -
          Wireless Door Lock Buzzer -
          Warning Stop Condition

          The warning is stopped when one of the following conditions is met:


          • The shift lever is moved to P.

          • The vehicle speed is not detected (after the power switch is turned on (IG) using power switch operation).

          • The hybrid system has started.

      23. Situation V


        • The driver pressed the power switch while driving. In this situation, the following control is performed:

          Possible Effects without Warning Wrong operation is prevented
          Warning Active Condition The vehicle is moving, the vehicle speed is detected and the power switch is pressed.
          Warning Method Combination Meter Assembly Multi Buzzer Sounds intermittently
          Multi-information Display -
          Wireless Door Lock Buzzer -
          Warning Stop Condition

          The warning is stopped when either of the following conditions is met:


          • 2 seconds have elapsed since the power switch operation was stopped.

          • The power switch is turned off.

      24. Situation W


        • The driver pressed the power switch while driving. In this situation, the following control is performed:

          Possible Effects without Warning Usability function
          Warning Active Condition The vehicle is moving, the vehicle speed is detected and the power switch is pressed.
          Warning Method Combination Meter Assembly Multi Buzzer -
          Multi-information Display

          The following warning message is displayed:


          • Push and Hold POWER Switch for Emergency Stop

          Wireless Door Lock Buzzer -
          Warning Stop Condition

          The warning is stopped when either of the following conditions is met:


          • 10 seconds elapse.

          • The power switch is turned off.

      25. Situation X


        • While the vehicle is stationary, the shift lever is moved to a position other than P or N with the power switch on (IG) and the hybrid system stopped. In this situation, the following control is performed:

          Possible Effects without Warning Vehicle roll-away
          Warning Active Condition While the vehicle is stopped, the shift lever is moved to a position other than P or N with the power switch on (IG).
          Warning Method Combination Meter Assembly Multi Buzzer Sounds continuously
          Multi-information Display

          The following warning message is displayed:


          • Hybrid System Stopped. Shift to P Position

          Wireless Door Lock Buzzer -
          Warning Stop Condition

          The warning is stopped when one of the following conditions is met:


          • The shift lever is moved to P or N.

          • The power switch is turned off.

          • The vehicle speed is detected.

      26. Situation Y


        • While the vehicle is stationary, the shift lever is moved to a position N with the power switch on (IG) and the hybrid system stopped. In this situation, the following control is performed:

          Possible Effects without Warning Usability function
          Warning Active Condition While the vehicle is stopped, the shift lever is moved to a position N with the power switch on (IG).
          Warning Method Combination Meter Assembly Multi Buzzer -
          Multi-information Display

          The following warning message is displayed:


          • Shift to P Position to Start

          Wireless Door Lock Buzzer -
          Warning Stop Condition

          The warning is stopped when one of the following conditions is met:


          • The shift lever is moved to other than N.

          • The power switch is turned off.

          • The vehicle speed is detected.

      27. Situation Z


        • The vehicle started to roll away with the power switch on (IG) and the hybrid system stopped. In this situation, the following control is performed:

          Possible Effects without Warning Vehicle roll-away
          Warning Active Condition While the vehicle is moving, the shift lever is in a position other than P or N with the power switch on (IG) and the hybrid system stopped.
          Warning Method Combination Meter Assembly Multi Buzzer Sounds intermittently
          Multi-information Display

          The following warning message is displayed:


          • Hybrid System Stopped. Stop in a Safe Place.

          Wireless Door Lock Buzzer -
          Warning Stop Condition

          The warning is stopped when one of the following conditions is met:


          • The shift lever is moved to N.

          • The power switch is turned off.

          • The hybrid system has started.

          • The vehicle speed is not detected.

      28. Situation AA


        • The power source is changed to on (ACC). In this situation, the following control is performed:

          Possible Effects without Warning Usability function
          Warning Active Condition The power source is changed to on (ACC).
          Warning Method Combination Meter Assembly Multi Buzzer -
          Multi-information Display ACCESSORY
          Wireless Door Lock Buzzer -
          Warning Stop Condition

          The warning is stopped when the following condition is met:


          • The power source is changed to a mode other than on (ACC).

      29. Situation AB


        • The power source is changed to on (IG). In this situation, the following control is performed:

          Possible Effects without Warning Usability function
          Warning Active Condition The power source is changed to on (IG).
          Warning Method Combination Meter Assembly Multi Buzzer -
          Multi-information Display IGNITION ON
          Wireless Door Lock Buzzer -
          Warning Stop Condition

          The warning is stopped when either of the following conditions is met:


          • The power source is changed to a mode other than on (IG).

          • The display in the odometer area is changed due to user operation.

    6. Battery Saving


      1. Battery saving preserves the vehicle and key batteries. It is activated when the vehicle remains parked for a long time and when the electrical key transmitter sub-assembly is left in the exterior actuation area.

        Condition Control Reinstatement Condition
        When the vehicle remains parked for a long time.

        Control 1:

        No response from electrical key transmitter sub-assembly for more than 5 days


        • Door electrical key antennas and electrical key antenna stop emitting signals for creating the actuation area.

        When the power switch is turned on (IG), the control is canceled and the system is returned to normal.

        Control 2:

        No response from electrical key transmitter sub-assembly for more than 14 days


        • Door electrical key antennas and electrical key antenna stop emitting signals for creating the actuation area.

        • Door lock sensors and unlock sensors for seats other than the driver seat are disabled.

        When the power switch is turned on (IG), the control is canceled and the system is returned to normal.

        When one of the following conditions is met, the control is returned to control 1:


        • The doors are locked or unlocked using wireless remote control.

        • The doors are locked or unlocked by touching the lock/unlock sensor on the driver door.

        • A door is locked or unlocked using the mechanical key.

        • Door is opened → closed.

        When the electrical key transmitter sub-assembly is left in the exterior detection area.

        This state continues longer than 10 minutes


        • Electrical key antenna that is detecting the electrical key transmitter sub-assembly stops emitting signals for creating the actuation area.

        The control is stopped when one of the following conditions is met:


        • The doors are locked or unlocked using wireless remote control.

        • The doors are locked or unlocked by touching the lock/unlock sensor on the front door.

        • A door is locked or unlocked using the mechanical key.

      2. In addition to the above functions, the auto power off function helps to reduce drain on the vehicle battery by turning the power source mode to off when approximately 60 minutes have elapsed since the shift lever was moved to P with the power source on (ACC), or the hybrid system was turned off with the shift lever in P, the power source on (IG) and the vehicle stationary.

    7. Battery Saving Function of Electrical Key Transmitter Sub-assembly


      1. This function cancels the signal reception waiting state of the electrical key transmitter sub-assembly, reducing the consumption of current from its battery.

      2. The electrical key transmitter sub-assembly can be placed into and taken out of battery saving mode. When the electrical key transmitter sub-assembly is in battery saving mode, the entry and start system will not be able to detect the transmitter, as the transmitter will not respond to signals from the vehicle. The function of the entry and start system will not operate if the electrical key transmitter sub-assembly is in battery saving mode.

      3. Pressing the unlock button of the electrical key transmitter sub-assembly twice while pressing the lock button (the indicator light of the electrical key transmitter sub-assembly blinks 4 times) selects battery saving mode for the electrical key transmitter sub-assembly.

      4. Battery saving mode can be canceled by pressing any switch on the electrical key transmitter sub-assembly.

    8. Entry unlock mode switching function (Models with entry function)


      1. The following entry unlock modes can be selected when using the entry unlock mode switching function.


        • All door unlock mode: When the sensor of a door outside handle assembly is touched, an entry unlock operation is performed simultaneously for all doors.

        • Driver door unlock mode: When the sensor of the driver side door outside handle assembly is touched, an entry unlock operation is performed for the driver door only. If any other door handle is touched, an entry unlock operation is performed simultaneously for all doors.

      2. When customizing through manual operation:


        1. Turn the power switch off.

        2. Check that the LED of the electrical key transmitter sub-assembly is not illuminated, and then press and hold the lock and unlock buttons of the electrical key transmitter sub-assembly for 5 seconds or more while the electrical key transmitter sub-assembly is in the actuation area.

        3. Check the current setting.

          Tech Tips


          • The mode changes from all door unlock mode to driver door unlock mode and then back to all door unlock mode.

          • The answer-back (wireless buzzer, buzzer in the combination meter assembly) operation for each mode is indicated in the table below.

          Currently Selected Mode Answer-back (Wireless Buzzer) Answer-back (Buzzer in Combination Meter Assembly)
          All door unlock mode Buzzer sounds twice (short beeps) Buzzer sounds once
          Driver door unlock mode Buzzer sounds 3 times (short beeps) Buzzer sounds once
        4. Release the lock and unlock buttons of the electrical key transmitter sub-assembly.

        5. Check that the LED of the electrical key transmitter sub-assembly is not illuminated, and then press and hold the lock and unlock buttons of the electrical key transmitter sub-assembly for 5 seconds or more to change the mode.

          Tech Tips

          Repeat the procedure as necessary to select the desired mode.

        6. Unlock the doors with the wireless operation, and then open any door.

          A001LU4E01
    9. Key Cancel


      1. The following system functions can be deactivated by using the key cancel procedure.


        • Entry Lock

        • Entry Unlock

        • Back Door Open

        • Prevention of Key Confinement

        • Warning

      2. The system functions can be deactivated by using the following key cancel procedure when the power switch is off and the driver door is closed and unlocked.

        Key Cancel Procedure

        The procedure is as follows:


        • Press the unlock switch of the electrical key transmitter sub-assembly once.

        • Within 5 seconds of the step above, open the driver door (Driver Door: Close → Open).

        • Within 5 seconds of the step above, press the unlock switch of the electrical key transmitter sub-assembly twice.

        • Repeat close → open for the driver door twice* (Driver Door: Open → Close → Open → Close → Open).

        • Press the unlock switch of the electrical key transmitter sub-assembly twice.*

        • Repeat close → open for the driver door once* (Driver Door: Open → Close → Open).

        • Within 5 seconds of the step above, close the driver door.

        When the cancel procedure is complete, the buzzer sounds twice. Meanwhile, when the procedure is performed again to resume the system, the buzzer sounds once.

        *: Perform all these 3 steps within 30 seconds of the previous step.

    10. Key Code Registration Function


      1. The table below shows the 3 special ID code registration function modes through which up to 7 different transmitter recognition codes can be registered. For details, refer to the Repair Manual.

        Mode Function
        Rewrite Clears all previously registered codes and registers only the newly received codes. This mode is used whenever the certification ECU (smart key ECU assembly) is replaced.
        Add Adds a newly received code while preserving previously registered codes. This mode is used when adding a new transmitter.
        Confirm Confirms how many codes are currently registered. When adding a new code, this mode is used to check how many codes already exist.
  4. FUNCTION


    1. Entry Function (Models with Entry Function)


      1. The entry function consists of the following functions:

        Function Outline
        Wireless Door Lock Control This function is a convenient system for locking and unlocking all the doors at a distance. The operation of this function is the same as that in the wireless door lock control system.
        Entry Illumination When an electrical key transmitter sub-assembly enters the exterior actuation area of the door electrical key antennas, the interior light illuminates.
        Entry Unlock When an electrical key transmitter sub-assembly is located in the exterior actuation area of any door electrical key antenna, the door will unlock after the inner part of an outside door handle is touched.
        Entry Unlock Mode Switching

        Allows switching between 2 modes that can be operated with the entry unlock function.


        • Driver Door Mode

        • All Door Mode

        Entry Lock When an electrical key transmitter sub-assembly is located in the exterior actuation area of an electrical key antenna and the power switch is off, all doors can be locked by simply touching the lock sensor or back door lock switch.
        Entry Back Door Unlock The back door is unlocked by pressing the back door unlock switch of the back door.
        Prevention of Key Confinement The key confinement prevention function prevents the vehicle from being locked with an electrical key transmitter sub-assembly left inside it. This function operates in 2 different situations: when the lock knob is used (keyless lock) and when an outside door handle lock sensor is used (lock sensor).
        Warning When any of the situations below occur, the entry and start system causes the certification ECU (smart key ECU assembly) to sound the multi buzzer in the combination meter and the wireless door lock buzzer, and indicates a warning on the multi-information display in order to alert the driver.
        Battery Saving To prevent the electrical key transmitter sub-assembly battery and the vehicle battery from becoming discharged, the battery saving function activates when the vehicle remains unused for a long period of time or the electrical key transmitter sub-assembly has been detected in the exterior actuation area for more than 10 minutes.
        Key Cancel

        The following key functions can be canceled by following the specified procedure.


        • Entry unlock/lock

        • Back door open

        • Prevention of key confinement

        • Warning

        Key Code Registration A total of 7 electrical key transmitter sub-assemblies can be registered.
    2. Wireless Door Lock Control Function


      1. The wireless door lock control system has the following functions:

        Function Outline
        All Doors Lock Pressing the lock button of the electrical key transmitter sub-assembly locks all doors.
        Answer Back When the doors are being locked or unlocked using the electrical key transmitter sub-assembly, the hazard warning lights blink once while locking and twice while unlocking. Also, the answer back function operates when the doors are locked by the automatic relock function.
        Automatic Relock If none of the doors are opened within 30 seconds after they are unlocked using the wireless door lock remote control, all the doors will be locked again automatically.
        Repeat If a door is not locked in response to the locking operation of the electrical key transmitter sub-assembly, the main body ECU (multiplex network body ECU) will output a lock signal again after 1 second elapses.
        Security Sends a door lock/unlock operation request signal as a rolling code.
        Door Ajar Warning If any door is open or ajar, pushing the lock button of the electrical key transmitter sub-assembly will cause the wireless door lock buzzer to sound for about 10 seconds as a warning.
  5. DIAGNOSIS


    1. Start Function


      1. The certification ECU (smart key ECU assembly) can detect malfunctions in the entry and start system when the power source is on (IG).

      2. When the ECU detects a malfunction, a message is displayed on the multi-information display to warn the driver. At the same time, the ECU stores a 5-digit Diagnostic Trouble Code (DTC) in its memory.

      3. The indicator light warning continues for 15 seconds even after the power switch is turned off.

      4. The 5-digit DTCs can be read after connecting the Global TechStream (GTS) to the DLC3.

      5. The entry and start system may not operate successfully if a malfunction occurs.