CAN COMMUNICATION SYSTEM

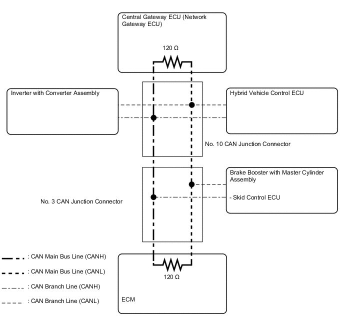
Figure 1. V Bus

A001LWVE01

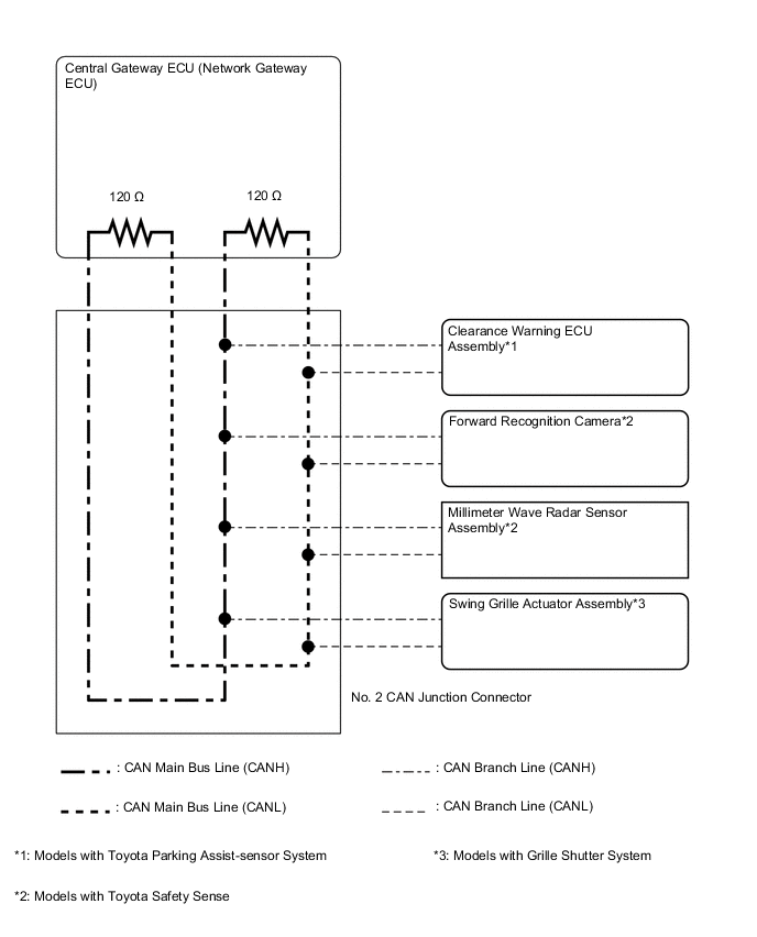
Figure 2. Bus 1 (Models without Blind Spot Monitor System)

A001M2CE01

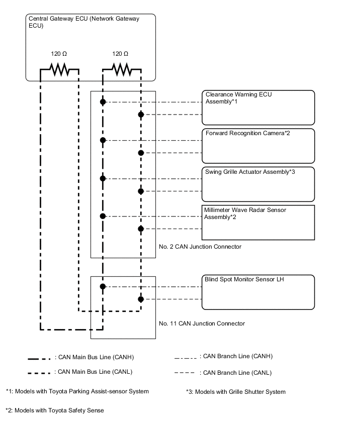
Figure 3. Bus 1 (Models with Blind Spot Monitor System)

A001LJTE01

Figure 4. Bus 2 (LHD Models)

A001LPOE01

Figure 5. Bus 2 (RHD Models)

A001LN3E01

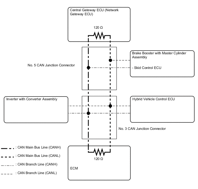
Figure 6. Bus 3

A001M46E01

Figure 7. Bus 4 (LHD Models)

A001M1FE01

Figure 8. Bus 4 (RHD Models)

A001LLPE01

Figure 9. Bus 5

A001LJKE01

Figure 10. Multi-media Local Bus (Models with Display Audio System)

A001LNUE01
*1 Combination Meter Assembly
*2 Radio and Display Receiver Assembly
*3 CAN Main Bus Line (CANH)
*4 CAN Main Bus Line (CANL)

Figure 11. Driving Support Local Bus (Models with Toyota Safety Sense)

A001LNUE02
*1 Forward Recognition Camera
*2 Millimeter Wave Radar Sensor Assembly
*3 CAN Main Bus Line (CANH)
*4 CAN Main Bus Line (CANL)

Figure 12. Blind Spot Monitor Local Bus (Models with Blind Spot Monitor System)

A001M4BE01
*1 Blind Spot Monitor Sensor LH
*2 Blind Spot Monitor Sensor RH
*3 CAN Main Bus Line (CANH)
*4 CAN Main Bus Line (CANL)