ELECTRIC PARKING BRAKE SYSTEM


  1. CONSTRUCTION


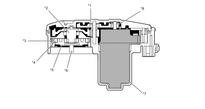
    1. The parking brake actuator assembly consists of a motor, each gear, a planetary gear and a joint.

    2. The parking brake actuator assembly generates the necessary torque with the planetary gear and each gear according to signals from the parking brake ECU assembly, and transmits the rotational torque to the brake caliper via the joint.

    3. When the parking brake actuator assembly receives the lock signal from the parking brake ECU assembly, the motor rotates the joint counterclockwise via each pinion, gear and the carrier sub-assembly. This rotational torque rotates the bolt and nut inside the brake caliper and converts the torque into mechanical movement to lock the parking brake.

    4. When the parking brake actuator assembly receives the release signal from the parking brake ECU assembly, the motor rotates the joint clockwise via each pinion, gear and the carrier sub-assembly. This rotational torque releases the piston and parking brake in order to return the bolt and nut inside the brake caliper.

      A001LNQC01
      *1 No. 2 Pinion Gear and No. 1 Gear Sub- assembly *2 Shift Gear and No. 2 Gear Sub-assembly
      *3 Ring Gear *4 Planetary Gear
      *5 Carrier Sub-assembly *6 Joint (Output Shaft)
      *7 Motor *8 No. 1 Pinion Gear