DYNAMIC RADAR CRUISE CONTROL SYSTEM


  1. FUNCTION OF MAIN COMPONENTS


    1. The main components in the dynamic radar cruise control system have the following functions:

      Component Function
      Cruise Control Main Switch ON-OFF Button
      • Turns the cruise control system on and off.

      • Vehicle-to-vehicle distance control mode becomes be activated immediately after the main switch is turned on. The mode shifts to constant speed control mode by pressing and holding the button more than 1.5 sec from the cruise control system off.

      CANCEL Switch A cancel signal is output to the hybrid vehicle control ECU when this switch is operated.
      +RES Switch The acceleration function and resuming of a preset speed can be performed by operating this switch. A signal is output to the hybrid vehicle control ECU when this switch is operated.
      -SET Switch The deceleration function and vehicle speed setting resume signals are output to the hybrid vehicle control ECU when this switch is operated.
      Steering Pad Switch Assembly Vehicle-to-vehicle Distance Control Switch While the system is in vehicle-to-vehicle distance control mode, the driver can operate the vehicle-to-vehicle distance control switch to select the vehicle-to-vehicle distance in three levels: long, middle and short.
      Hybrid Vehicle Control ECU
      • Controls the dynamic radar cruise control system in accordance with signals from switches, sensors, and the millimeter wave radar sensor assembly.

      • If the hybrid vehicle control ECU detects a malfunction in the dynamic radar cruise control system, it will store DTCs (Diagnostic Trouble Codes).

      Inverter with Converter Assembly MG ECU Built into the inverter with converter assembly. Controls the motive force of hybrid vehicle transaxle assembly in accordance with signals from the hybrid vehicle control ECU.
      Hybrid Vehicle Transaxle Assembly Generates motive force for the front wheels.
      ECM Actuates the throttle control motor in accordance with the signals from the hybrid vehicle control ECU.
      Stop Light Switch Assembly Detects brake pedal depression and transmits its signal to the hybrid vehicle control ECU.
      Millimeter Wave Radar Sensor Assembly
      • Radiates millimeter waves forward, uses the reflected waves to detect the presence of a vehicle traveling ahead, the vehicle-to-vehicle distance, and the relative speed.

      • While the system is in vehicle-to-vehicle distance control mode, the millimeter wave radar sensor assembly detects the vehicle ahead based on signals from the built-in millimeter wave radar sensor and forward recognition camera. Then, the millimeter wave radar sensor assembly calculates the acceleration or deceleration rate required in order to attain the target vehicle-to-vehicle distance, and outputs a request signal to the hybrid vehicle control ECU.

      • If the hybrid vehicle control ECU detects a malfunction in the dynamic radar cruise control system, it will store DTCs (Diagnostic Trouble Codes).

      Forward Recognition Camera (Camera Sensor) Detects lane markers and objects on the road ahead using the image captured by the monocular camera and sends the information to the millimeter wave radar sensor assembly.
      Camera Heater (Forward Recognition Hood) Heats the sheet heater in accordance with the signals from the forward recognition camera (camera sensor).
      Combination Meter Assembly Cruise Control Indicator Light (Constant Speed Control Mode)
      • Based on a cruise control indicator light operation signal sent by the hybrid vehicle control ECU, the combination meter assembly illuminates the cruise control indicator light when the cruise control system has been turned on using the ON-OFF button on the cruise control main switch.

      • Based on a cruise control indicator light operation signal sent by the hybrid vehicle control ECU or millimeter wave radar sensor assembly, the combination meter assembly turns off the cruise control indicator light if a malfunction occurs in the cruise control system.

      Cruise Control Indicator Light (Vehicle-to-vehicle Distance Control Mode)
      • Based on a cruise control indicator light operation signal sent by the hybrid vehicle control ECU, the combination meter assembly illuminates the cruise control indicator light when the cruise control system has been turned on using the ON-OFF button on the cruise control main switch.

      • Based on a cruise control indicator light operation signal sent by the hybrid vehicle control ECU or millimeter wave radar sensor assembly, the combination meter assembly turns off the cruise control indicator light if a malfunction occurs in the cruise control system.

      Cruise SET Indicator Light Illuminates when the vehicle speed is set.
      Buzzer If the hybrid vehicle control ECU or millimeter wave radar sensor assembly detects automatic cancel or warning signals while the vehicle is operating under cruise control, this buzzer sounds to inform the driver.
      Multi-information Display During dynamic radar cruise control operation, the multi-information display receives signals from the hybrid vehicle control ECU or millimeter wave radar sensor assembly in order to display the system conditions.
      Master Warning Light Comes on when there is a malfunction in the system.
      Spiral Cable with Sensor Sub-assembly Steering Sensor Detects the angle and direction of steering and transmits signals to the skid control ECU and millimeter wave radar sensor assembly.
      Airbag ECU Assembly Yawrate Sensor Detects the yaw rate of the vehicle and transmits signals to the millimeter wave radar sensor assembly.
      Brake Booster with Master Cylinder Assembly Skid Control ECU
      • While the system is operating in vehicle-to-vehicle distance control mode, the skid control ECU operates the brake actuator in accordance with the brake request signal received from the hybrid vehicle control ECU.

      • Applies the brakes in accordance with signals from the skid control ECU.

      Throttle Body Assembly Throttle Control Motor Adjusts the throttle valve opening angle in accordance with signals from the ECM.
      Throttle Position Sensor Detects the throttle valve opening angle and outputs it to the ECM.
      Pre-collision City Buzzer Sounds a buzzer when it receives a signal from the forward recognition camera (camera sensor) to alert the driver that the distance between vehicles is short.
      Accelerator Pedal Sensor Assembly Detects the accelerator pedal depression degree and outputs it to the hybrid vehicle control ECU.
      Speed Sensor Detects the wheel speed and transmits signals to the skid control ECU.
      Shift Lever Position Sensor Detects the shift lever position and transmits signals to the hybrid vehicle control ECU.
      Detects the VSC OFF (TRC OFF) signals and outputs it to the skid control ECU.
      Parking Brake ECU Assembly During stop retention control, when this ECU detects that the vehicle is parked through a driver side courtesy light switch signal or driver side seat belt buckle switch signal, or an electric parking brake switch assembly signal is input, the ECU operates the parking brake, then the system control is canceled.
      Electric Parking Brake Switch Assembly Electric Parking Brake Switch Outputs a parking brake application signal to the parking brake ECU.
      VSC OFF (TRC OFF) Switch Detects the VSC OFF (TRC OFF) signals and outputs it to the skid control ECU.
      Network Gateway ECU Gateway function of CAN communication.
  2. SYSTEM CONTROL


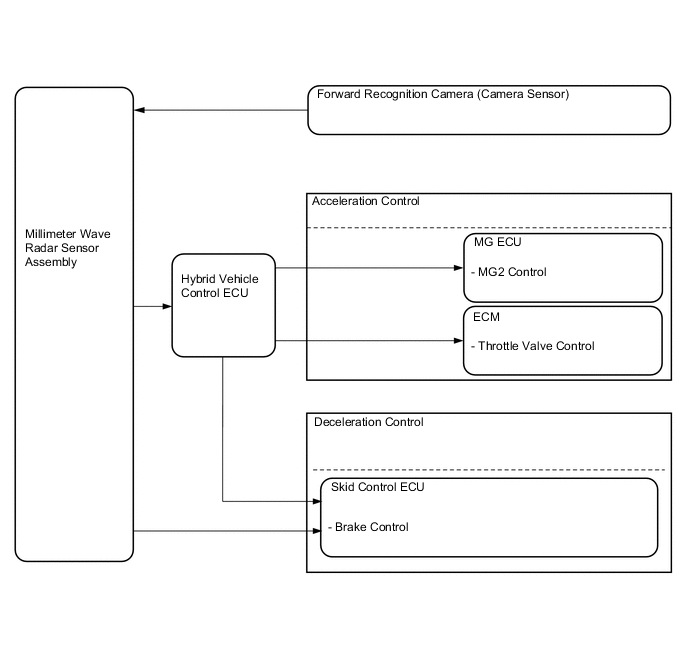
    1. The millimeter wave radar sensor assembly, forward recognition camera (camera sensor) and hybrid vehicle control ECU control this system.

    2. The combination meter assembly informs the driver of the control conditions.

    3. For vehicles with the dynamic radar cruise control system, constant speed control mode is controlled by the hybrid vehicle control ECU, which outputs signals to the throttle control motor and MG ECU.

    4. Vehicle-to-vehicle distance control mode is controlled by the millimeter wave radar sensor assembly and forward recognition camera (camera sensor). Thus, the signals are output to the actuators and the ECU while exchanging data as indicated below.

      A001LJZE01
  3. FUNCTION


    1. Control of Dynamic Radar Cruise Control System Varies Depending on Mode


      • A: Constant speed control mode

      • B: Vehicle-to-vehicle distance control mode

      Function Outline Mode
      A B
      Constant Speed Control The millimeter wave radar sensor assembly compares the actual vehicle speed and the set speed and if the vehicle speed is lower than the set speed, it uses the throttle motor to increase the throttle valve opening angle.
      Deceleration Control Performs engine, MG2 and brake control in order to decelerate the vehicle so that the vehicle-to-vehicle distance between the driver's own vehicle and the vehicle ahead is maintained at the set distance. -
      Follow-up Control After performing deceleration control, the driver's own vehicle follows the vehicle ahead in order to maintain the proper vehicle-to-vehicle distance. The actual distance maintained for each distance level (long, medium and short) varies in accordance with vehicle speed. -
      Acceleration Control Accelerates the vehicle in order to attain the set vehicle speed if the vehicle ahead or the driver's own vehicle has changed lanes. -
      Stop Control Detects if the vehicle ahead has stopped, performs motive force control and stops the vehicle while maintaining proper vehicle-to-vehicle distance. -
      Stop Retention Control Judges if the vehicle is stopped, performs brake control and keeps the vehicle stopped through the brake hold function. -
      Start Control Detects that the vehicle ahead starts moving again, displays the message on the multi-information display to urge the driver to perform the start-off operation (to operate the cruise control main switch or depress the accelerator pedal), and resumes follow-up control after the vehicle is started. -
      Set Control

      When the cruise control system has been turned on using the ON-OFF button on the cruise control main switch, either of the relevant vehicle speed conditions shown below is met, and the cruise control main switch is moved to the -SET side and released, the millimeter wave radar sensor assembly stores the vehicle speed and maintains the vehicle constantly at that speed.


      • The ON-OFF button on the cruise control main switch assembly is pressed.

      The vehicle is traveling at a speed within the range of approximately 50 km/h to 200 km/h (30 mph to 125 mph). -
      The vehicle is traveling at a speed within the range of approximately 50 km/h to 180 km/h (30 mph to 110 mph). -
      Low Speed Limit Control The low speed limit is the lowest speed that cruise control can be set at and it is designed to be approximately 40 km/h (25 mph). The cruise control system cannot be set below that speed. If the vehicle speed drops below that speed while driving using cruise control, speed control by the cruise control system will be canceled automatically. The set vehicle speed is kept in memory. -
      COAST (-) Switch Control While the cruise control main switch is held to the SET/- side, the vehicle speed and the set vehicle speed change as follows, according to the mode:

      • The vehicle decelerates constantly.

      • The set vehicle speed changes to the speed at which the switch is released.

      -

      • The set vehicle speed decreases in increments of 5 km/h or 5 mph. [Example: 103 → 100 → 95 → 90 → 85 km/h (mph)]

      • The vehicle decelerates rapidly due to ETCS-i. The vehicle will remain at the speed that the vehicle is traveling at when the COAST switch is released.

      -
      Tap-down Control When the cruise control main switch is moved momentarily (approximately 0.6 seconds or less) to the -SET side, the vehicle speed and the set vehicle speed change as follows, according to the mode:

      • The vehicle will decelerate in increments of approximately 1 km/h or 1 mph each time the switch is moved.

      • However, if the difference between the actual vehicle speed and the set vehicle speed is greater than 5 km/h (3 mph), the set vehicle speed will change to the speed at which the vehicle was being driven at the time the switch was operated.

      -
      The vehicle will decelerate in increments of approximately 5 km/h or 5 mph for each time the switch is moved. -
      ACC (+) Switch Control When the cruise control main switch is held to the RES/+ side, the vehicle speed and the set vehicle speed change as follows, according to the mode:

      • The vehicle accelerates constantly.

      • The set vehicle speed changes to the speed at which the switch is released.

      -

      • The set vehicle speed increases in increments of 5 km/h or 5 mph. [Example: 83 → 85 → 90 → 95 → 100 km/h (mph)]

      • The vehicle will accelerate to the speed that is set at the time the switch is released. However, only the set vehicle speed will change during follow-up control.

      -
      Tap-up Control When the cruise control main switch is moved momentarily (approximately 0.6 seconds or less) to the +RES side, the vehicle speed and the set vehicle speed change as follows:

      • The vehicle will accelerate in increments of approximately 1 km/h or 1 mph for each time the switch was moved.

      • However, if the difference between the actual vehicle speed and the set vehicle speed is greater than 5 km/h (3 mph), the set vehicle speed will not change.

      -
      The vehicle will accelerate in increments of approximately 5 km/h or 5 mph for each time the switch is moved. -
      RES Switch Control If the vehicle speed is above the low speed limit, the cruise control resumes operation (subsequently pushes the cruise control main switch assembly to the +RES side) to reach the vehicle speed that was set at the time the driver canceled cruise control.
      Even if the vehicle speed drops below the low speed limit, resumption can be performed when the vehicle speed increases to above the low speed limit. However, resumption can be performed even if the vehicle speed is below the low speed limit when the vehicle is running in mode C and there is a vehicle ahead. -
      If the vehicle ahead changes driving lanes during follow-up control, the vehicle speed is gradually increased to the set vehicle speed. At this time, the vehicle speed can be increased promptly by pushing the cruise control main switch to the +RES side. -
      After the vehicle ahead has started running again under stop retention control and then the message that urges the driver to perform the start-off operation has been displayed, when the cruise control main switch is pushed to the +RES side, follow-up control is resumed and the vehicle can be accelerated up to the set speed. -
      Manual Cancel Control

      If any of the following signals are sent to the hybrid vehicle control ECU, the cruise control is canceled accordingly:


      • Stop light switch assembly is turned on other than under stop retention control (brake pedal is depressed).

      • D position circuit in the shift lever position sensor off signal (Shift lever is moved from D to any other position).

      • Cruise Control Main Switch (ON-OFF button) off signal.

      • CANCEL switch on signal (cruise control main switch is moved to CANCEL side).

      Automatic Cancel Control When an automatic cancel signal is sent to the hybrid vehicle control ECU, cruise control operation is canceled. At this time, the type of warning sent to the driver and the control resumption condition varies according to the cancel signal.
      Mode Switching Control

      The following operations switch modes:


      • Vehicle to vehicle distance control mode becomes be activated immediately after the main switch is turned on. The mode shifts to constant speed control mode by pressing and holding the button more than 1.5 sec from the cruise control system off.

      Other Control Cancellation Conditions

      If any of the following conditions occur during cruise control driving, speed control by the cruise control system is canceled.

      However, the set speed remains in the memory:


      • VSC operates during cruise control driving.

      • TRC operates for a certain period of time during cruise control driving.

      • TRC is off or VSC is off.

      • DSC operates during cruise control driving.

      • Parking brake operates during cruise control driving. (only during vehicle-to-vehicle distance control mode).

      ○: Available

      -: Not available

    2. Constant Speed Control Mode


      1. The hybrid vehicle control ECU compares the set vehicle speed and the actual vehicle speed, and performs constant speed control by regulating the throttle in order to attain the set vehicle speed. The millimeter wave radar sensor assembly compares the set vehicle speed and the actual vehicle speed, and performs constant speed control by regulating the throttle in order to attain the set vehicle speed. The millimeter wave radar sensor assembly uses the millimeter wave radar sensor signal and information from the forward recognition camera (camera sensor) to determine the condition in front of the vehicle and sends acceleration/deceleration requests to the millimeter wave radar sensor assembly.

      2. In vehicle-to-vehicle distance control mode, the millimeter wave radar sensor assembly performs deceleration control, follow-up control, acceleration control, stop control, stop retention control or start control based on the information about the vehicle ahead transmitted from the millimeter wave radar sensor and forward recognition camera (camera sensor).

        A001LQZE01
    3. Vehicle-to-vehicle Distance Control Mode


      • In vehicle-to-vehicle distance control mode, the hybrid vehicle control ECU performs deceleration control function, follow-up control function, acceleration control function, stop control function, stop retention control function or start control function based on the information about the vehicle ahead transmitted from the millimeter wave radar sensor assembly and forward recognition camera (camera sensor).


      1. Deceleration Control Function


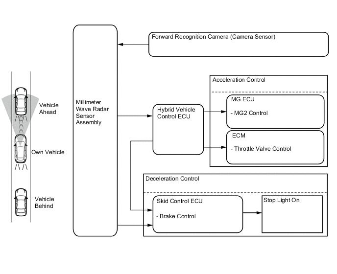
        • The millimeter wave radar sensor assembly calculates the target deceleration rate in accordance with signals from the millimeter wave radar sensor, forward recognition camera and transmits a deceleration request signal to the hybrid vehicle control ECU. Upon receiving this signal, the hybrid vehicle control ECU performs engine, MG2 and brake control in order to cause the vehicle to decelerate.

          A001LZ1E01
        • This control is not performed in the presence of a parked vehicle or object or below the settable vehicle speed range.

        • If the millimeter wave radar sensor assembly determines that further deceleration is necessary, it transmits a brake request signal to the skid control ECU. Upon receiving this signal, the skid control ECU then activates the brake actuator to apply the brakes.

        • At this time, if the deceleration rate is higher than a predetermined value, the skid control ECU outputs a stop light illumination request signal to the stop light control relay in order to inform anyone who might be following the vehicle.

          A001LV1E01
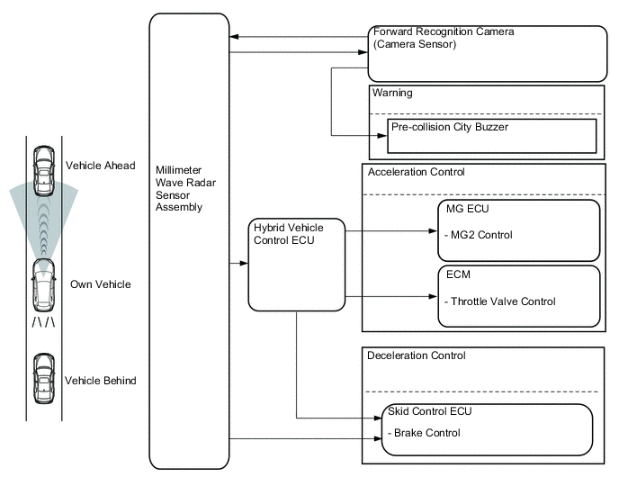
        • If the vehicle is not decelerating adequately, the millimeter wave radar sensor assembly sounds the pre-collision city buzzer based on a request signal from the forward recognition camera (camera sensor). The buzzer is sounded to urge the driver to depress the brake pedal.

          A001LWCE01
      2. Follow-up Control Function


        • After performing deceleration control, the millimeter wave radar sensor assembly transmits request signals to the hybrid vehicle control ECU so that the vehicle can follow the vehicle ahead while maintaining the proper vehicle-to-vehicle distance. The actual distance maintained for each distance level (long, middle and short) varies in accordance with vehicle speed. Upon receiving these signals, these ECUs control the motive force in order to perform follow-up control.

        • 3 stages (long, middle and short) of vehicle-to-vehicle distance can be selected by operating the vehicle-to-vehicle distance control switch.

          A001LX2E01
      3. Acceleration Control Function


        • If the millimeter wave radar sensor assembly detects that either the vehicle ahead or own vehicle has changed lanes, request signal is transmitted to the hybrid vehicle control ECU in order to attain the set vehicle speed. Upon receiving this signal, the hybrid vehicle control ECU controls the motive force of the engine and MG2 in order to perform acceleration control.

          A001LWGE01
      4. Stop Control Function


        • During vehicle-to-vehicle distance control mode, if the vehicle ahead stops, the millimeter wave radar sensor assembly maintains an appropriate vehicle-to-vehicle distance while at the same time calculating the necessary driving force to stop the vehicle, and sends a drive request signal to the hybrid vehicle control ECU and skid control ECU. When the hybrid vehicle control ECU and skid control ECU receive this signal, they control the driving force and stop the vehicle.

        • At this time, if the deceleration rate is higher than a predetermined value, the skid control ECU outputs a stop light illumination request signal in order to inform anyone who might be following the vehicle.

        • The distance between the driver's own vehicle and the preceding vehicle when the vehicles are stopped is set to approximately 3 m to 6 m (10 ft. to 20 ft.) regardless of the vehicle-to-vehicle distance preset by using the distance control switch.

          A001LJGE01
      5. Stop Retention Control Function


        • After the vehicle has stopped under stop control, hybrid vehicle control ECU transmits a stop retention request signal to the skid control ECU. Upon receiving this signal, the skid control ECU activates the brake hold function and keeps the vehicle stopped.

          A001M34E01
      6. Start Control Function


        • When the millimeter wave radar sensor assembly detects that the vehicle ahead starts moving again, it displays the messages "Operate Cruise Lever or Accelerator Pedal to Resume" on the multi-information display to urge the driver to perform the start-off operation (to push the cruise control main switch to the +RES side or to depress the accelerator pedal).

        • Upon receiving the start-off operation signal generated by pushing the cruise control main switch assembly to the +RES side or by depressing the accelerator pedal, the millimeter wave radar sensor assembly transmits a motive force request signal to the hybrid vehicle control ECU. Upon receiving this signal, the hybrid vehicle control ECU controls the motive force of the engine and motor generators, starts the vehicle and resumes follow-up control.

          A001LUFE01
      7. Automatic Cancel Control


        • If any of the conditions listed below occur while the vehicle is being driven using cruise control, speed control by the cruise control system will be canceled. Then, the following warning items will appear for the driver.

          Constant Speed Control Mode
          Description of Malfunction Warning
          Multi-information Display Master Warning Light Buzzer

          If the condition listed below occurs, the hybrid vehicle control ECU clears the set vehicle speed and cancels speed control by the cruise control system.


          • An open or short circuit in the stop light switch.

          Speed control by the cruise control system is disabled until the conditions are corrected or the cruise control system is turned off and back on again using the ON-OFF button on the cruise control main switch.

          Check Cruise Control System Visit Your Dealer Illuminates Sounds

          If either of the conditions listed below occurs, the hybrid vehicle control ECU clears the set vehicle speed and cancels speed control by the cruise control system.


          • Stop light switch assembly input signal is abnormal.

          • Cancel circuit malfunction.

          • Malfunction in the electronically controlled brake system.

          • Communication stop between skid control ECU and hybrid vehicle control ECU

          Speed control by the cruise control system is disabled until the power switch is turned on (IG) again.

          Check Cruise Control System Visit Your Dealer Illuminates Sounds

          If the condition listed below occurs, the hybrid vehicle control ECU cancels speed control by the cruise control system while retaining the set vehicle speed in its memory.


          • The vehicle speed drops below the low speed limit [approximately 40 km/h (25 mph)].

          - - -

          If the condition listed below occurs, the hybrid vehicle control ECU clears the set vehicle speed and cancels speed control by the cruise control system.


          • The vehicle speed drops more than 16 km/h (10 mph) below the set vehicle speed.

          - - -

          If the condition listed below occurs, the hybrid vehicle control ECU clears the set vehicle speed and cancels speed control by the cruise control system.


          • Malfunction in the hybrid control system

          Speed control by the cruise control system is disabled until the condition is corrected or the cruise control system is turned off and back on again using the ON-OFF button on the cruise control main switch.

          Cruise Control Unavailable Illuminates Sounds

          If either of the conditions listed below occurs, the hybrid vehicle control ECU clears the set vehicle speed and cancels speed control by the cruise control system.


          • VSC operates during cruise control driving.

          • TRC operates for a certain period of time during cruise control driving.

          • TRC is off or VSC is off.

          • DSC operates during cruise control driving.

          - - -
          Vehicle-to-vehicle Distance Control Mode
          Description of Malfunction Warning
          Multi-information Display Master Warning Light Buzzer

          If the condition listed below occurs, the hybrid vehicle control ECU clears the set vehicle speed and cancels speed control by the cruise control system.


          • An open or short circuit in the stop light switch.

          Cruise control is prohibited until the normal operating conditions are met or the cruise control system is turned off and back on again using the ON-OFF button on the cruise control main switch.

          Check Cruise Control System Visit Your Dealer Illuminates Sounds

          If either of the conditions listed below occurs, the hybrid vehicle control ECU clears the set vehicle speed and cancels speed control by the cruise control system.


          • Malfunction of the millimeter wave radar sensor assembly.

          • Misalignment of the axis of the millimeter wave radar sensor assembly.

          • Malfunction in the dynamic radar cruise control system other than those given above.

          • Stop light switch assembly input signal is abnormal.

          • Cancel circuit malfunction.

          Speed control by the cruise control system is disabled until the power switch is turned on (IG) again.

          Check Cruise Control System Visit Your Dealer Illuminates Sounds

          If the condition listed below occurs, the hybrid vehicle control ECU clears the set vehicle speed and cancels speed control by the cruise control system.


          • Malfunction in the hybrid control system

          Speed control by the cruise control system is prohibited until the condition is corrected or the cruise control system is turned off and back on again using the ON-OFF button on the cruise control main switch.

          Cruise Control Unavailable Illuminates Sounds

          If the condition listed below occurs, the hybrid vehicle control ECU cancels speed control by the cruise control system while retaining the set vehicle speed in its memory.


          • The millimeter wave radar sensor assembly or the emblem are dirty.

          Speed control by the cruise control system is prohibited until the condition is corrected or the cruise control system is turned off and back on again using the ON-OFF button on the cruise control main switch.

          Clean Radar Sensor Illuminates Sounds

          If either of the conditions listed below occurs, the hybrid vehicle control ECU cancels speed control by the cruise control system while retaining the set vehicle speed in its memory.


          • The measurement becomes extremely unstable due to poor weather conditions.

          • Brake control by the dynamic radar cruise control system is temporarily unavailable.

          • The beam axis of millimeter wave radar sensor assembly misaligned.

          • The forward recognition camera (camera sensor) is temporarily unavailable.

          • A system check is being performed after the engine has started.

          Speed control by the cruise control system is prohibited until the condition is corrected or the cruise control system is turned off and back on again using the ON-OFF button on the cruise control main switch.

          Cruise Control Unavailable Illuminates Sounds

          If either of the conditions listed below occurs, the hybrid vehicle control ECU cancels speed control by the cruise control system while retaining the set vehicle speed in its memory.*


          • Stop light switch assembly input signal is abnormal.

          • Malfunction in the millimeter wave radar sensor assembly.

          • Beam axis of millimeter wave radar sensor assembly misaligned.

          • An open or short circuit in the stop light switch.

          • Cruise control main switch cancel circuit malfunction.

          • Millimeter wave radar sensor assembly becomes dirty.

          • Brake control by the dynamic radar cruise control system is temporarily unavailable.

          • The forward recognition camera (camera sensor) is temporarily unavailable.

          • A system check is being performed after the engine has started.

          Check Cruise Control System Depress the Brake Pedal Visit Your Dealer Illuminates Sounds

          If either of the conditions listed below occurs, the hybrid vehicle control ECU clears the set vehicle speed and cancels speed control by the cruise control system.


          • VSC operates during cruise control driving.

          • TRC operates for a certain period of time during cruise control driving.

          • TRC is off or VSC is off.

          • DSC operates during cruise control driving.

          • Parking brake operates during cruise control driving.

          - - -

          If any of the following conditions occur while the vehicle stopped, the hybrid vehicle control ECU cancels control of vehicle speed by the dynamic radar cruise control system.


          • The driver seat belt is unfastened.

          • The driver door is opened.

          • The vehicle is parked for a long period of time.

          • The vehicle is driving on as steep hill.

          • A preceding vehicle is not detected.

          Cruise Control Unavailable Depress The Brake Pedal - -

          If any of the following conditions occur while the vehicle stopped, the hybrid vehicle control ECU cancels control of vehicle speed by the dynamic radar cruise control system.


          • The driver seat belt is unfastened.

          • The driver door is opened.

          • The vehicle is parked for a long period of time.

          Cruise Control Off. Shifted to P Position. Depress The Brake Pedal and Shift to D to Restart. - Sounds Forth

          If the condition listed below occurs, the hybrid vehicle control ECU cancels speed control by the cruise control system while retaining the set vehicle speed in its memory.


          • The vehicle speed drops below the low speed limit (approximately 40 km/h [25 mph]).

          - - Sounds Twice

          If the condition listed below occurs, the hybrid vehicle control ECU cancels speed control by the cruise control system while retaining the set vehicle speed in its memory.


          • A preceding vehicle is not detected when follow-up control is being performed at a vehicle speed of approximately 40 km/h (25 mph) or less

          Cruise Control Unavailable Illuminates Sounds Forth

          *: Models with full-speed range following function

  4. DIAGNOSIS


    1. If a malfunction occurs in the dynamic radar cruise control system during cruise control operation, the hybrid vehicle control ECU and millimeter wave radar sensor assembly cancels cruise control operation, illuminates the master warning light and turns off the cruise control indicator light (constant speed control mode) or cruise control indicator light (vehicle-to-vehicle distance control mode), and cruise SET indicator light. Also, "Check Cruise Control System Visit Your Dealer" is displayed on the multi-information display to inform the driver of a malfunction. At the same time, the malfunction is stored in memory as Diagnostic Trouble Code (DTC).

    2. The DTC can be read when the Global TechStream (GTS) is connected to the DLC3. For details, refer to the Repair Manual.