OPERATION
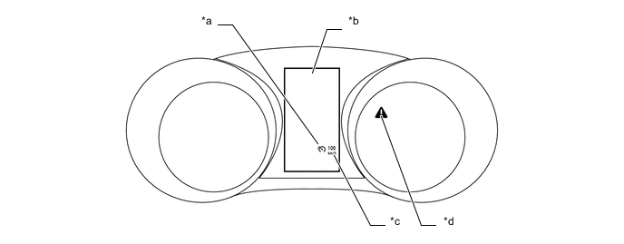
The combination meter assembly provides indicator lights, display and buzzer to indicate the condition of the speed limiter system.
| *a | Speed Limiter Indicator Light | *b | Multi-information Display |
| *c | Set Speed Indicator | *d | Master Warning Light |
| Condition | Speed Limiter Indicator Light | Set Speed Indicator | Multi-information Display | Master Warning Light | Buzzer |
|---|---|---|---|---|---|
| Speed Limiter Switch Off | Does not Illuminate | - | - | Does not Illuminate | - |
| Speed Limiter Switch On | Illuminates | - | - | Does not Illuminate | - |
| Set Standby | Illuminates | Set Speed Display | - | Does not Illuminate | - |
| Being Controlled (Effecting Control) | Illuminates | Set Speed Display | - | Does not Illuminate | - |
| Being Controlled (Set Speed Exceeded)* | Illuminates | Set Speed Display Blinks | - | Does not Illuminate | Sounds |
| System Malfunction | Does not Illuminate | - | Check Speed Limiter System | Illuminates | Sounds |
*: Except when the driver is intended over speed (Override, coast, tap down and resume control operation).