TIRE PRESSURE WARNING SYSTEM


  1. CONSTRUCTION


    1. The tire pressure warning valve and transmitters are integrated into the tire valves. Each transmitter consists of a lithium battery, sensor and transmitter.

    2. Make sure not to damage the urethane covered backside of the transmitter (the surface opposite to the side with the ID code) with anything sharp.

    3. The transmitter directly measures tire inflation pressure and temperature to see if the vehicle can continue to run.

    4. The transmitter transmits the measured tire inflation pressure and temperature values to the tire pressure warning ECU and receiver on a frequency of 315 MHz*1 or 433 MHz*2.

      *1: Destination packages for Taiwan

      *2: Except destination packages for Taiwan

    5. Depending on the timing of the data transmission, it may take several minutes to receive the data from the tire pressure warning valve and transmitter.

    6. The ID code is written on the tire pressure warning valve and transmitter.

      A001MZ6C03
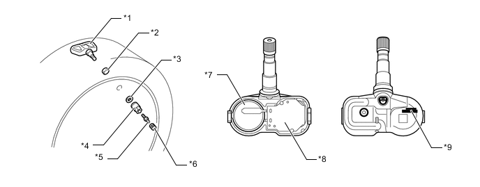
      *1 Tire Pressure Warning Valve and Transmitter *2 Grommet
      *3 Washer *4 Nut
      *5 Tire Valve Core *6 Tire Valve Cap
      *7 Lithium Battery *8 Sensor and Transmitter
      *9 ID Code (Hexadecimal 7 Digits) - -

      Tech Tips


      • The lithium batteries of the tire pressure warning valve and transmitters are non-replaceable. If the battery is depleted, the tire pressure warning valve and transmitter must be replaced (battery life: approximately 10 years).

      • A new tire pressure warning valve and transmitter is shipped in sleep mode to prevent the battery from depleting in storage. When the tire inflation pressure in the detection portion of the tire pressure warning valve and transmitter increases or decreases by 40 kPa (0.4 kgf/cm2, 0.4 bar) within 30 seconds, the tire pressure warning valve and transmitter automatically cancels sleep mode. Once sleep mode is canceled, the tire pressure warning valve and transmitter cannot return to sleep mode.

      • When replacing a tire pressure warning valve and transmitter, each of the tire pressure warning valve and transmitter ID codes must be registered. If even one of the tire pressure warning valve and transmitters is replaced, the ID codes of all tire pressure warning valve and transmitters must be registered again. Record all existing ID codes before beginning the process to enter new ID codes.

      • To register an ID code, use the Global TechStream (GTS) to enter the ID code that is indicated on the tire pressure warning valve and transmitter.

      • Be careful not to damage the tire pressure warning valve and transmitters when removing and reinstalling them.

      • Replace the grommet and valve core with new ones when replacing or removing and reinstalling the tire pressure warning valve and transmitter. This is necessary to ensure sealing performance.

      • When replacing a valve cap, use only the specified cap. If an unspecified cap is used, it may seize to the tire pressure warning valve and transmitter.

      • For details, refer to the Repair Manual.