SFI SYSTEM


  1. CONSTRUCTION


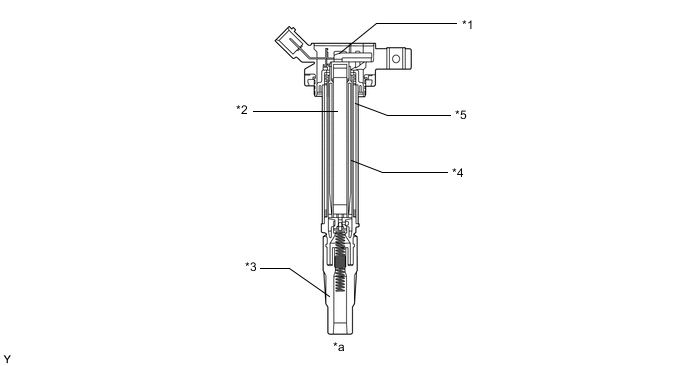
    1. The Direct Ignition System (DIS) provides 4 ignition coil assemblies, 1 for each cylinder. The spark plug caps, which provide contact to the spark plugs, are integrated with the ignition coil assembly. Also, an igniter is enclosed to simplify the system.

      A001N70C02
      *1 Igniter *2 Iron Core
      *3 Plug Cap *4 Secondary Coil
      *5 Primary Coil - -
      *a Ignition Coil Assembly Cross Section - -