SFI SYSTEM


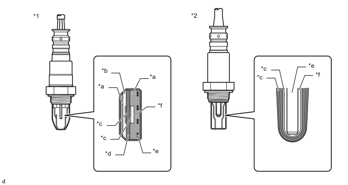
  1. CONSTRUCTION


    1. The basic construction of the air fuel ratio sensor and oxygen sensor is the same. However, depending on the type of heater construction used on the sensor, they are defined as a cup type or planar type sensor, in accordance with the different types of heater construction that are used.

    2. The planar type air fuel ratio sensor uses alumina, which excels in heat electrical conductivity and electrical insulation, to integrate a sensor element with the heater, thus improving warm-up performance of the sensor.

    3. The cup type oxygen sensor contains a sensor element that surrounds the heater.

      A001N9SC01
      *1 Planar Type Air Fuel Ratio Sensor *2 Cup Type Oxygen Sensor
      *a Alumina *b Dilation Layer
      *c Platinum Electrode *d Sensor Element (Zirconia)
      *e Heater *f Atmosphere
    4. As illustrated below, a conventional oxygen sensor is characterized by a sudden change in its output voltage at the threshold of the stoichiometric air fuel ratio (14.7:1). In contrast, the air fuel ratio sensor data is approximately proportionate to the existing air fuel ratio. The air fuel ratio sensor converts the oxygen density into a voltage signal and sends it to the ECM. As a result, the detection precision of the air fuel ratio has been improved. Air fuel ratio sensor data can be viewed using the Global TechStream (GTS).

      A001N6FE02