SFI SYSTEM


  1. CONSTRUCTION


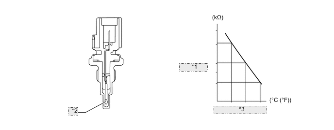
    1. This sensor detects the engine coolant temperature. A thermistor whose resistance value greatly changes according to the temperature is built-in. Changes in the coolant temperature are detected by the changes in the thermistor resistance value.

      A001MP6E08
      *1 Resistance
      *2 Thermistor
      *3 Coolant Temperature