SFI SYSTEM


  1. CONSTRUCTION


    1. The camshaft timing oil control valve assembly controls the spool valve using duty-cycle control from the ECM. This allows hydraulic pressure to be applied to advanced or retarded side of the VVT-i controller. When the engine is stopped, the camshaft timing oil control valve assembly (intake) is in the most retarded position, and camshaft timing oil control valve assembly (exhaust) is in the most advanced position.

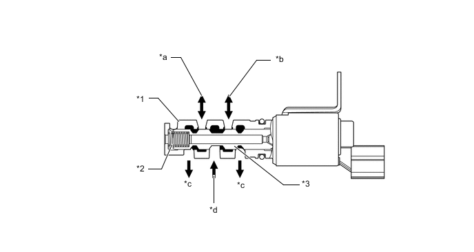
      Figure 1. Camshaft Timing Oil Control Valve Assembly (Intake)

      A001N2EC04
      *1 Sleeve *2 Spring
      *3 Spool Valve - -
      *a To VVT-i Controller (Advanced Side) *b To VVT-i Controller (Retarded Side)
      *c Drain *d Oil Pressure

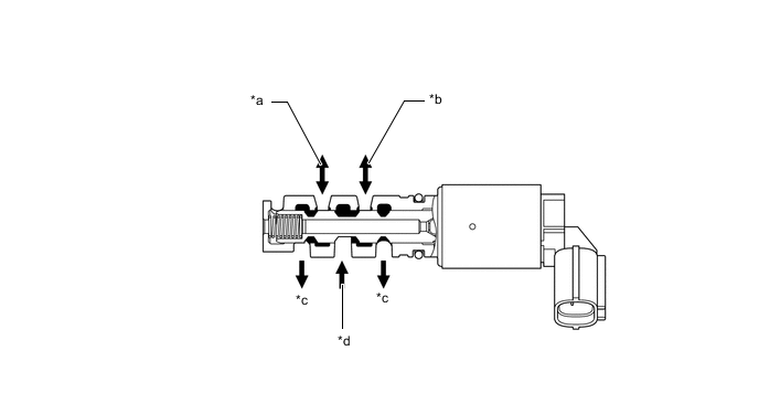
      Figure 2. Camshaft Timing Oil Control Valve Assembly (Exhaust)

      A001MJBC03
      *a To VVT-i Controller (Retarded Side) *b To VVT-i Controller (Advanced Side)
      *c Drain *d Oil Pressure