SFI SYSTEM


  1. FUNCTION


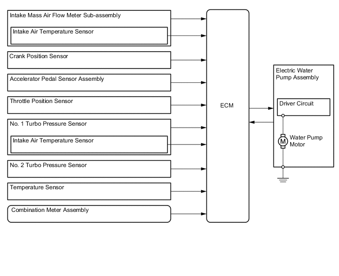
    1. This engine uses a cooling system for the turbocharger sub-assembly and intercooler assembly independent from the engine cooling system, and the flow of engine coolant is controlled through the electric water pump assembly.

    2. The ECM receives the pump motor rotation pulse signal from the driver circuit and determines the pump motor speed in order to achieve the optimal coolant flow rate in accordance with the driving conditions at that time.

      A001MRLE01