SFI SYSTEM


  1. FUNCTION


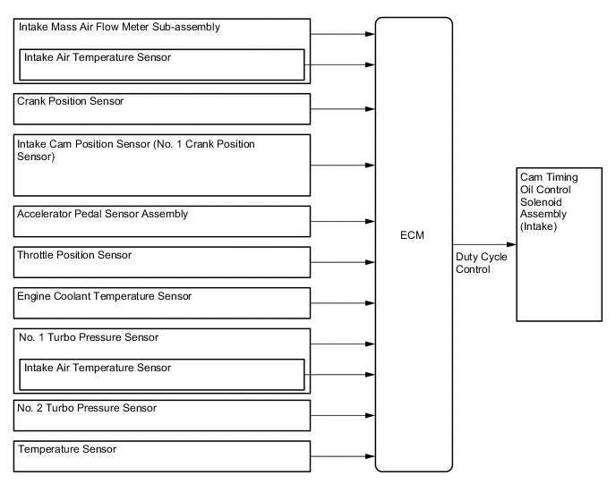
    1. The Variable Valve Timing-intelligent Wide (VVT-iW) control is designed to control the intake camshaft within a range of 70° respectively (of crankshaft angle) to provide valve timing optimally suited to the engine condition. This improves torque in all speed ranges as well as increasing fuel economy and reducing exhaust emissions.

    2. The operation angle for the VVT-iW has been made larger for the retarded side compared to the VVT-i. During partial load driving, the Atkinson cycle is entered, pumping loss is further reduced and fuel economy is enhanced.

      A001MVAE01
    3. In order to ensure engine startability, an intermediate lock mechanism is used for the VVT-iW. For details, see VVT-iW CONTROLLER in the 8NR-FTS ENGINE MECHANICAL section.

    4. The following effects can be achieved due to the advanced angle and retarded angle of the intake and exhaust valves.

      Figure 1. Operation Model Diagram: Upon Starting and Idling

      A001MM4E03
      *1 Exhaust Valve Opening (Advanced Position)
      *2 Intake Valve Opening (Intermediate Position)
      *3 Ensuring Starting Ability

      Figure 2. Operation Model Diagram: At Partial Load

      A001N10E02
      *1 Exhaust Valve Opening (Retarded Position)
      *2 Intake Valve Opening (Retarded Position)
      *3 Atkinson Cycle

      Figure 3. Operation Model Diagram: At Partial Load to Heavy Load

      A001N3VE02
      *1 Intake Valve Opening (Advanced Position)
      *2 Exhaust Valve Opening (Retarded Position)
      *3 Using Internal EGR or Improving Exhaust Ability
    5. The ECM cooperatively controls the throttle valve, VVT-iW, VVT-i and wastegate valve of the turbocharger sub-assembly to achieve a driving condition with optimal fuel economy during normal driving. Also, the ECM controls each actuator in accordance with the driver's intentions during acceleration to achieve a high torque response.