CAN COMMUNICATION SYSTEM

Figure 1. Diagnosis Bus

A003J3FE02

Figure 2. Bus 1

A003J99E03
A003IVVE01

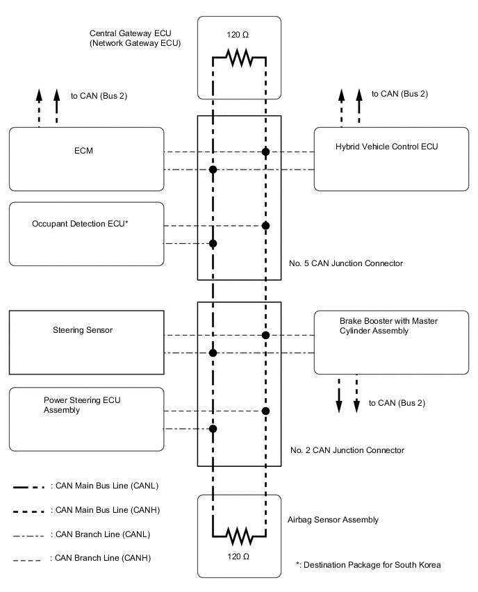
Figure 3. Bus 2

A003IW3E02

Figure 4. Bus 3

A003J7CE01

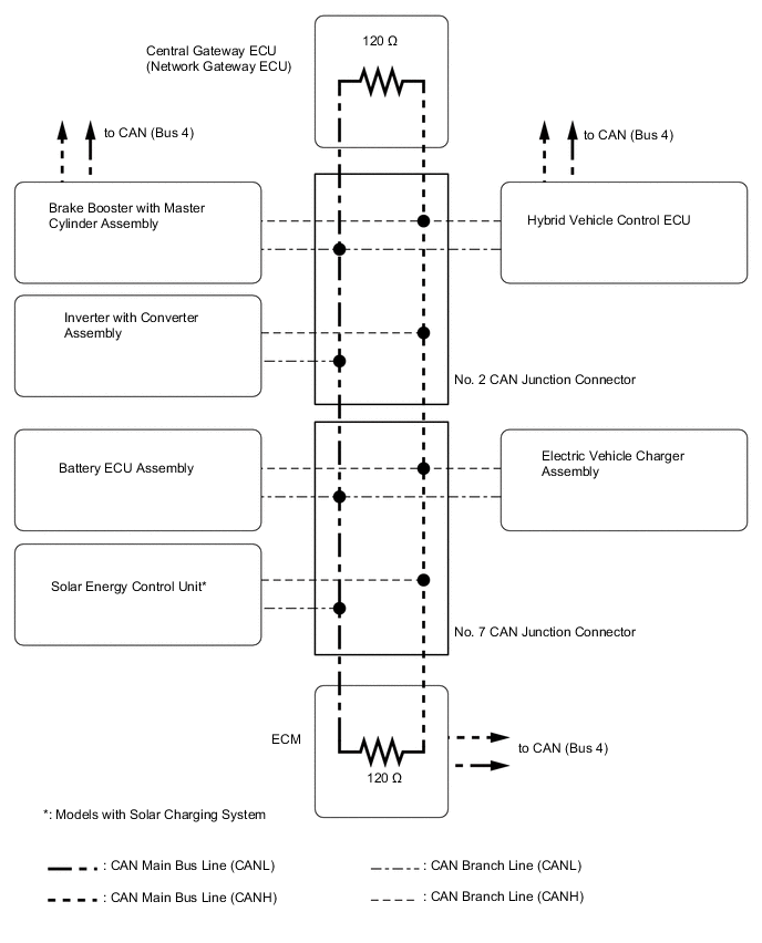
Figure 5. Bus 4

A003JG9E02

Figure 6. Bus 5

A003J7KE04