HYBRID CONTROL SYSTEM


  1. CONSTRUCTION


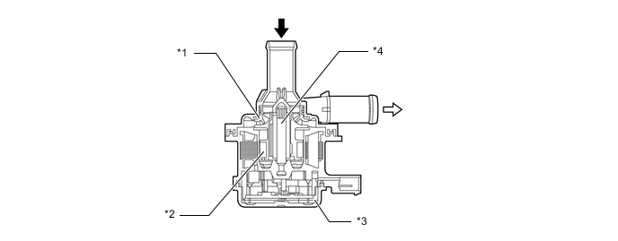
    1. A compact and highly efficient electric type inverter water pump assembly is used.

    2. A high output brushless type motor is used for the pump motor, furthermore, bearings that support the shaft at both ends are employed, thus suppressing noise and vibration.

    3. The pump motor is controlled over 5 levels by the duty cycle signal from the hybrid vehicle control ECU.

      A003JFPC01
      *1 Impeller *2 Magnet
      *3 Motor Controller *4 Shaft
      B006H6E HV Coolant Inlet B006H63 HV Coolant Outlet