HYBRID CONTROL SYSTEM


  1. CONSTRUCTION


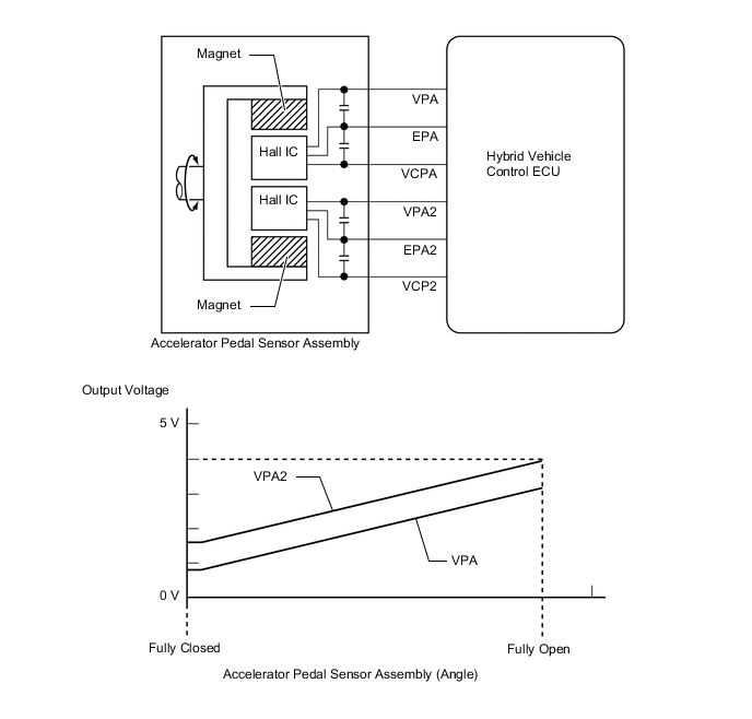
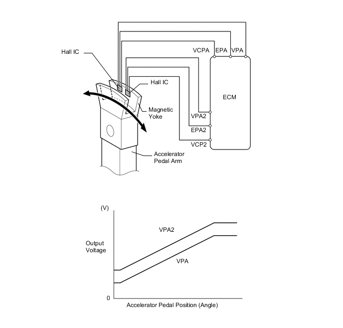
    1. The non-contact type accelerator pedal sensor assembly uses a Hall IC.

    2. The magnetic yoke mounted on the base of the accelerator pedal arm moves around the Hall IC in accordance with the accelerator pedal is depressed. The Hall IC converts the changes in magnetic flux that occur into electrical signals, and outputs them in the form of accelerator pedal effort to the hybrid vehicle control ECU.

    3. This accelerator pedal sensor assembly includes 2 Hall ICs and circuits for the main and sub signals. It converts the accelerator pedal opening angles into voltage signals with 2 differing characteristics and outputs them to the hybrid vehicle control ECU.

      Figure 1. Models for Europe

      A003J8RC01
      *1 Hall IC *2 Magnetic Yoke
      *3 Accelerator Pedal Arm *4 Sensor Housing

      Figure 2. Models for Europe

      A003IRYE01

      Figure 3. Except Models for Europe

      A003IZ5C02
      *1 Hall IC *2 Accelerator Pedal Arm
      *3 Magnet Yoke - -

      Figure 4. Except Models for Europe

      A003IW0E06