INTAKE SYSTEM


  1. FUNCTION


    1. The air required by the FC stack assembly for electrical generation passes through the air cleaner and is then compressed by the FC air compressor with motor assembly to a maximum pressure of 250 kPa (abs), and is supplied to the FC stack assembly.

    2. The FC air compressor with motor assembly contains a water cooled intercooler, which cools the air compressed by the compressor.

    3. The FC stack assembly is provided with an air shunt valve on the air supply side and an air pressure regulating valve on the exhaust side. By changing between different air passages depending on vehicle conditions, the airflow to the FC stack assembly can be controlled.

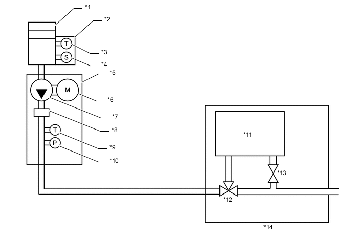
      A01MA0RC01
      *1 Air Cleaner Assembly *2 Mass Air Flow Meter Sub-assembly
      *3 Intake Air Temperature Sensor *4 Mass Air Flow Meter
      *5 FC Air Compressor with Motor Assembly *6 FC Air Compressor Motor
      *7 FC Air Compressor *8 Intercooler
      *9 FC Gas Temperature Sensor *10 FC Stack Air Pressure Sensor (Turbo Pressure Sensor)
      *11 FC Stack *12 Air Shunt Valve
      *13 Air Pressure Regulating Valve *14 FC Stack Assembly
    4. FC Air Compressor Control


      1. When the FC control ECU receives an FC output request from the EV control ECU, it calculates the air volume according to the request, and sends an FC air request value to the EV control ECU.

      2. The EV control ECU sends an FC air compressor drive request signal to the MG ECU.

      3. The MG ECU drives the FC air compressor with motor assembly based on the request from the EV control ECU.

        A01MAAKE01
    5. Air Shunt Valve Control


      1. The FC control ECU operates the air shunt valve at the inlet of the FC stack assembly to switch between air passages, and closes off the FC stack assembly from the outside air when the vehicle is stopped.

      2. In Br mode, when regenerated energy is consumed in the FC air compressor with motor assembly, a bypass sends the excess intake air to the exhaust pipe to be expelled.

    6. Air Pressure Regulating Valve Control


      1. The FC control ECU uses the air pressure regulating valve at the outlet of the FC stack assembly to regulate the pressure of the air inside the FC stack assembly, and to close off the FC stack assembly from the outside air when the vehicle is stopped.